Smart Queue Management System Reduces Network Latency for Critical Business Applications

Invented by Mamidwar; Rajesh Shankarrao, Chen; Xuemin, Li; Yong, Glik; Michael, Gorsetman; Yoram, Avago Technologies International Sales Pte. Limited

In today’s world, where everything is connected and communication happens in real time, making sure your video calls, games, and streaming work smoothly is more important than ever. This article will break down a patent application for queue management for latency control. We’ll look at why this technology matters, what came before it, and how this new invention changes the game for internet and device performance.
Background and Market Context
To understand why this queue management invention is important, let’s start with a simple look at how the internet and connected devices work today. Every time you send a message, play a game, or watch a video, your device sends little packets of data across the network. Sometimes these packets go through many stops (like routers and switches) before reaching where they need to go.
As more people use phones, computers, and smart gadgets, and as more activities move online, there’s a huge increase in the amount of data flowing everywhere. With things like video calls, online gaming, virtual reality (VR), and smart home devices, the need for real-time responses has grown. If there is a delay (which is called “latency”), it can make video freeze, games lag, or conversations become choppy. Nobody likes that.
Internet Service Providers (ISPs) and device makers have tried to fix this by making networks faster and more reliable. They use special hardware, upgrade their servers, and improve their software. But as the number of devices grow and more people do things at the same time, the old ways of handling data traffic can’t always keep up. The main problem is deciding which data is most important and making sure it gets delivered on time, especially when the network is busy.
For example, a video call needs its data to get through quickly. But an email or a file download can wait a few more seconds without anyone noticing. The challenge has always been: how do you make sure the urgent stuff gets through first, and the less-urgent stuff waits its turn?
Big companies and ISPs have been looking for ways to make this process smarter. They want to track what kinds of data are flowing through their systems, give high-priority treatment to things like live video or audio, and keep delays as low as possible. This is where queue management comes in. Think of it like a line at a busy store, where the cashier decides who gets served first based on how urgent their need is.
But with so many types of devices and apps, and with data coming from all directions, it’s hard to organize this “line” in a way that works for everyone. Sometimes, important data gets stuck behind less important stuff, causing delays and frustration. This is a big reason why companies keep searching for better solutions.
The patent application we are discussing tackles this exact problem. It describes a method and a system that can look at each packet of data, decide how important it is based on the app or use case, and put it into the right “queue” so it gets delivered on time. This is especially important as more and more homes get filled with smart devices, and as people expect things to happen instantly on their screens.
The market for this kind of technology is growing quickly. Businesses want to offer better video calling, smoother gaming, and more reliable streaming. ISPs want to stand out by giving their customers lightning-fast service, even when lots of people are online at once. Device makers want their products to be the fastest and most responsive. All of them need new ways to handle data smartly, without big delays.

In short, as our world gets more connected, and as expectations for real-time performance go up, queue management for latency control has become a must-have feature for networks, devices, and services.
Scientific Rationale and Prior Art
Let’s break down why this new queue management system is needed and what has been tried before. At the heart of any network, you’ll find queues. These are just lines where data packets wait before being sent out. Old systems typically used simple ways to manage these lines, like “first in, first out” (FIFO). This means the first packet that arrives is the first to go out. It’s fair, but not always smart when you need some things to move faster than others.
To fix this, earlier systems started to sort packets by “priority.” For example, they might tag video packets as “high priority” and emails as “low priority.” High-priority packets could jump ahead in the line. This was a step forward, but it still had problems. Often, it was too basic—just two levels (high and low), and not much else. It didn’t think about the type of app, how much delay was okay, or how the network was behaving at any given moment.
Other solutions tried to add more layers. Some network devices can look at the type of traffic and put it into different queues, each with its own rules. For example, Quality of Service (QoS) settings let you mark streaming video as more important than file downloads. Routers and switches could then try to deliver the most important packets first.
But these approaches had limits. They often worked only on specific devices, like a home router or a server at the ISP. They didn’t always talk to each other or have a way to keep track of the whole journey of a packet from start to finish. Sometimes, even high-priority packets could get stuck if there were too many other high-priority packets in the line. Also, setting up these systems could be hard, and they didn’t always adjust well to busy or changing network conditions.
Another problem was time. Most earlier systems knew which packets were urgent, but they didn’t always know exactly when those packets needed to leave the queue to make sure they arrived on time. They might push all high-priority packets out as fast as possible, filling up the network and causing more congestion.
Some networks tried to use time stamps, marking when a packet arrived or when it should be sent. But this was rare and usually only in special systems, like financial trading platforms or mission-critical industrial networks—not in homes or regular internet connections.
So, prior art in this space included:
- Simple FIFO queues (first come, first served, no priority).
- Basic priority queues (high vs. low, with little in between).
- Quality of Service (QoS) systems that tagged traffic but didn’t always enforce deadlines or know the exact needs of each app.
- Occasional use of time stamps, but not as a standard method for regular networks or home devices.

What was missing was a way to combine all these ideas—classifying packets by app type, using smart time stamps, giving each type of data its own deadline (called a “latency budget”), and making sure the system adjusted in real time to changing conditions. That’s what makes the new patent application stand out.
The scientific idea here is to treat each packet as part of a “flow” (like a video call, a game session, or a file download), figure out how much time it can wait (its latency budget), and then use arrival and departure time stamps to make sure it leaves the queue at just the right moment. This way, the system can prioritize packets not just by a simple label, but by real-time needs, deadlines, and the type of experience the user expects.
No previous solution gave this level of control and flexibility, especially not in a way that could work across many devices, in real homes and businesses, and with all kinds of apps. That’s what sets this patent apart and why it could change how networks deliver data.
Invention Description and Key Innovations
Now let’s dive into what the patent application actually claims and how it changes queue management for latency control. We’ll keep the language as clear as possible, focusing on what the system does and why it matters.
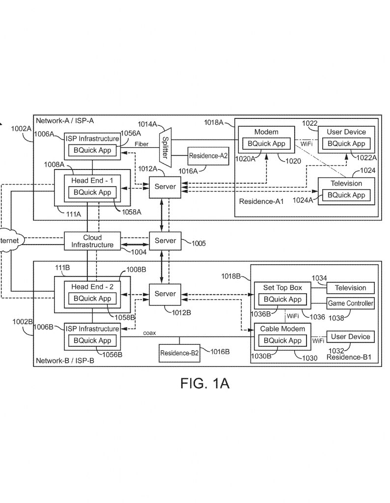
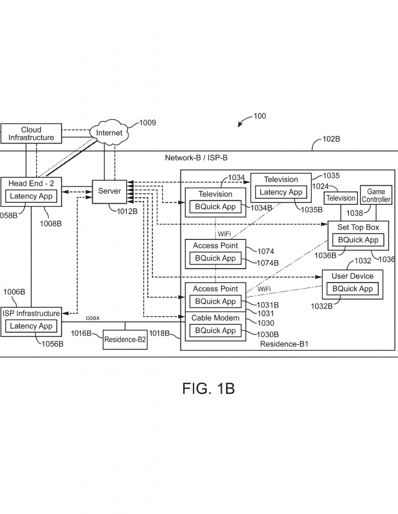
The invention centers around a “latency controller” that lives on a device—this could be your home router, a cable modem, an access point, or even a server at your ISP. This controller watches every packet that comes in, tags it with an “arrival time stamp” (when it got there), and then decides what to do next based on the type of app or flow the packet belongs to.
Here’s how it works step by step:
1. Receiving and Time Stamping
Every packet entering the device is immediately tagged with an arrival time stamp. This is like saying, “I showed up at 2:00:01 PM.” This happens for all types of flows—video, audio, emails, downloads, and so on.

2. Classification by Application Type
The latency controller looks at the packet and figures out which app or flow it belongs to. Is it a video call? A music stream? A game? Or just a regular download? Based on this, it decides if the packet is “high priority” (needs to get through fast) or “low priority” (can wait a bit).
3. Queue Assignment and Latency Budgets
The system sets up different “channels” and “queues.” There’s usually a lower priority channel for things that can wait, and one or more higher priority channels for things that need to go out quickly. Each high-priority queue is given a “latency budget”—a set amount of time the packet is allowed to wait before it must be sent out. For example, video might get a budget of 100 milliseconds, audio might get 50 milliseconds, and so on. These budgets can be set based on what the app needs to feel smooth to the user.
4. Departure Time Stamp Calculation
For high-priority packets, the system calculates when each packet should leave the queue to meet its latency budget. This is done by adding the arrival time to the allowed latency for that app. For example, if a packet arrives at 2:00:01 PM and its budget is 50 milliseconds, its departure time stamp is set to 2:00:01.050 PM.
5. Queuing and Scheduling
Packets are placed in the right queue based on their classification. High-priority packets go into their special queues, each with their own rules and deadlines. Low-priority packets go into a basic queue and don’t get a departure time stamp—they’re sent when there’s room.
A “transmission scheduler” then looks at all the queues and decides which packet to send next. It always tries to send packets whose departure time stamp is next or has already passed. If a packet’s deadline is missed, it becomes the top priority to send immediately.
The scheduler can also re-order packets in the high-priority queues to make sure the ones with the soonest departure time go out first. This is different from just sending them in the order they arrived. It helps avoid situations where an important packet gets stuck behind less urgent ones.
6. Modes and Flexibility
The scheduler can work in different ways. For some apps, it might send out packets smoothly, one after the other (pacing mode). For others, it might send a bunch all at once (bursting mode), like video frames for a movie. The system can switch between these modes as needed, based on real-time conditions and app needs.
7. Distributed and Scalable
This system can work on a single device or be spread out across many devices. For example, the queues and scheduler could be on your home router, your ISP’s equipment, or even in the cloud. This makes the system flexible and able to handle big networks with lots of devices.
8. Application to Any Network Device
The patent claims the system can be used in many kinds of devices: wireless access points, cable modems, fiber optic terminals, DSL modems, set-top boxes, and more. This means it can be rolled out widely, not just in special or expensive equipment.
Key Benefits and Innovations
The real innovation in this invention is how it brings together time stamps, app-based classification, latency budgets, and smart scheduling into one system. It doesn’t just look at whether a packet is “important” or not—it knows exactly how much time each packet can afford to wait, and it makes sure that deadline is met. By doing this, it makes networks more responsive for things like video calls, games, and VR, while still handling downloads and other traffic efficiently.
This technology also helps ISPs and device makers offer new services, like “low latency” plans for gamers or professionals. Because the system tracks performance and usage, it can give real-time feedback or even offer upgrades when latency isn’t good enough.
Another important feature is that the system can monitor latency at every step in the network, from the user’s device all the way to the cloud. If a delay happens, it can pinpoint where the problem is—at home, at the ISP, or in the wider internet. This makes troubleshooting much easier and helps everyone work together to fix issues.
By making queue management smarter, this patent application gives everyone—users, ISPs, and device makers—a better way to deliver the fast, smooth, and reliable experiences people expect from modern networks.
Conclusion
The need for low-latency, smart queue management is clearer than ever as our world becomes more connected and more demanding. The invention described in this patent application goes beyond older methods by using time stamps, app-based priorities, and strict deadlines to make sure the most urgent data always gets through quickly.
By giving each packet a real-time deadline and making sure the network sticks to it, this system makes video calls clearer, games more responsive, and streaming smoother. It helps ISPs, device makers, and users all get better performance, even as networks get busier and more complex.
If you are building devices, designing networks, or looking for ways to make your services stand out, understanding and adopting this kind of queue management could be your edge in the market. With real-time control, flexibility, and the ability to scale across all types of networks, this invention sets a new standard for latency control and user experience.
In short, smarter queue management isn’t just a technical upgrade—it’s the future of great internet and device performance.
Click here https://ppubs.uspto.gov/pubwebapp/ and search 20250337693.


