AI-Powered Customer Support Platform Delivers Fast, Expert Solutions for Industrial Operations

Invented by Maturana; Francisco P, He; Meiling, Dey; Patrick, Nardecchia; Christopher, Mills; Jonathan A.

Imagine a plant where machines break down less, alarms get solved faster, and support is always a message away. That’s not science fiction anymore. A new patent application proposes a smart system using generative AI to answer technical support questions about industrial automation. In this blog, we’ll walk through the background, the science behind it, and how this invention stands out. Whether you’re a plant manager, an engineer, or just curious about AI in industry, this breakdown will show you what’s changing—and why it matters.
Background and Market Context
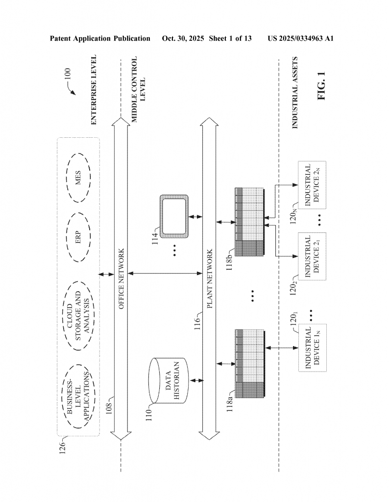
Industrial plants are full of machines, controllers, and complex systems. These systems keep production lines moving, but they don’t always work perfectly. When something goes wrong—a strange alarm, a blinking light, or an odd sound—the first call is often to a person on-site. This could be a service engineer or a machine operator. Sometimes the fix is simple, but often, it’s not. The person needs to look up manuals, dig through technical files, or call the vendor’s help desk. This process takes time, costs money, and can stop production.
Downtime in factories is expensive. Every minute a machine is down, products are not being made. Sometimes, the right answer is buried in a manual or in someone’s memory. Other times, the problem is new, and no one around knows what to do. The traditional system relies on people with the right knowledge being available—and on having time to look up answers. With more machines, more automation, and more types of devices, the problem is only getting bigger.
At the same time, industrial companies are under pressure to be more efficient. They need to keep machines running, avoid mistakes, and fix problems fast. The market is asking for support that is always available, quick, and accurate. But hiring more experts is costly, and even the best experts can’t know everything about every device or process. This is where technology comes in.
The last few years have seen a huge rise in artificial intelligence, especially in systems that can understand and respond to human questions. These systems, called generative AI, can process natural language—the way people talk or type. They can read manuals, learn from past support cases, and even suggest new solutions. In other parts of the world, chatbots and AI helpers are already answering questions for banks, online stores, and phone companies. But industrial automation is different. The machines are specialized, the problems are complex, and mistakes can be costly. Solutions need to be accurate, safe, and fast.
This patent application brings generative AI to industrial technical support. Its goal is to make sure that when a machine has a problem, anyone can get the right help right away—just by asking.
Scientific Rationale and Prior Art

Let’s look at the science and the past solutions that led to this invention. Traditionally, industrial support relied on manuals, knowledge bases, and human experts. There were online help files, vendor chat lines, and sometimes internal company wikis. These resources have one thing in common: they’re static. A person needs to search through them, read a lot, and figure out which parts apply. This takes time, especially if the problem is new or unusual.
The rise of artificial intelligence in recent years changed how information can be found and used. Large Language Models (LLMs), like the ones behind popular chatbots, can read and understand huge amounts of text. They can answer questions, summarize documents, and even write code. But there’s a catch: general-purpose AI often doesn’t know the details of every industrial machine, every alarm code, or every process used in a factory. For industry, answers must be precise, safe, and based on the best available knowledge.
Before this new patent, there were a few ways AI was used in industry:
– Some companies tried general chatbots trained on public data, but these often gave vague or incorrect answers.
– Others built limited expert systems—programs that followed decision trees or scripts. These could answer simple, common questions, but failed with anything unusual.
– A few large vendors tried to connect support chat logs to their help systems, but the process was manual and not always up-to-date.
None of these older systems could take a new question, understand it in plain language, connect it to the right expert knowledge, and give a detailed, natural-language answer. They couldn’t learn from each new support case, or adapt to new machines and alarms. There was also little support for different industries with their own rules—like food processing, pharmaceuticals, or mining. Each industry uses different machines, has different standards, and faces unique problems.
The science behind the new invention brings together several ideas:
– Natural language processing, which lets computers understand questions as people ask them.

– Generative AI, which can create new, detailed answers instead of just picking from a list.
– Custom training, so the AI is taught using real manuals, past support chats, and industry standards.
– Domain-specific models, so the system knows the difference between, say, a food factory and a mining plant.
By combining these, the invention sets out to create a support system that’s smart, up-to-date, and able to answer real-world questions from real users—no matter how complex.
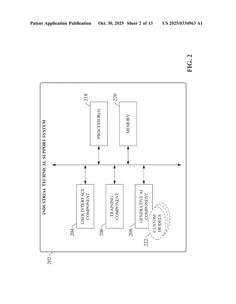
Invention Description and Key Innovations
This patent application describes a new kind of industrial support tool. It’s not just a chatbot. It’s a complete system that listens to natural language questions, understands the problem, and delivers expert advice right away. Here’s how it works, step by step:
1. Natural Language Interface: The system has a user interface that can take in questions, whether typed or spoken, in plain language. You don’t have to use special codes or technical terms. For example, a user might type, “Why is my motor drive showing error code 5000?” or “How do I reset the safety alarm on machine X?” The system reads this question and prepares to help.
2. Domain-Specific AI Models: The system uses AI models that are trained using the actual manuals, standards, and support chats from the user’s industry. If you’re in automotive, the model knows automotive machines and standards. If you’re in food processing, it knows those rules. This means the answers are relevant and practical.

3. Prompt Engineering and Contextual Data: When a question comes in, the system analyzes it—not just the words, but the meaning. It checks what kind of machine or device is involved, what the error or problem is, and what details are needed. The system then pulls up pieces of manuals, help files, or past support cases that match the problem. These become the “context” for the answer.
4. Generative AI for Answers: Using this context, the system creates a prompt for a generative AI model. This model isn’t just guessing or repeating old answers. It uses the context to craft a clear, step-by-step solution or recommendation. The answer is written in simple, clear language, so anyone can understand and follow it.
5. Learning from Each Case: After the answer is given, the system remembers both the question and the answer. Over time, it learns which solutions worked best, and updates its training. If the user gives feedback—maybe marking the answer as helpful or not—the system uses this to get better at future support.
6. Multi-Domain Support: The system can support many industries at once by maintaining different models for each. A food plant, a mining site, and a semiconductor fab can all use the same system, but get answers tailored to their own needs.
7. Continuous Improvement: Every new support case, every new manual, and every new standard can be added to the system’s training. This means the AI stays up-to-date, learns new machines, and adapts as factories change.
What makes this invention stand out is its focus on accuracy, safety, and speed. The AI isn’t just pulling random answers from the internet. It’s using trusted, company-approved sources—manuals, standards, and past support chats. This ensures that the advice is not only helpful but also safe and reliable. The system also knows when it doesn’t have enough information. If a user’s question is too vague, it can ask for more details: “Which machine is showing the alarm?” or “Can you tell me the last action taken?” This makes the support feel like a conversation with a real expert.
In practice, using this system can:
– Reduce downtime, because answers come faster.
– Lower support costs, since fewer human experts are needed for routine questions.
– Improve safety, by giving accurate, standards-based advice.
– Make it easy for new staff to solve problems, since they can just ask the system.
Because the system learns from each new support case, it gets better over time. It can also be set up to only use data allowed by the company—keeping private information safe. The models can be trained with both general industry manuals and customer-specific documents, so the advice fits each user’s exact setup.
By blending human language understanding, trusted manuals, and advanced AI, this invention brings true expert support to the shop floor, 24/7.
Conclusion
The industrial world is changing fast, and smart support is now possible thanks to generative AI. This patent shows how natural language, domain-specific models, and learning from real support cases can come together to answer even the toughest technical questions. The result is less downtime, safer operations, and faster problem-solving for everyone in the plant. Support is no longer about flipping through thick manuals or waiting on hold. Now, it’s as easy as asking a question. As factories get smarter and more connected, tools like this will be the key to staying ahead.
Click here https://ppubs.uspto.gov/pubwebapp/ and search 20250334963.


