Boost Wireless Network Speed and Reliability by Offloading Data Processing from Devices to Access Points

Invented by Mamidwar; Rajesh Shankarrao, Katre; Prashant, Avago Technologies International Sales Pte. Limited

Modern internet use is all about speed. We want our phones, computers, and smart gadgets to work fast with as little lag as possible. But sometimes, our devices slow down because they have to do a lot of work just to talk to other computers far away on the internet. A new patent application brings a smart idea to fix this problem, helping your gadgets work better and faster. Let’s look at how this works, why it matters, and what makes this invention stand out.
Background and Market Context
If you’re reading this, chances are you use Wi-Fi at home or work. Maybe you have a smart TV, a laptop, a phone, or even a smart speaker. All these devices connect to the internet, usually through something like a Wi-Fi access point or a cable modem. Over the last few years, people have started using these gadgets for things that need to be really fast—like video calls, online games, or virtual reality.
But fast internet isn’t just about having a good connection. It’s also about how quickly your device can send and receive messages, or what tech folks call “packets,” to and from the internet. When there’s a delay, called “latency,” you notice it—maybe your game lags, your video call freezes, or your VR headset stutters. Sometimes, the problem is that your device has to do too much work, like checking if its messages got lost and sending them again. This takes time and power, and it can make your battery drain faster or your device run hot.
The problem gets worse as we connect more things to our home networks, and as apps demand more speed. For example, an online game or a virtual reality app needs everything to happen right away. If just one packet is lost or delayed, you see it instantly. Many devices, like smart watches or IoT gadgets, are small and can’t do heavy work for long. With all these new gadgets and apps, old ways of handling network work just don’t cut it.
At the same time, companies like internet providers (ISPs) are under pressure to give customers better service, especially for things that need low latency. If they can’t deliver, people switch to another company. So, everyone is looking for ways to make networks faster, smoother, and smarter—without making devices more complicated or expensive.
This is where the new patent application comes in. It suggests a way for your device to move some of its network work to the access point or modem—the box that connects your home to the internet. By doing this, your phone or laptop doesn’t have to work as hard, and things can happen faster. This could mean longer battery life, smoother games, clearer calls, and a better experience all around.
Scientific Rationale and Prior Art

Let’s talk a bit about how things work today. Every time you use an app that talks to the internet, your device breaks up your data into small pieces, called packets, and sends them through your network. Your device has to keep track of all these packets. If something goes wrong—a packet gets lost, delayed, or jumbled—your device notices and tries to fix it, usually by sending the packet again. This is part of what’s called the “transport layer” in networking (think of it as a set of rules your device follows to be sure every message arrives safely).
The most common transport rules are called TCP (Transmission Control Protocol) and UDP (User Datagram Protocol). TCP is careful and always checks if packets make it to the other side. UDP is faster, but doesn’t check as much. Both have their uses. In both cases, keeping track of all this takes up memory (that’s what “buffers” are for), power, and processing time on your device. If too many packets get lost, or the device is too slow to catch up, you get lag or dropped connections.
In the past, people have tried different tricks to fix these problems. Some network gear, like routers, can try to guess which packets are most important and move them to the front of the line. Some systems use “proxies” or helpers that sit in the middle and try to speed things up. Others have tried to put some smart logic in the cloud or at the edge of the network.
But these fixes have their downsides. Sometimes they only work for certain types of traffic, or they need special software on your device. Sometimes they aren’t transparent, meaning apps or users have to know about them and set them up. And most of all, they often don’t let your device hand off the real heavy lifting—the actual job of watching for lost packets and sending them again.
Other inventions have let devices sync up clocks for better timing, or mark certain packets as “urgent” to get better treatment. Some network hardware tries to guess when to retransmit packets or speed up slow traffic. But until now, there hasn’t been a simple way for your device to give its buffers—the memory areas holding packets—to the access point or modem, and let those boxes handle retransmissions in your place. That’s what makes this new patent application different.
The patent application builds on the idea that the access point or modem is closer to the backbone of the internet and can often talk to servers faster and more reliably than your device can. If the access point or modem can see the same buffer as your device, it can spot lost packets quickly and resend them—without waiting for your device to wake up or notice a problem. This idea is powerful, because it means your device can rest, save power, and focus on other things, while your network runs smoother.
The new approach is also smart about security. Sometimes, only the device and the server have the keys to read the data, so the access point or modem can’t see inside the packets. The invention is flexible—it can work whether or not the access point or modem can decrypt the data. It also works for both encrypted and unencrypted streams.
What’s clever here is that the “pipe” between your device and the access point or modem can be set up at different levels in the network stack. It might use an existing protocol like UDP, or a lower-level connection at the MAC (Media Access Control) layer, depending on what’s fastest or easiest. This makes the system adaptable to all sorts of devices and networks, from home Wi-Fi to business setups.

In short, while others have tried to speed up networks in lots of ways, this invention gives your device a way to let the access point or modem handle the hardest part of keeping packets moving. That’s a big step forward.
Invention Description and Key Innovations
Now, let’s get into how this new patent application works and what makes it stand out.
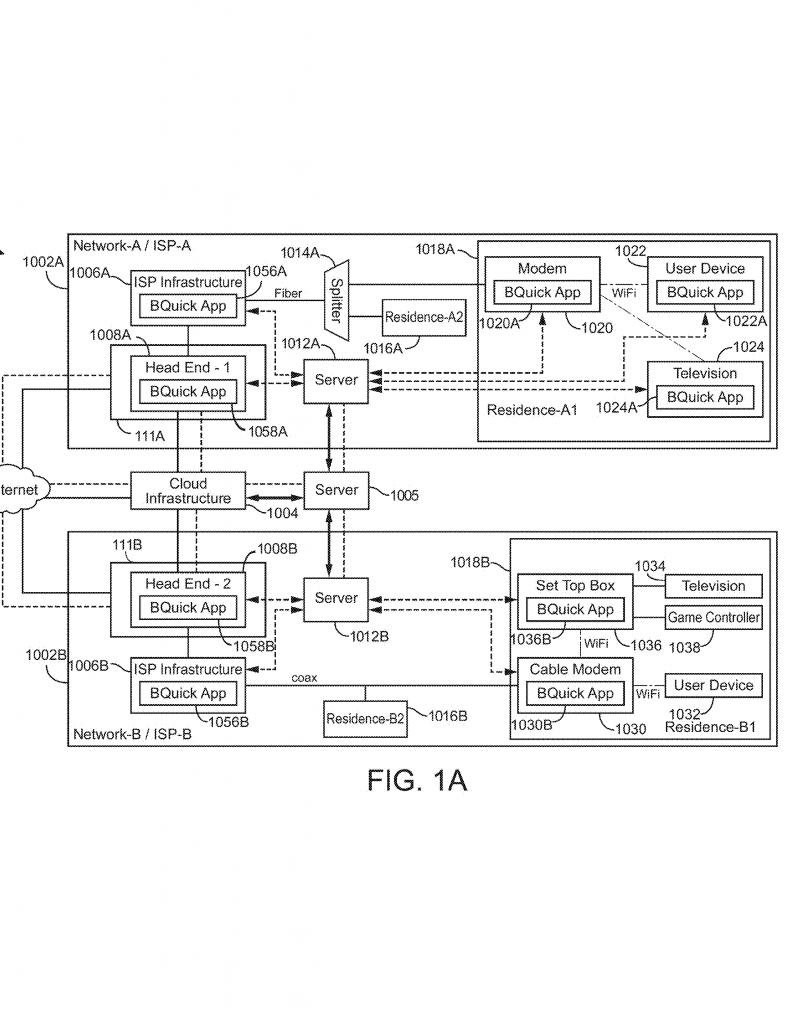
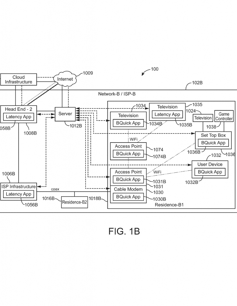
The core idea is simple. When your device (like a phone or laptop) wants to talk to a server on the internet, it sets up a normal connection using the transport layer (TCP or UDP). But before it starts sending lots of data, it also creates a special “pipe” with the access point or modem. Think of this as a private channel just for sharing buffer information.
Your device then sends a copy of its buffer—the memory where it keeps packets waiting to be sent or checked—to the access point or modem over this pipe. This can happen at the same time as the main data transfer, or even before it starts. The access point or modem now has all the info it needs to watch for lost packets, and to resend them if needed, without bothering your device.
If a packet gets lost somewhere on the way to the server, or the server’s reply doesn’t make it back, the access point or modem sees this right away. Because it already has the buffer from your device, it can quickly resend the right packet, or ask the server to send it again. Your device doesn’t have to do anything extra. In fact, your device might be asleep, running another app, or just saving battery.
This invention is smart about how it handles different situations:
-

Sometimes, the pipe is set up at the MAC layer, which is very close to the hardware and can be super quick. Other times, it uses UDP, which is also fast and simple.
- The access point or modem can either set up a full transport layer stack (like a mini version of what your device does), or just a model that’s good enough to spot lost packets and resend them. This saves memory and processing power.
- If the data is encrypted end-to-end, the access point or modem doesn’t need to see inside the packets. It can still resend the bits, as long as it keeps the headers right.
- The system can work for both data going out (uplink) and coming in (downlink). So, whether your game is sending a command or waiting for a reply, lost packets get handled fast.
- It can also work for many devices at once. The access point or modem just keeps a separate buffer copy for each device and each connection.
This approach has some big benefits:
First, your device uses less battery and runs cooler, because it doesn’t have to watch for lost packets all the time. This is great for phones, smart watches, and IoT devices that need to save power.
Second, everything feels faster. Because the access point or modem is always on and close to the internet backbone, it can spot and fix lost packets much more quickly than your device could. This means lower latency, less lag, and a smoother experience for games, calls, or VR.
Third, the system is transparent. Apps and users don’t have to do anything special; they don’t even know the magic is happening in the background. This makes it easy to adopt and works with existing software.
Fourth, the system is flexible. It can work in homes, offices, or anywhere you have an access point or modem—whether it’s provided by your ISP or is a third-party device.
The patent application also covers some extra features. For example, the access point or modem can handle encryption or decryption if it has the keys. It can also detect not just lost packets, but other signs of trouble, and fix them quickly. And it can work with other systems that track latency across the whole network, helping internet providers spot and fix bottlenecks.
From an engineering point of view, this invention is clever because it offloads just the right amount of work. Your device still controls the main connection and can decide when to send buffer info. But the heavy lifting of keeping packets moving and fixing losses happens in the access point or modem, where there’s more power and a better connection.
This means network traffic is smarter and more efficient. It could lead to new kinds of services—like ultra-low-latency gaming, better VR streaming, or smarter home networks that adjust automatically to what you’re doing. For companies, it means happier customers and fewer complaints about slow or unreliable internet.
All in all, this patent application shows a simple but powerful way to make our networks faster, our devices last longer, and our online experiences more enjoyable.
Conclusion
Network lag and lost packets are problems everyone feels, whether you’re gaming, video calling, or just browsing. This new patent application offers a smart, simple fix: let your access point or modem help your device by handling the hardest network jobs. By sharing buffer information and offloading retransmissions, your device saves power and runs better, while your network feels faster and smoother. It’s a win for users, device makers, and internet providers alike. As more devices and apps demand low latency, solutions like this will be key to keeping up—and making sure the internet just works, without you having to think about it.
Click here https://ppubs.uspto.gov/pubwebapp/ and search 20250338328.


