Smart Network Traffic Management Boosts Data Center Performance by Steering Heavy Data Flows Efficiently

Invented by Pandit; Parav Kanaiyalal, Yu; Lijun, Du; Spike

Network systems are the backbone of our digital world. With growing data demands, making these systems faster and more efficient is more important than ever. This article will explore a new patent application for “Workload Aware Packet Steering,” a technology that helps networks handle big data flows in a smarter way. We’ll break down the background and market context, explain the science and prior art, and describe the invention in simple, clear terms.
Background and Market Context
Today, all sorts of businesses and homes rely on fast, reliable network connections. From streaming movies to running cloud services, networks are always busy moving lots of information from one place to another. Sometimes, the data comes in small bursts, like checking your email. Other times, it comes in huge waves, such as when people upload or download big files or when servers talk to each other in a data center.
As companies grow and move more of their work online, their networks have to handle more data, more users, and more devices. Data centers, which are rooms full of servers and storage, have become the engine rooms of the internet. In these places, different computers and virtual machines (VMs) all need to send and receive information at the same time. This can lead to some connections, called “flows,” becoming much larger than others.
When certain flows get really big, they can eat up a lot of the network’s resources. These are called “elephant flows.” If not handled well, elephant flows can slow down other users, cause delays, or even make parts of the network stop working right. Networks need to spot these big flows and manage them carefully to keep everything running smoothly.

Traditional ways of managing network traffic, like using a central CPU to direct packets, can struggle with this kind of task. They may not be fast enough, or they might divide the work in ways that don’t match the real demands. When packets (small pieces of data) are not sent and received by the same part of the system, performance drops. This is a big deal in high-speed networks, especially with new standards like Virtio, which is used to connect virtual machines to the network.
The rise of “smart” network cards and data processing units (DPUs) has changed the game. These are special chips designed to handle network traffic right at the edge, before it even gets to the central CPU. By offloading work from the CPU to the DPU, networks can run faster and handle more data at once. But even with these advances, figuring out which flows are the heavy hitters and steering them to the right place is still a challenge.
In short, modern networks face a tough problem: how to keep up with growing data demands, spot the biggest flows, and make sure every user gets fair and fast service. The solution needs to work in real time, handle many different types of connections, and be flexible enough for all kinds of systems—especially in big data centers with thousands of servers.
Scientific Rationale and Prior Art
To understand why this new invention is important, let’s look at how networks have managed packet flows in the past. When data moves across a network, it is broken into packets. These packets need to be sent, received, and processed by computers or network devices. The way packets are assigned to different CPUs or cores is called “packet steering.” The goal is to balance the load so no single CPU gets overwhelmed.
One popular method is Receive Side Scaling (RSS). RSS uses a hardware or software hash function to spread incoming packets across different queues, with each queue tied to a CPU core. This helps use all available CPU power and keeps things moving fast. However, RSS has some limits. It doesn’t always make sure the same flow (group of packets belonging to one connection) stays on the same CPU. This can cause problems because some applications work better if the same CPU handles both sending and receiving for a flow.

Another software-based method is Receive Packet Steering (RPS), used in some operating systems like Linux. RPS tries to do a similar job, spreading packets among CPUs. Then there’s Receive Flow Steering (RFS), which goes a step further: it tries to keep all packets from the same flow on the same CPU to improve cache use and performance. But RFS is mostly a software solution and can be slow when dealing with lots of flows or very fast networks.
With the move to virtualization and cloud computing, new standards like Virtio have become common. Virtio lets virtual machines connect to the network using virtual network cards. This makes it easier to run many VMs on one server, but it also means there are more flows and more queues to manage. As speeds climb to 100 Gbps, 400 Gbps, or even 800 Gbps, old methods start to fall short. CPUs can’t keep up with all the packet steering, and software-based solutions can’t scale well.
Smart NICs and DPUs were developed to help solve these issues. They are special chips added to network cards that can handle packet processing, steering, and offloading from the CPU. They can apply rules, keep track of different flows, and even handle security tasks. But even these devices need better ways to spot elephant flows and manage them efficiently. Simply spreading packets evenly isn’t enough—some flows are much bigger than others, and treating all flows the same can lead to performance problems and unfairness.
Existing solutions tried to steer packets based on fixed rules or round-robin approaches, but they didn’t look at the actual size or importance of different flows. They also didn’t adapt in real time as flows changed. This led to wasted resources and slower performance for the biggest, most important connections.
In summary, while past methods like RSS, RPS, RFS, and smart NICs improved network performance, they didn’t fully solve the problem of identifying and managing elephant flows. Networks needed a smarter, more dynamic approach—one that could spot big flows as they happened and steer them to the right places for the best possible performance.
Invention Description and Key Innovations

The new patent application introduces a system and method for “Workload Aware Packet Steering.” This invention brings a fresh approach to managing network flows, especially the big, resource-hungry elephant flows. Let’s break down how it works and why it matters.
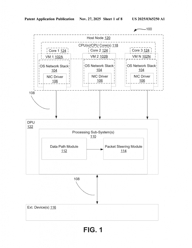
At the heart of this invention is a special processor—often a DPU—equipped with a “data path module” and a “packet steering module.” These modules work together to receive network communications, spot elephant flows, and make real-time decisions to steer packets to the best receive queues.
Here’s how the system operates, step by step:
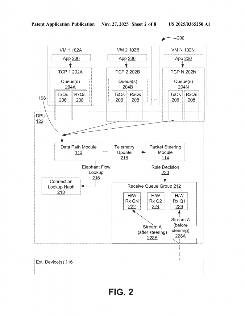
First, the data path module watches all incoming communications. These communications can use different protocols, like TCP connections from different VMs or applications. The data path module looks for signs of an elephant flow. It does this by checking the size of each flow—how many bytes per second, how many packets, or if there’s a large send operation. If a flow is using much more bandwidth than others, it’s marked as an elephant flow.
Once an elephant flow is found, the data path module sends this information to the packet steering module. This module is in charge of applying rules to decide where the incoming packets for that flow should go. The goal is to steer these packets to a particular receive queue, which is tied to the protocol or VM that owns the flow. This way, the system can make sure all packets from the big flow are handled by the same CPU or core, improving performance and cache use.
A key innovation is that the packet steering module can override the usual RSS logic. If the system decides a flow is an elephant, it can change the normal rules and send those packets to a specific queue—even if RSS would have sent them elsewhere. If the existing rule is already correct, it can leave it unchanged. This flexibility allows the system to adapt in real time to changing traffic patterns.
The system also sets limits to avoid overload. For example, it can cap the number of steering entries in its tables to prevent one VM or flow from using too many resources. It can also use fairness protocols to make sure all communication protocols get a chance to be treated as elephant flows, if needed. If a flow becomes inactive, the system removes its steering entry to free up resources for new flows.
Another smart feature is the ability to migrate flows between transmit and receive queues. If a big flow moves from one VM or protocol to another, the system can update its rules and steer the packets to the new queues, keeping everything running smoothly. All of this happens in real time, without needing to change the software on the main CPU or in the operating system.
The invention can also work with hints from the NIC driver or other monitoring tools, making it easier to spot elephant flows quickly. By using hashes and flow identifiers, the system makes sure it only tracks real, legitimate flows, not fake traffic from untrusted users or attacks.
In practical terms, this technology can be used in large data centers, cloud platforms, and enterprise networks. It helps balance workloads, prevent bottlenecks, and keep performance high—even as network demands grow. By offloading packet steering to a DPU and making it workload-aware, the system saves CPU cycles and ensures the biggest, most important flows get the resources they need without hurting smaller flows.
This approach is highly scalable. It can handle thousands of flows and devices at once, making it suitable for the largest cloud services and virtualized environments. The system can adapt to changes automatically, without manual tuning or fixed rules. It keeps track of which flows are active, which are inactive, and which need special treatment, updating its steering tables as needed.
In conclusion, this invention takes packet steering to the next level. It makes networks smarter by watching for big flows, making real-time decisions, and adapting to changing workloads. By combining DPU offloading, smart rules, and dynamic steering, it helps networks deliver better performance, fairness, and reliability for everyone.
Conclusion
Modern networks face tough challenges as data demands grow and flows become bigger and more complex. The “Workload Aware Packet Steering” invention provides a smart, flexible solution. By using DPUs, data path modules, and packet steering modules, it spots the biggest flows and steers them where they need to go. This keeps networks running fast and fair, even under heavy load. For anyone running a data center, cloud platform, or high-speed network, this technology offers a clear path to better performance and efficiency.
Click here https://ppubs.uspto.gov/pubwebapp/ and search 20250365250.


