Smart Door Peephole Camera Delivers Real-Time Visitor Alerts and Remote Monitoring for Homeowners

Invented by Bakke; Erik
Home security is important. People want to keep their homes and families safe. This has led to new inventions that help monitor who is outside your door. Today, we will explore a special type of camera that uses your door’s peephole to let you see who is outside. This blog will help you understand why this invention matters, how it compares to older ideas, and what makes it different.

Background and Market Context
Let’s start with some history. Doors have had peepholes for many years. Peepholes are small glass lenses set into the door. They let people inside look out to see who is at the door. This gives a sense of safety. Over time, new devices like video doorbells became popular. They let people see and talk to someone at the door with their phone, even if they are not home.
But not everyone can use these video doorbells. Many apartment renters or people living in homes with strict rules cannot put cameras on the outside of their door. Some landlords and homeowners associations do not allow it. This means that many people still rely on the old peephole for security.
This is a problem because peepholes have limits. You have to be home to use them. You have to walk up to the door and look through it. And if someone is standing too far back, or if it’s dark, it can be hard to see who is there. Also, once you look through the peephole, the person outside might notice the lens move or see light change, so they know you are home.
Some companies tried to solve these problems by making cameras that fit over the peephole. One example is the Ring Peephole Cam. These products let you see the outside of your door using your phone. But they have some issues. Most need you to change or remove the old peephole. This means using tools and sometimes damaging the door. Many of these cameras have a box that sits on the outside of the door. This is easy for someone to spot, so they know they are being watched. It can also make doors look less nice, and it might not be allowed by building rules.
Another big issue is battery life. Cameras that always record use a lot of power. To save battery, most of these cameras use a sensor called PIR (passive infrared) to only turn on when someone is near. But PIR sensors cannot see through doors or glass, so the sensor is also placed outside, making it visible. This is not ideal for privacy or for people who want a hidden camera solution.
The market needs a better answer. People want a camera that:
- Does not need tools or damage the door
- Is easy to put on and take off
- Does not show on the outside of the door
- Has long battery life
- Is good for renters, travelers (like in hotels), and homeowners

This is where the new smart peephole camera comes in. It builds on what people liked about peepholes and video cameras but solves the problems that stopped many people from using them. The new camera sits on the inside of the door, looks through the peephole, and can be installed or removed without tools. It uses smart sensors and dual cameras to save battery but also give great video when needed. Most importantly, no one outside the door knows it is there.
Scientific Rationale and Prior Art
To understand why this invention is important, let’s look at the science and older inventions, called “prior art.”
Peepholes are simple. They use lenses to let you see outside without opening the door. They have been around for a long time and are trusted. When video technology got smaller and cheaper, companies started making cameras for doors. Some early patents and products include:
- U.S. Pat. No. 4,269,474A (1979) – A classic peephole viewer with wide-angle lenses
- Ring Peephole Cam – A modern camera that fits over the peephole, but sits on both sides of the door
- Other patents like U.S. Ser. No. 11/501,618-B1, US-20170048495-A1, and U.S. Pat. No. 9,912,920-B2, which describe door cameras and sensors
All these inventions tried to make it easier to see who is outside. They added features like wireless video, sensors to save battery, and cloud storage. But they had trade-offs. Most needed you to change or remove the peephole. Many needed tools. Most had a big part showing on the outside of the door, making it obvious that there was a camera. This is not good if you want privacy or if you are not allowed to add visible cameras to your door.

Another problem was battery life. Cameras that record all the time use a lot of power. To save battery, companies used motion sensors (like PIR) to only turn on the camera when someone is near. PIR sensors can only work if they are outside the door, which again makes the device visible. Some newer sensors use less power, but the balance between battery life and image quality is hard to get right.
Over the past few years, there have been advances in camera technology. Now, you can get tiny cameras that use almost no power but only give low-quality images. There are also very good, high-quality cameras that use more power. The idea is to use both types: a low-power camera to watch all the time, and a high-quality camera to record only when something happens.
But even with these advances, most products still need you to change the peephole, use tools, or put something on the outside of the door. The market needed a camera that:
- Stays hidden
- Is easy to put on and take off
- Works with the peephole already in the door
- Keeps battery life long
- Can be added or removed without leaving marks
This is the gap that the new smart peephole camera fills. It borrows ideas from old inventions but adds new ways to solve the problems. It uses magnets and removable sticky tape to stay on the door. It has a special mirror that moves inside, so two cameras can share the same view through the peephole. It can talk to extra sensors placed outside the door, but those sensors are small and can be hidden in places like a welcome mat. The whole system can be set up or taken down in minutes, with no tools or special skills.
Invention Description and Key Innovations
Let’s talk about how this smart peephole camera works and what makes it special.

The camera is made to fit on the inside of your door. You do not need to take out your old peephole or use any tools. It does not show on the outside, so no one knows it is there. Here’s how it works in simple terms:
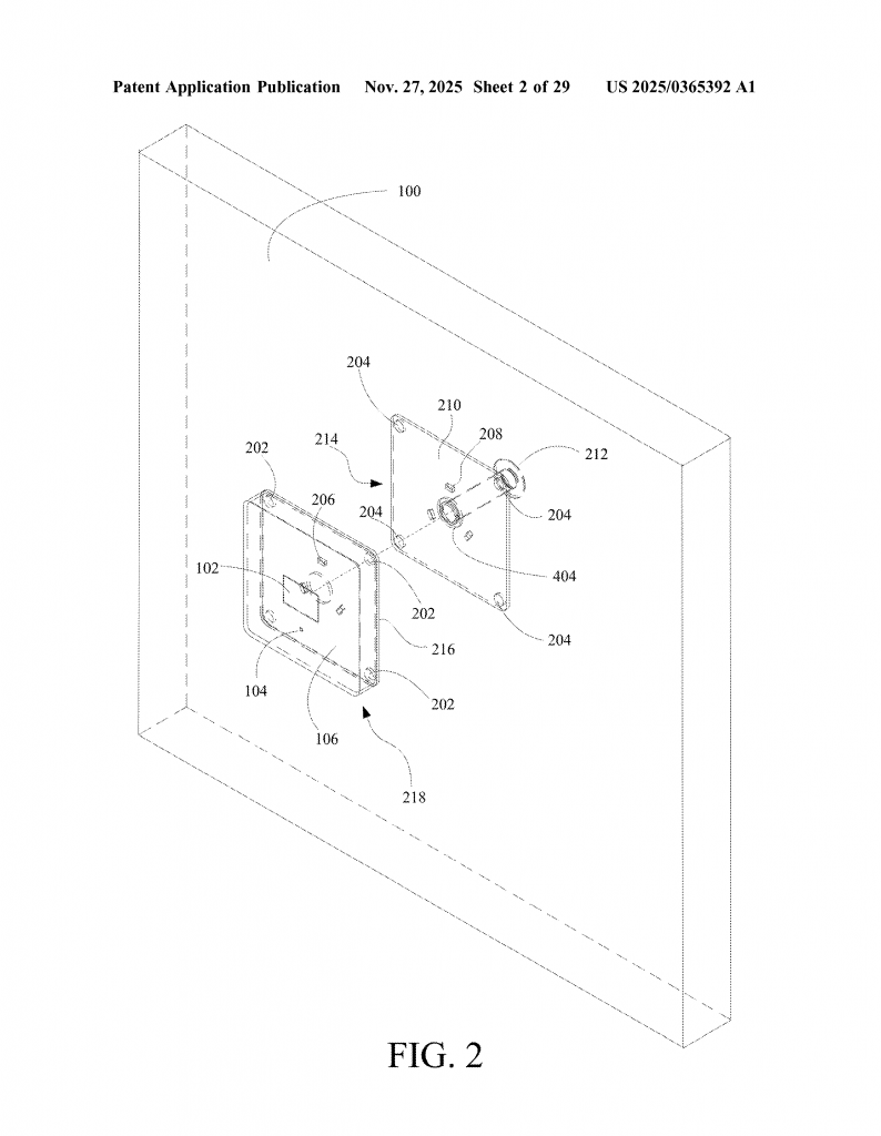
The camera comes in two main parts: a bracket that sticks to the door and the camera housing that snaps onto the bracket. The bracket uses removable sticky tape. You peel off the paper, stick it to the door around the peephole, and you are done. The camera housing has magnets and special grooves to snap onto the bracket. This keeps it lined up with the peephole. When you want to remove it, just pull it off. The sticky tape does not leave marks.
Inside the camera housing, there are two camera modules: a low-power camera and a high-quality camera. There is a little mirror inside that can turn. When the system is sleeping, the mirror points the peephole view to the low-power camera. This camera always watches for changes, like someone moving outside the door. Because it uses little power, the battery lasts a long time.
When the system sees movement or hears a sound (like a knock or talking), the mirror turns so the high-quality camera can look. This camera wakes up and starts recording. The system can also send video to your phone or store it in the cloud. When nothing is happening, the mirror goes back to the low-power camera. This keeps the battery from running out quickly.
If you want to look through the peephole yourself, you just pull off the camera housing. Now you can look outside just like before. When you’re done, snap the camera back on. The magnets and grooves make it easy to put back the right way.
What if you want to make the system even smarter? The camera can talk to extra sensors. These sensors can be placed outside, like in a welcome mat or a small box by the door. These extra sensors can tell the main camera when someone is near, so it wakes up at the right time. The sensors can use different types of technology, like passive infrared (PIR), time-of-flight (uses tiny flashes of light to measure distance), or even microphones to hear sounds.
The whole system is designed to be flexible. You can use it in a house, apartment, dorm room, or even a hotel room. The camera and sensors are easy to take off and move to another door. You do not need to drill holes, use screws, or do anything that would upset your landlord or damage the door. The outside of your door stays the same, so you do not break any rules about adding cameras.
Some models also have a small screen on the inside, so you can see who is at the door without using your phone. If you want, you can get alerts on your phone when someone is at your door, even if you are not home. The system can also recognize faces, so you know if it is a friend, family member, or a stranger.
Another smart feature is the use of magnets. If you have a steel door, you do not even need the sticky bracket. The camera housing has strong magnets that hold it right on the door. This makes it even faster to put up or take down.
The design also lets you use different kinds of sensors. For example, if you want to hide the sensor, you can use a thin mat or even a sign that looks normal but has sensors inside. These sensors tell the main camera when someone is nearby, helping it wake up only when needed and saving battery.
To sum up, here is what makes this invention stand out:
- It works with the peephole you already have. No need to remove or replace anything.
- It is easy to install and remove. No tools, no mess, no marks on the door.
- It is hidden from the outside. People outside the door cannot see the camera.
- It uses two cameras and a moving mirror to balance battery life and video quality.
- It can work with extra sensors, which can be hidden in mats or other places.
- It works in apartments, homes, hotels, and even steel doors.
- It can send alerts to your phone and let you see who is outside, anytime, from anywhere.
This smart peephole camera brings together the best parts of old peepholes and new smart cameras. It is made for real people who want better security but do not want to damage their door or break any rules. It is flexible, easy to use, and helps you feel safe in your home.
Conclusion
Home security is always changing, but some needs stay the same. People want to know who is at their door. They want to feel safe. This new smart peephole camera is a big step forward. It uses simple ideas—like magnets, sticky tape, and a turning mirror—to solve problems that have bothered people for years. It does not need tools or changes to your door. It does not show on the outside. It is easy to move and works with many kinds of doors.
By using smart sensors and two cameras, it saves battery and gives clear, high-quality video when you need it. The option to add extra hidden sensors makes it even better. This invention is not just for people who own their homes. It is perfect for renters, travelers, and anyone who wants simple, strong security with no hassle. If you want to keep your home safe in a smart, easy way, this could be the answer you have been waiting for.
Click here https://ppubs.uspto.gov/pubwebapp/ and search 20250365392.


