Secure Digital Contract Management Platform Integrates Video, Blockchain, and E-Signatures for Businesses

Invented by KIM; Sung Chul, CHO; Seong Eun

Let’s talk about a simple way to make contracts safer and easier, using things like video, audio, and new computer tools. This patent application is about a server system and a method that lets people record their contracts with audio and video, sign them electronically, and store them on a secure network. It uses blockchain and something called IPFS (InterPlanetary File System) to keep everything safe, real, and easy to check. Here’s what you need to know.
Background and Market Context
Most people are used to signing contracts on paper. This has been the usual way, needing a pen, paper, and sometimes a lawyer or other expert in the room. People have long trusted written contracts because it’s easy to see who signed, what was agreed, and when it happened. Some companies now offer electronic contract services, but these also usually only handle written words and electronic signatures.
But in real life, many deals are made by talking. Maybe you agree to buy a bike from your neighbor, or hire someone to fix your roof. You might record your agreement on your phone, or just shake hands. These oral agreements are common but can be hard to prove later. If there’s a problem, how do you show what was actually said?
Recording contracts as audio or video has become more popular with the rise of smartphones. Still, even if you record something, it’s not always trusted. Someone could change the file, cut out parts, or even fake the whole thing using new computer tricks that make voices and faces look or sound real. This is called “deep fake” and makes people worry about trusting video or audio evidence.
There is also another big problem: where do you keep these recordings? If you save them on your phone or computer, they might get lost or deleted. If a company stores them, what happens if the company goes away? People want a way to keep these important files safe, private, and easy to check, no matter what.
This is where the new invention comes in. It uses a server to help people record their agreements with audio and video, sign them using electronic signatures, and then save them in a way that’s secure and can’t be easily changed or erased. The system uses IPFS and blockchain, which are super-safe ways to store information across many computers around the world. Even if one computer breaks, the information is still safe and can be checked by anyone who has permission.

This approach changes how people think about contracts. It makes it possible to trust oral or video agreements just as much as written ones, and it makes contracts easier for everyone—no matter where they are or what device they use.
Scientific Rationale and Prior Art
Let’s break down why these new tools (like blockchain and IPFS) matter for contracts, and what was already out there.
For a long time, making a contract was about writing things down and having people sign. Electronic contracts made it possible to sign on a computer, but they still relied mostly on text and digital signatures. Some earlier inventions tried to improve things by letting people store contract documents and recordings in special systems. For example, there were patents for storing signed documents with audio or for making enforceable oral agreements in mobile apps.
However, even with these ideas, there were problems. If a contract is stored on just one computer or server, it can be lost, hacked, or changed. If the company that holds the contract shuts down, records could disappear. Audio or video files can be faked or edited, especially with new computer tricks. Passwords can be stolen, and electronic signatures can be misused.
Blockchain and IPFS bring something new. Blockchain is a special way to store data so that it is spread out over many computers. It’s almost impossible to secretly change information because everyone in the network can see if something is different. Each piece of data gets a special code (hash) that changes if anything in the data changes, even a tiny bit. This is very good for stopping people from cheating.
IPFS is another tool that spreads files out over many computers. When you upload a file to IPFS, it gets broken into pieces and stored on different computers. It also gets a unique code (hash) so that you know it hasn’t changed. Even if some computers go offline, the file can still be found and used.

By using both blockchain and IPFS, this invention makes sure contract files are safe, easy to check, and almost impossible to change without people noticing. If you want to prove what was agreed, you can show the original file and its code from the blockchain; if someone changed even a second of the video or a word in the contract, the code would be different, and everyone would know.
The invention goes a step further. It uses tools like speech-to-text (STT) to turn spoken words in the recording into written words, making it easier to check what was said. It also uses watermarks—like invisible stamps in the sound or video—to prove who made the contract and when. To make everything even safer, it asks people to sign with their electronic signature and confirm their identity using text messages or other checks. All the information about where and when the contract was made is stored as “metadata,” so you always know when and where it happened.
Compared to older systems, this is much more secure and useful. It blends the ease of oral agreements with the strong proof of written contracts, making it hard for anyone to cheat or claim they didn’t agree.
Invention Description and Key Innovations
Now, let’s look at how the invention actually works and what makes it special.
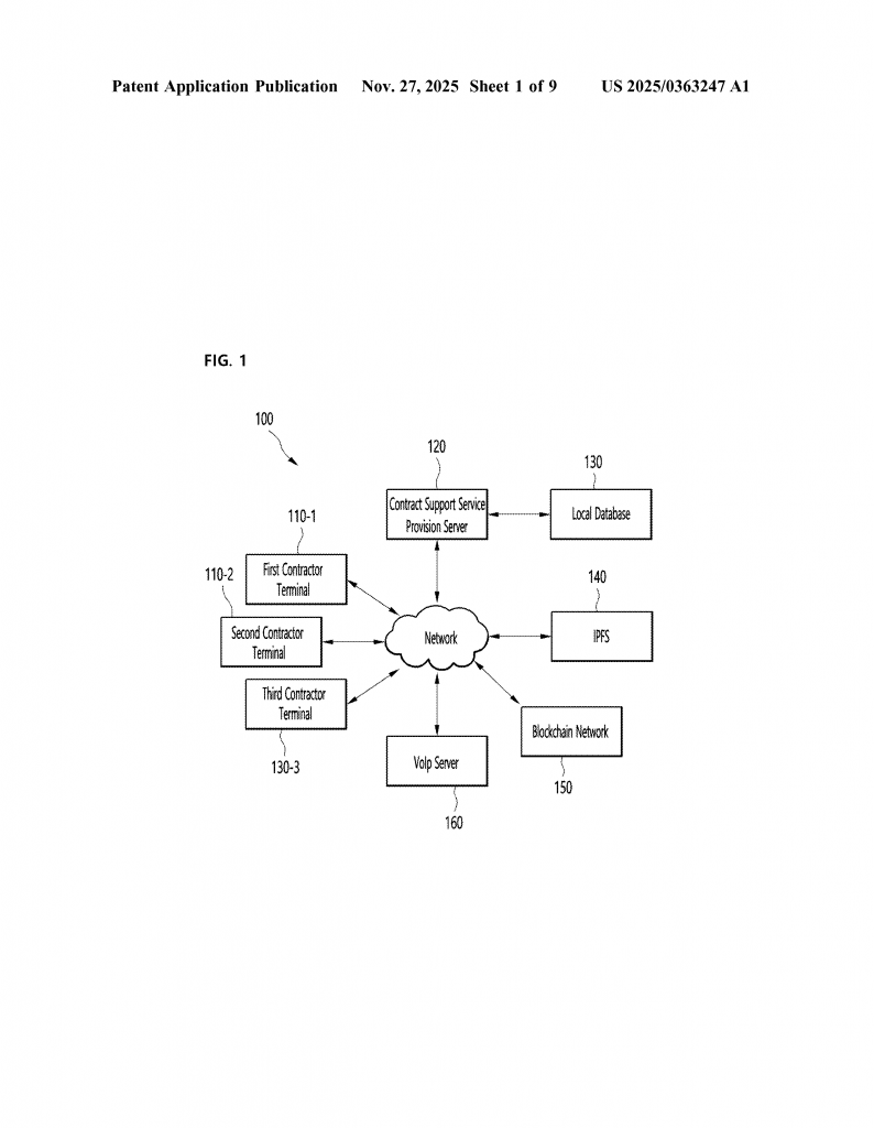
The heart of the invention is a server, connected to many “contractor terminals”—these can be phones, tablets, or computers used by people making the contract. The server also connects to IPFS (for storing files) and to a blockchain network (for recording proof that files exist and haven’t changed).
When someone wants to make a contract, they start by opening an app or website connected to the server. The server helps them record the contract, either as audio or video, right on their device. Sometimes both people making the contract are in the same room, and they can use one device to record. Other times, they may be in different places, so the system can help set up a call (using Internet phones, or VoIP) and record both sides.

As the contract is recorded, the server collects metadata—this is information about where the recording happened, when it happened, and which devices were used. This information is very important if there’s ever a disagreement about the contract later.
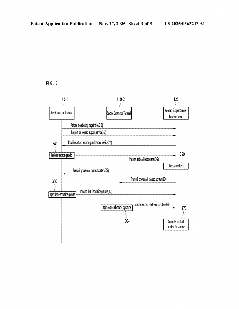
The server then uses speech-to-text to turn the spoken words into written words. This way, there is both a video/audio recording and a text version of the agreement. The server creates a “provisional contract” with all this information.
Next, the server sends special links to everyone involved in the contract. One link lets them see and check the recorded contract. Another link takes them to a web page where they can add their electronic signature—this could be done by drawing, typing, or using a special signature app. To make sure only the real people sign, the server sends a text message to each person’s phone with a secret code they must enter.
After everyone signs, the server creates a final version of the contract. Here’s where the magic happens:
– The server adds invisible watermarks to the audio and video. These can be special sounds people can’t hear, or little marks in the video. They help prove who made the contract and block tricks like deep fake or fake voices.
– All the files—audio, video, electronic signatures, and metadata—are packed together, compressed, and encrypted (locked with a special password). The password is made from personal information, like the name and email of the people in the contract, using a safe method called Bcrypt and AES.
– The encrypted file is uploaded to IPFS. IPFS gives it a unique hash code.
– The server then records this hash code in the blockchain network. The blockchain gives back a transaction ID and data ID, which are like receipts or tickets to find the contract later.
After all this, the server sends an email to everyone involved. This email has the information needed to check or unlock the contract—like the transaction ID, data ID, and a way to make the password. If you ever need to prove what happened, you can use this information to get the original video/audio and show that it matches the code on the blockchain.
If someone wants to check the contract later—maybe in court, or just for their own peace of mind—they use the email and enter a password. The system gets the file from IPFS (using the hash code), checks the blockchain to make sure it’s the right one, and then unlocks (decrypts) it. They can then watch or listen to the contract, see the signatures, and check all the metadata about where and when it was made.
What makes this invention special is how it puts all these steps together:
– It joins the best parts of oral and written contracts, making agreements more flexible for real life.
– It uses several layers of security: encryption, watermarks, blockchain, and distributed storage.
– It captures not just what was agreed, but who agreed, where, and when.
– It ensures that even if the company running the system disappears, the contract files remain safe and easy to check.
– It makes it hard for anyone to cheat, fake, or change the contract after it’s made, helping people trust agreements made in any form.
This invention is a big step forward for anyone who needs to make agreements quickly, safely, and without the hassle of long paperwork or expensive experts. It is useful for businesses, freelancers, families, and anyone who wants to be sure that their deals are real and secure.
Conclusion
This patent application shows a fresh way to make, sign, and store contracts. By using tools like audio and video recording, electronic signatures, encryption, IPFS, and blockchain, it makes contracts easier, faster, and much more secure. You don’t need to worry about lost papers, fake recordings, or companies shutting down. Every agreement is safe, easy to check, and protected by the latest technology. Whether you’re making a deal with a neighbor or running a business, this system helps you trust that your word—spoken, written, or recorded—will stand strong.
Click here https://ppubs.uspto.gov/pubwebapp/ and search 20250363247.


