AI-Generated Custom Sticker Packs: Instantly Turn User Ideas Into Shareable Digital Assets

Invented by SINGH; Aryan, TENDOLKAR; Gaurav Vinayak, SINGH; Devesh, Microsoft Technology Licensing, LLC

Today, digital stickers make chatting online more fun and full of personality. But what if anyone could make a set of stickers, just by typing a few words? A new patent application shows an easy way to do just that, using smart AI technology. Let’s break down this technology, see why it matters, and explore how it works.
Background and Market Context
Think about how you send messages. Sometimes, you use emojis—simple faces or symbols that show how you feel. But there’s something even more expressive: digital stickers. These are bigger, more colorful pictures you can add to messages. They might be cute animals, funny faces, or even cartoon scenes.
Stickers first appeared in messaging apps like Line and Telegram in the early 2010s. People loved how they could show more emotion or make jokes without typing. Soon, almost every chat app—WhatsApp, Facebook Messenger, Instagram, and Snapchat—added sticker libraries. Some stickers are free. Others cost money, or come with special events or brand promotions.
Most sticker packs come in sets. Each set has a theme, like “dancing cats” or “summer vacation.” Users pick the packs they like, download them, and use them in chats. Sticker packs make messages brighter and more personal, allowing people to show mood or creativity that plain text can’t match.

But there’s a problem. You can only use the stickers a platform gives you. If you want something special, you can try to make your own. But drawing digital stickers takes skill and time. Not everyone can do it, and searching for the perfect sticker in a giant catalog can be slow and frustrating.
This is where the new technology comes in. It offers a way for anyone—even those who can’t draw—to make a whole set of unique stickers, just by describing what they want in simple words. The system uses smart AI to create the art, and special computer processes to turn it into ready-to-use stickers. This could change how people share feelings and ideas online, making chats even more fun and personal.
Scientific Rationale and Prior Art
To understand this new sticker system, let’s look at the science and older ideas it builds on. The main science behind it is called generative artificial intelligence (or generative AI). This is a type of computer program that learns how to make new things—like pictures or words—by studying lots of examples. It tries to create new content that looks or sounds like the real thing.
One big breakthrough in generative AI is something called Generative Adversarial Networks, or GANs. In a GAN, two computer “brains” work together. One tries to make fake images, while the other tries to spot the fakes. By working against each other, they both get better. Over time, the system learns how to make pictures that look real, even if they are brand new.
Recently, researchers built AI that can make images based on written descriptions. For example, you can type “a happy dog wearing a red hat,” and the AI will make a picture of that scene. Tools like OpenAI’s DALL-E are famous for doing this. These “text-to-image” tools have gotten very good at making art, even from simple prompts.

In the world of stickers, there have been some ways to make custom stickers before. A few apps let you draw your own, or cut out shapes from photos. But these methods need artistic skill or a lot of time. Some platforms let you upload images, but they don’t help you create the art. There has never been an easy way for anyone to make a full pack of themed stickers just by describing them in words.
This is where the patent’s idea stands out. It combines the latest AI text-to-image technology with smart computer processes that turn big images into neat, ready-made sticker packs. The computer not only makes the art, but also cleans it up and gets it ready for use in chat apps. This combination of AI and post-processing is new, and it solves the old problems of time, skill, and search that have limited custom sticker creation until now.
Invention Description and Key Innovations
The new system described in the patent is almost like magic for sticker lovers. Here’s how it works, step by step, and what makes it special.
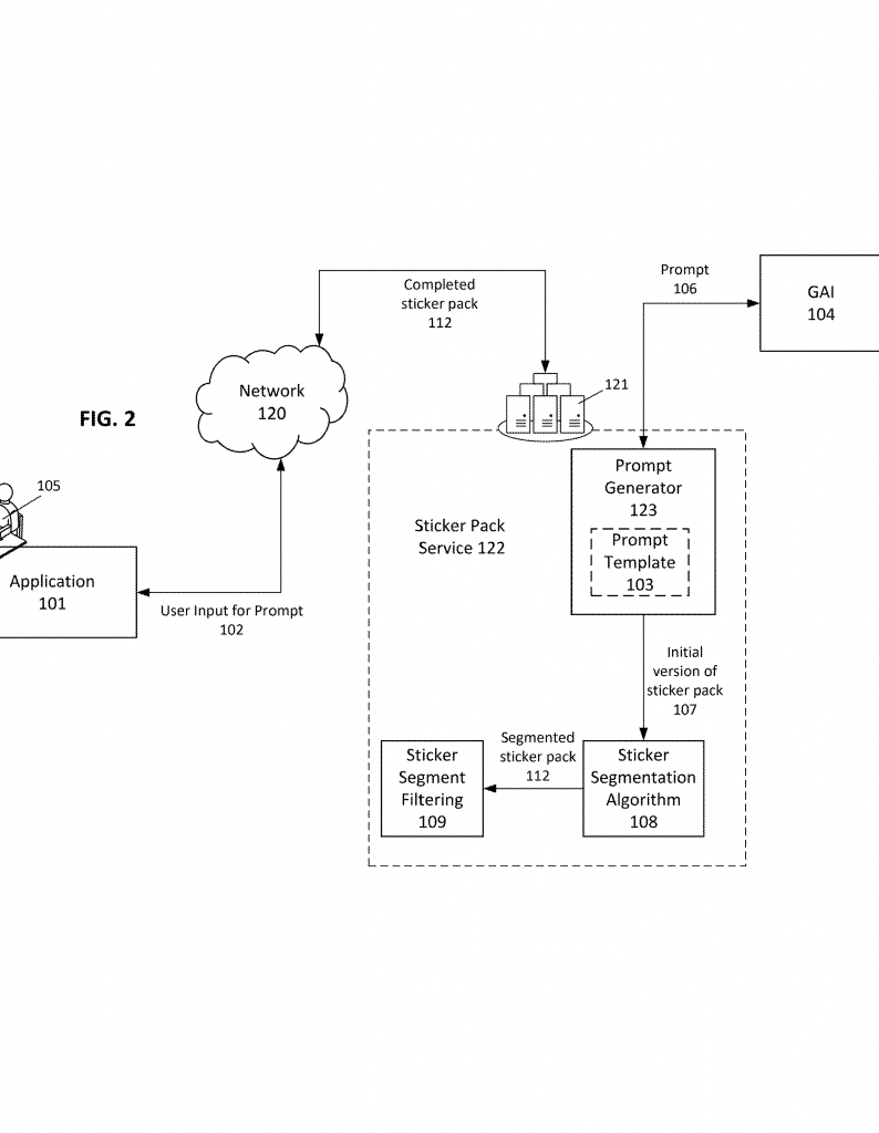
First, imagine you want a sticker pack with a special theme. Maybe you want “cats on skateboards,” or “funny vegetables at a party.” You open the app or website, and see a simple box where you can type your idea. There’s a button to start the process. You write your description, like “avocado on beach vacation,” and click “generate.”
The system takes your words and puts them into a special template—almost like filling in the blanks of a sentence made for sticker creation. For example, the prompt might be: “Make 4 unique stickers about ‘avocado on beach vacation’, with a white border, bright colors, and a clear black background with space between each sticker.” This prompt helps the AI know exactly what to make and how to arrange it.

The prompt goes to a generative AI model, like DALL-E. The AI uses its training to make a new image that matches your theme. It creates a single big image, showing several different stickers spaced out on a solid background. This is the raw art. But it’s not ready yet—the stickers are still part of one big picture, and there may be extra bits or mistakes (like a half-finished item at the edge).
This is where the smart post-processing comes in. The system runs a series of computer steps to turn the big image into individual, perfect stickers:
1. Intelligent Binary Thresholding: The computer looks at the image and tries to tell the difference between the background and the sticker parts. It does this by checking the brightness or color of each tiny dot (pixel) in the image. The goal is to find the best line between sticker and background, even if the lighting or colors change across the image.
2. Hierarchical Contouring: Next, the computer finds the outlines of each sticker. It does this at different levels, first finding large shapes, then smaller details. This step makes sure each sticker is cut out neatly, and it can spot if a sticker has more than one part (like a dog holding a bone).
3. Non-Leaf Node Contour Filtering: The computer now checks which outlines really belong to stickers. It removes outlines that are too small or are just bits and pieces, not real stickers. It keeps the main shapes that are likely to be what you wanted.
4. Cut Off Filtering: Sometimes, the AI draws a sticker that goes off the edge of the picture, so you get half a cat or a broken skateboard. The system checks for these “cut-off” shapes and removes them, so you only get full, usable stickers.
5. Transparency and Area-Based Filtering: The computer also checks for stickers that are too small or have see-through parts where they shouldn’t. It removes anything that doesn’t look right, so you just get clean, solid stickers of the right size.
6. Edge Smoothing with Gaussian Blur: To make the stickers look nice, the system softens the edges a little. This makes the border of each sticker look smooth, not jagged, and helps them look good when you use them in chats.
After all these steps, you get a neat pack of individual stickers, each matching your theme. The app shows these to you in a gallery or pop-up. You can click to see a bigger version of each sticker, scroll through the pack, and choose to download one or all stickers with a button. You can then use them in any chat app that lets you upload stickers.
There are other helpful features, too. You can give feedback about how well the AI did, which helps make the system better over time. You can also make as many packs as you want, each with its own idea or theme.
What makes this invention truly special is how it puts everything together. It’s not just about making art with AI, or about cutting out shapes from pictures. It’s about making the whole sticker creation process simple, instant, and open to anyone. Even if you can’t draw, you can make a sticker pack that’s all your own, in just a few seconds. And because the system does all the work—creating, cleaning, and packaging the stickers—it saves time and removes the need for special skills.
This system could be used inside any chat app, design tool, or website. It could let people make stickers for fun, for work, or even for branding. The technology also opens up new ways for people to express themselves online, making digital conversations much more lively and personal.
Conclusion
This unique patent application shows how the latest AI and computer techniques can change the way we communicate online. By letting users create custom sticker packs with just a few words, it solves old problems of time, skill, and searching. The system’s smart steps—combining AI art with careful post-processing—make sure every sticker is clean, sharp, and ready to use. As more people look for ways to express themselves online, this technology could make digital chats more fun, creative, and personal than ever before.
Click here https://ppubs.uspto.gov/pubwebapp/ and search 20250363676.


