Transform Social Media Posts into Dynamic NFTs for New Revenue and Monetization Opportunities

Invented by SINGH; RAVNEET

Social media is everywhere. We like, share, and post every day. What if your posts could become digital treasures you can own or sell? This new patent application shows how regular social media content, like your favorite selfie or post, can become a special digital item called a dynamic NFT. Let’s explore how this works and why it could change how we see social media forever.
Background and Market Context
Today, the internet is full of digital things. We have virtual goods in games, digital music, and lots of social media posts. Many people, such as movie stars, musicians, athletes, and even regular folks, have become influencers because they have many followers online. These influencers can make real money from their social media accounts. Sometimes, brands pay them to talk about products. Other times, they sell digital products, courses, or even their own art.
But making money from social media is not easy. There are some big problems. First, people have to follow the rules of each platform, like Instagram or TikTok. These rules can change at any time. If a platform changes its rules, influencers might lose their income overnight. Many creators also spend a lot of time making content and talking to brands. It takes a lot of work to keep up.
Another issue is that it is hard to know how much a post is worth. Is a video with 1,000 likes better than a photo with 200 comments? How do you prove you own a post or a video? And what if someone steals your post and tries to sell it as their own?

There are also bad actors online. Sometimes, people take someone else’s content and pretend it is theirs. They might even turn it into an NFT (a digital item that says you own something online) and sell it. This is a big problem because it is hard to prove who really owns the original post.
This is where the idea of turning social media content into dynamic NFTs comes in. NFTs are a kind of digital certificate. They say, “This is the real version, and this person owns it.” If social media posts could become NFTs, it would be easier for creators to make money, prove ownership, and keep their content safe from thieves.
The market for NFTs has grown very fast. People buy and sell digital art, music, and even tweets as NFTs. Social media is the next big space for NFTs. If we can turn our posts into NFTs, we could unlock new ways to earn money and connect with fans. This system could also let people buy, sell, or even gift NFTs, making social media more fun and rewarding for everyone.
Scientific Rationale and Prior Art
To understand why this invention matters, let’s look at what came before. Digital content has always been easy to copy. If you post a picture, someone else can save it and post it as their own. The internet is full of copied content. This makes it hard to prove who owns what. In the past, people tried different ways to protect digital items. Some used watermarks or digital signatures. Others tried copyright notices. But these don’t stop copying, and they don’t help people make money from their work easily.
Non-fungible tokens (NFTs) changed the game. NFTs use blockchain, which is like a digital ledger that everyone can see but no one can change. When you make an NFT, you create a record that says, “This person owns this digital thing.” People started selling digital art, music, videos, and even tweets as NFTs. This made it possible for creators to sell their work and for buyers to prove they own something unique.

But even with NFTs, there are problems. First, it is not easy to turn social media posts into NFTs. You often need to download your post, upload it somewhere else, and use a complicated process to mint (create) the NFT. This takes time and can be confusing. Also, most platforms do not help creators monetize their posts as NFTs. If you want to sell your post as an NFT, you have to do it yourself.
Another problem is contracts and payments. When an influencer works with a brand, they might sign a contract. But keeping track of all these deals, payments, and copyright issues is hard. Sometimes payments are late, or contracts are lost. There is also no easy way to prove that a contract was signed or agreed upon.
Some systems tried to solve parts of this puzzle. There are NFT marketplaces, like OpenSea or Rarible, where you can buy and sell NFTs. There are also tools for digital signatures, like DocuSign. But there isn’t one system that links your social media, lets you easily turn posts into NFTs, handles contracts, and manages payments and royalties in a safe way. Most tools are separate, and you have to use many different apps to do everything.
Finally, there is the issue of value. How do you know how much a post is worth? Is it just the number of likes, or is there more to it? Most systems do not have a clear way to measure the value of social media content. Without a good system, it is hard to price NFTs or decide how much to pay someone for their post.
This new invention builds on all these ideas. It brings together social media, NFT creation, contract management, payments, and value tracking in one system. It uses blockchain to make everything secure and transparent. This means that content creators, fans, and brands can work together more easily, with less risk of fraud or confusion.
Invention Description and Key Innovations

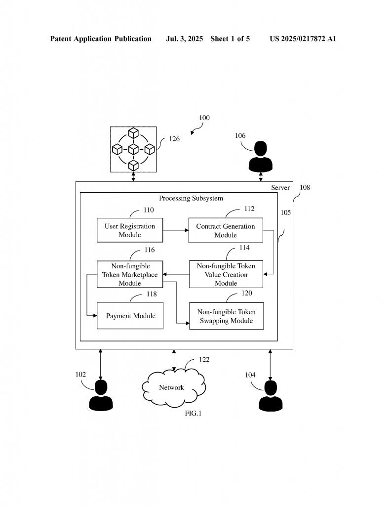
This invention is a computer system that helps turn social media content into dynamic NFTs. It makes the process easy, safe, and useful for everyone involved. Let’s break down how it works and what makes it special.
First, the system has a user registration part. This is where you sign up and link your social media accounts. If you are an influencer, you connect your Instagram, TikTok, or other accounts. The system treats your posts, photos, and videos as your assets. It checks how much engagement you get—likes, comments, followers, shares—and uses this to decide the value of your account and your posts.
Next is a contract generation feature. When you work with brands or other users, you need to agree on terms. The system uses e-signature tools so both sides can sign contracts online. After signing, the contract is recorded on the blockchain, making it official and impossible to change. This also solves the problem of fake or lost agreements. The contract itself can even become an NFT, making it easy to prove you have a deal and what the terms are.
Then comes the NFT value creation module. With a few clicks, you pick which of your posts or content to turn into NFTs. The system lets you mint NFTs directly from your social media content, no need to download and re-upload. It also calculates the value of each NFT using live engagement data—how many people like, comment, or share your post. The value can change over time as your post gets more popular or if your reputation grows. This makes the NFTs dynamic, not static, reflecting their real-time worth online.
After that, there is an NFT marketplace built in. Here, you can list your NFTs for sale. Other users or brands can buy them. You can also buy NFTs from others, including fellow creators or influencers. The marketplace is open to everyone in the system, so trading is easy and fast. You can choose to set a fixed price, hold timed auctions, or run unlimited auctions where people can keep bidding until you accept an offer.
The payment module takes care of all the money matters. When someone buys your NFT, the system handles the payment, whether it’s in crypto or normal money (fiat). If you want to earn regular income, you can set up monthly subscriptions. Fans or brands become paying members to access your special content. The system keeps track of your total earnings, shows you all your transaction history, and even handles royalties if your NFTs are resold in the future.
One standout feature is the NFT swapping module. Crypto money comes in many types (like Ethereum, Polygon, BNB), and people use different currencies in different countries. The system lets you swap the type of currency for your NFTs across networks. This makes trading easier and more flexible for users all over the world.
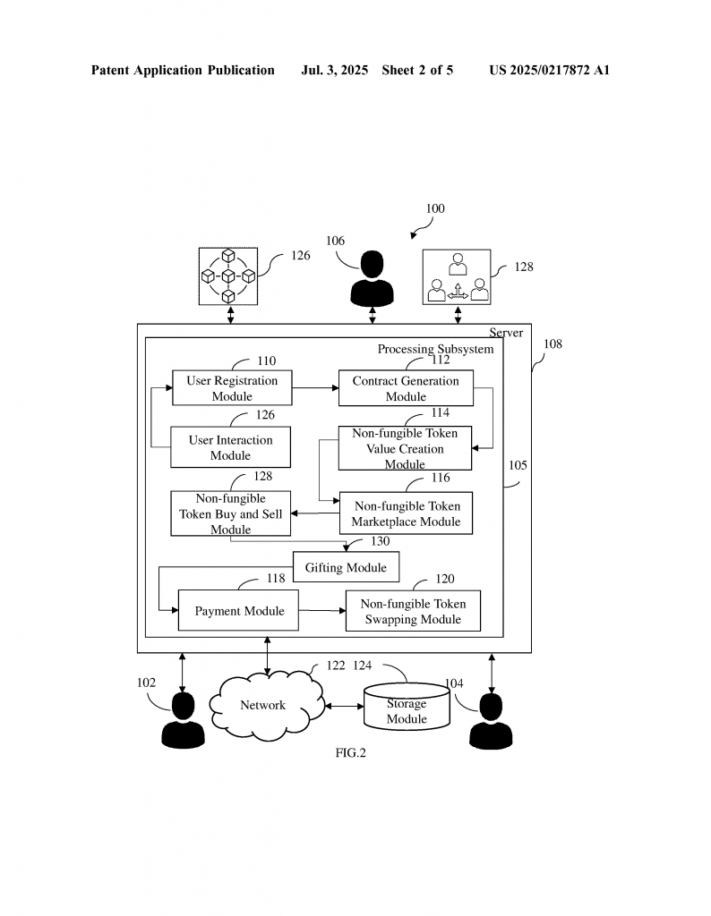
There are other helpful features too. The system has a storage module that keeps all your contracts, transaction details, and social media content safe. There’s a public ledger, so every deal and payment is recorded on the blockchain. This keeps everything honest and transparent.
For users who want to interact, there’s a chat module for influencers and brands to talk, set up deals, or even run paid chat sessions. If you want to sell, buy, or trade NFTs, there’s a special buy and sell module. You can even gift NFTs to others or give your earnings to charity using the gifting module.
The user interface is simple. When you sign up, you create a profile and link your accounts. You see your digital wallet, where all your NFTs and earnings are stored. You can invite friends, manage your settings, and see your stats, like how many NFTs you own, your social value score, and your transaction history. Everything is easy to find and use, even if you are not a tech expert.
The real magic is how all these parts work together. If you are an influencer, you can turn your posts into digital assets in seconds, set up deals with brands, and get paid safely. If you are a fan, you can buy or own a piece of your favorite creator’s work. If you are a brand, you can find top influencers, set up contracts, and track every deal, all in one place. The system is safe, fair, and works across borders and currencies.
By using blockchain and smart contracts, the system stops bad actors from stealing or faking content. Every NFT, contract, and transaction is public and unchangeable. If someone tries to sell a copied post, it’s easy to see that it’s not the real one.
In short, this invention creates a whole new way for creators, fans, and brands to connect and do business online. It makes social media content valuable, tradable, and protected. It brings together everything you need—minting, contracts, payments, trading—into one simple platform.
Conclusion
Social media is not just for sharing anymore—it can be a place to own, trade, and earn. This new system makes it safe and easy to turn your posts into dynamic NFTs. It brings together all the tools you need: registration, contracts, payments, value tracking, and trading, all built on blockchain for security and trust. Whether you are a creator, a fan, or a brand, this invention opens up new ways to connect, reward, and grow. The future of social media is here, and it’s more valuable than ever before.
Click here https://ppubs.uspto.gov/pubwebapp/ and search 20250217872.


