Secure Blockchain Storage for Quantum Computing Data: Protecting Inputs and Results Across Networks

Invented by Goudjil; Ryan G.

Quantum computers are changing the way we solve some of the hardest problems in science, business, and security. But as quantum machines become more powerful, there is a growing need to keep their data safe and make sure it is easy to use. A recent patent application shows a creative way to do this: by storing quantum input and output data on a blockchain. In this article, we’ll explore why this matters, how it compares to what’s already out there, and what makes this invention stand out.
Background and Market Context
Quantum computing is a fast-growing field. Unlike regular computers, which use bits that are either 0 or 1, quantum computers use qubits. Qubits can be 0 and 1 at the same time, which lets quantum computers do some jobs much faster than regular computers. Big tech companies and research labs are racing to build better quantum machines, and many experts believe that quantum computers will soon solve problems that are impossible for today’s computers.
But quantum computers are not just about raw power. They need to work with input data (programs, parameters, or other information) and give output data (the results of a computation). This data is very valuable. It can include new drug formulas, secret business plans, or even encrypted financial information. Protecting quantum data from hackers or leaks is a big concern for anyone using these machines.
Today, most quantum computers are accessed using regular computers over the internet. The data sent to and from quantum machines usually passes through normal networks, cloud servers, or company computers. This means that while the quantum computer itself is secure due to the laws of physics, the data before it enters or after it leaves the quantum machine can be stolen or tampered with.
Blockchain technology is well known for keeping data safe and making sure it can’t be changed without everyone knowing. Blockchains are like digital ledgers or record books, where each page (block) is locked to the one before it. If someone tries to change a block, it breaks the chain. This makes blockchains very good for storing important information. Cryptocurrencies like Bitcoin and Ethereum use blockchains to keep track of money. But blockchains can also store other kinds of data, such as contracts, medical records, or, as this patent suggests, quantum computer data.
Combining quantum computers with blockchains creates a new way to store, share, and protect the special data that quantum computers use. This helps companies, scientists, and governments keep their quantum work private and safe, while still being able to access and use that data when needed. It also opens the door for new kinds of secure apps, where people can trust that their quantum data is safe even when it travels across the internet.
The market for quantum computing is expected to grow fast over the next decade. As more people use quantum computers for real-world work, the need to keep quantum data secure will only get bigger. That’s why inventions like the one described in this patent are so important right now. They help bridge the gap between cutting-edge machines and the real-world need for trust, privacy, and easy access to data.

Scientific Rationale and Prior Art
To understand why this invention matters, let’s look at how quantum computers and blockchains work, and what has been tried before.
Quantum computers use the strange rules of quantum physics to process information. When you run a quantum program, you first write the instructions (the input data) on a regular computer. These instructions are sent to the quantum computer, which then runs them and sends the results (the output data) back. The quantum machine itself is very secure because if someone tries to “peek” at a quantum state, it changes in a way that can be detected. But the weak link is the path the data takes before and after the quantum computer – mostly on regular computers and networks.
People have used many tricks to keep computer data safe, like encrypting files, using secure passwords, or storing data on locked-down servers. But these methods have limits. If the server is hacked or the password is stolen, the data can still be lost. Also, as quantum computers get better, they may be able to break some types of encryption that keep regular data safe today.
Blockchains are a newer way to store data. Each block in a blockchain holds some information, and each block is connected to the one before it using a special digital fingerprint called a hash. If one block is changed, all the blocks after it are changed too, making it very easy to spot tampering. Blockchains are also usually stored on many computers (nodes) at once, so there’s no single place where someone can attack. This makes blockchains good for keeping important records safe.
Before this invention, some researchers talked about using blockchains for digital contracts, medical data, or even supply chains. There have been a few patents and research papers about storing regular computer data on blockchains, or even using blockchains to prove that a quantum computer did a certain job (like a proof of work). But very few ideas have focused on directly storing the input and output of quantum computers on a blockchain, making sure the data is both secure and easy to use.
Most prior approaches have one or more of these problems:
– They only protect the data after it comes out of the quantum computer, not the data before it goes in.
– They rely on regular encryption, which might not be safe against future quantum computers.
– They focus on using blockchain for payments or contracts, not quantum program storage.
– They do not provide a way for both quantum and classical computers to interact with the blockchain to fetch and store data.

This patent stands out because it provides a complete system. It covers not just how to store quantum data on a blockchain, but also how to get that data back, how to use many kinds of blockchains (public or private), how to use smart contracts for extra security, and how to let both quantum and regular computers work together. It also explains how to use special tricks like zero-knowledge proofs, which allow someone to prove they have the right to see data without actually revealing the data itself.
In short, while there have been steps towards using blockchain for quantum data, this invention offers a much more detailed and practical solution. It connects the best parts of quantum computing and blockchain technology, giving users a way to keep their most sensitive quantum data safe throughout its entire journey.
Invention Description and Key Innovations
The invention described in this patent is a system and method for storing quantum computer input and output data on a blockchain. Let’s break down how this works in simple terms, and what makes it special.
The system includes several main parts:
– A quantum computer, which can be any kind (superconducting, trapped-ion, photonic, etc.)
– One or more regular (classical) computers that talk to the quantum computer
– A network of nodes (computers) that store one or more blockchains
– The blockchain(s) themselves, which can be public (like Ethereum or Bitcoin) or private (built just for quantum data)
Here’s how the system works in practice:
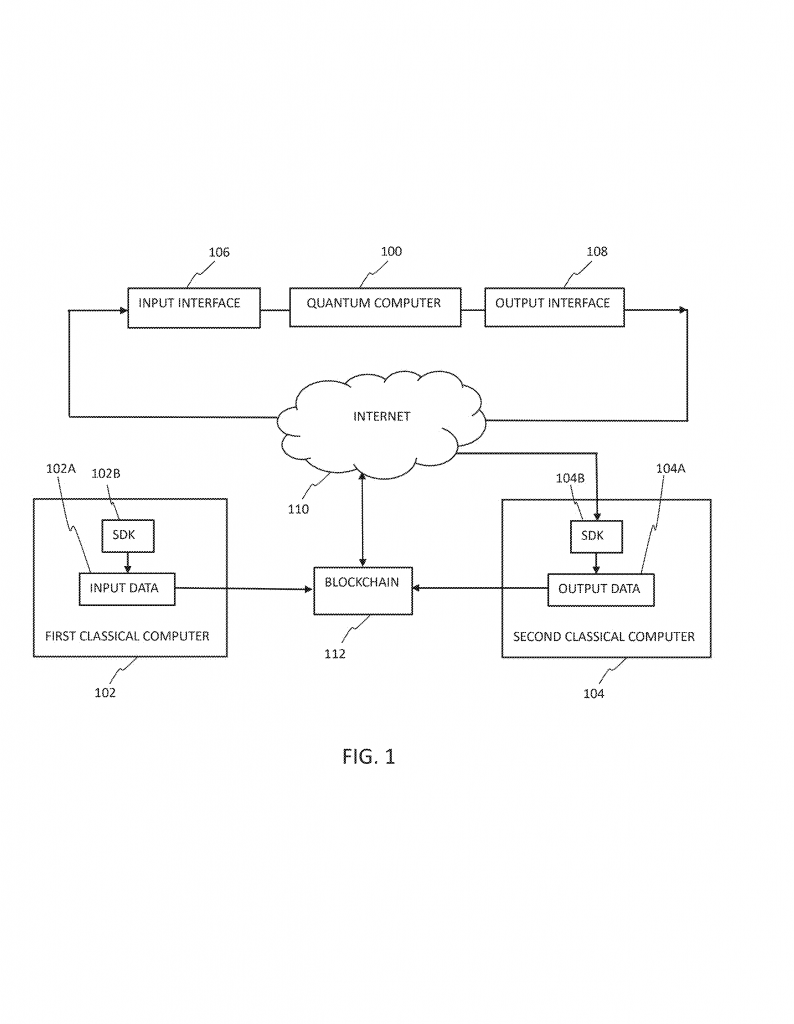
First, someone writes a quantum program or gathers input data using a regular computer. This program or data is added to a block in a blockchain. The blockchain might be stored on many computers around the world, or just within a company or cloud service. By putting the input data on the blockchain, it is locked in place – no one can change it without everyone knowing, and only people with the right keys or permissions can read it.

When the quantum computer is ready to do its job, it gets an instruction (from a regular computer) to fetch the input data from the blockchain. The quantum computer connects to the network, finds the block with the right data, and checks that it hasn’t been tampered with (using the unique hash or identifier). It then reads the data and runs the quantum program.
Once the quantum computer finishes, it produces output data. This output can be sent back to the regular computer, or stored directly in a new block on the blockchain. This way, the result of the quantum computation is safely recorded and can’t be changed later.
The patent covers several smart features:
– The ability to use different kinds of blockchains, including major public ones or custom private ones.
– The option to store either the data itself or just an address (pointer) to where the data lives in secure storage.
– Support for many types of quantum computers and programming kits (like Qiskit, Forest, Cirq, and more).
– The use of smart contracts, including ones using zero-knowledge proofs. This means a program on the blockchain can check if someone has the right to access data without showing the data itself.
– The ability to have one or more classical computers working together, either as a single machine or as separate ones for input and output.
– A method for the quantum computer to prove it has accessed or run the data, and to report results back to regular computers or add results directly to the blockchain.
One of the clever parts of this invention is the way it lets quantum and regular computers work together with the blockchain. For example, a regular computer can tell the quantum computer exactly where to find the input data (using a unique block hash or number). The quantum computer can then connect to any node on the network, fetch the right block, check that it’s valid, and use the data. This makes the system flexible and safe, since there’s no single point where someone can attack or steal the data.
Another important feature is the use of smart contracts and zero-knowledge proofs. These allow for even more control and privacy. For example, instead of storing the raw input data in plain text, the system can store a “proof” that the data exists and is correct, without showing the details to everyone. This is useful for sensitive work, like medicine or finance, where privacy is key.
The invention also describes how users can pay small fees (in digital currency) to use the blockchain, and how these payments can be recorded for audit or billing purposes. This helps companies or cloud services keep track of who used the quantum computer and when, without exposing private data.
Finally, the patent shows that the whole process can be automated using APIs (application programming interfaces) and software kits. This means that once set up, the system can run with very little human help, making it easy to use in the real world.
Some possible real-world uses for this invention include:
– Keeping scientific or business quantum data safe from hackers or leaks
– Letting different teams share quantum programs and results without losing control over their data
– Making sure only trusted users can run or see certain quantum computations
– Creating a record of who did what and when, for compliance or auditing
– Building new apps that combine quantum computing with trusted digital contracts and payments
In summary, this invention gives a practical way to store, protect, and use quantum computer data using a blockchain. It covers every step, from writing the quantum program, to running it, to storing the results, all while keeping things secure and easy to track.
Conclusion
Quantum computing promises to change the world, but it also brings new challenges in how we keep quantum data safe and easy to use. This patent application offers a smart and detailed solution: storing both the input and output of quantum computers on a blockchain. By bringing together the strengths of quantum technology and blockchain security, this invention sets the stage for safer, more reliable quantum computing in the real world.
As more companies, labs, and governments start to use quantum computers, systems like this will become even more important. They make it possible to trust that quantum programs and results are safe, private, and can’t be changed by mistake or by bad actors. For anyone interested in the future of secure computing, this invention is a big step forward.
Click here https://ppubs.uspto.gov/pubwebapp/ and search 20250365168.


