Seamless XR Streaming: Automatic Cinematic Mode Enhances VR Experience on Slow Connections

Invented by Osman; Steven
Let’s jump right in: XR (extended reality) headsets and games are fun, but sometimes the connection gets slow and everything just feels off. This new patent idea is about making those moments much better. Instead of leaving you stuck with a laggy, dizzying VR world, it switches the game to a simple 2D movie-screen style view, so you can keep playing or watching without trouble. Here’s how this works, why it matters, and what makes it new.

Background and Market Context
The world of gaming and entertainment keeps changing. XR, which includes virtual reality (VR) and augmented reality (AR), is becoming a big part of games, learning, and even work. XR headsets let you step inside digital worlds or add cool effects to the real world. But XR needs a lot of power and a fast connection. When things slow down, the XR experience can break apart. This isn’t just annoying—it can make people feel sick or lost.
Imagine you are playing a VR game and suddenly the screen freezes or gets choppy. Your eyes and brain don’t agree about what’s happening. For many, that means headaches or even motion sickness. Game companies and device makers know this is a big problem. If people get sick, they stop playing. If the tech is too hard to use, they might not try it again. This is why XR has a problem with keeping people happy when the internet (or the device) can’t keep up.

The demand for XR is growing fast. More people are buying VR headsets and trying AR games on their phones. Streaming games over the internet (instead of downloading them) is also becoming more normal. But streaming XR games makes things even harder. Sending all that 3D video and tracking data back and forth needs a super-fast and steady connection. If the connection drops, so does the fun.
Companies want to solve these issues because XR could be used for a lot of things—games, movies, school, and even job training. If the experience isn’t smooth, people will not want to use XR for anything important. So, the industry is looking for ways to make XR more reliable, simple, and enjoyable, even when things go wrong.
Scientific Rationale and Prior Art
Why do XR games get so hard to use when the connection is slow? XR needs to show you images that match your head movements nearly instantly. If there’s a delay (called “latency”), your eyes see one thing while your body feels another. Even a small delay can cause confusion, dizziness, or nausea. Computers and game consoles try to keep up by working harder, but if they get too hot or the internet slows down, latency goes up.
Other games—like simple 2D games or movies—don’t have this problem as much. You can watch a movie with a little delay, and you might not even notice. But XR is different because it reacts to you in real time. When something breaks, there isn’t a good backup plan right now—usually the game just freezes, or it keeps going in a way that feels broken.

Some older solutions try to lower the quality of the graphics or pause the game when things get bad. Others might switch to a simple screen with a message saying “connection lost.” But these don’t really solve the problem. They interrupt the experience and leave the player feeling lost or frustrated. Some game systems let you switch between VR and TV screens, but you need to do it yourself, and it’s not very smooth.
There are also some ideas about using artificial intelligence to control your character if you step away, but those don’t address the experience of switching modes when latency is high. Most solutions are manual—you have to choose to change something—or they just stop the action. No one has made a system that automatically and smoothly changes from XR to a 2D movie-like view when latency gets too high, or that lets you keep going in a way that feels natural.
This new invention is different. It watches for high latency and then does something smart: it switches to a 2D “cinematic” mode, like watching the game on a movie screen, inside your headset or even on a different device. It can even pause the game, switch controls, or let an AI take over your character for a while. When things get better, it can smoothly switch you back, with a simple prompt. This keeps you in the game and in control, no matter what happens with the connection.
Invention Description and Key Innovations
This invention is about making XR more reliable and user-friendly. Here’s how it works, in simple terms:

When you’re playing an XR game or using an XR app, the system keeps an eye on something called “latency”—how long it takes for data to go back and forth between your headset and the game server or computer. If the latency gets too high, the system knows the experience is about to get bad. Instead of letting things get worse, it acts right away.
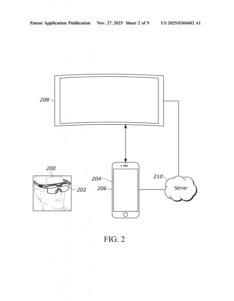
The system automatically switches the game from full 3D XR mode to a 2D mode. In this 2D mode, the game looks more like a movie playing on a big screen inside your headset. Sometimes, this screen is shown inside a virtual theater—so it still feels like you’re somewhere special, but it doesn’t need as much power or a fast connection. You can keep watching or even keep playing, but now it’s in 2D, which is much easier for the system to handle during slow times.
In some cases, the 2D version of the game can show up on your phone or even on a real TV screen, if you want. The system is smart enough to know which display to use. You don’t have to do anything special—the switch happens automatically, or you get a prompt to choose.
The system can also do extra things to help you. It might pause the game if it thinks it’s too hard to play in high latency. It can switch your controls from motion-sensing (which need fast updates) to simple joystick controls, which are easier to handle when things are slow. If you’re in the middle of something important, it can let an AI take over your character until you’re ready again. And if you want to see what’s happening in the real world, it can turn on video pass-through, so you see your room through the headset, along with the 2D game screen.
When the connection gets better, the system watches for the latency to drop below a safe level. Then it gives you a prompt: “Do you want to go back to XR?” If you say yes, it smoothly switches you back. If you want to stay in cinematic mode (maybe you know things are still a bit shaky), you can. You’re always in control.
The technology works on lots of devices—XR headsets, game consoles, TVs, and smartphones. It can also work with both streamed games (from the cloud) and local games (running on your own device). Everything happens with as little interruption as possible, so you don’t lose your place or get pulled out of the experience.
Some smart ways this invention stands out:
It’s automatic. The system notices latency and acts on its own, so the user doesn’t have to do anything. This is key for comfort and safety.
It’s flexible. The system can show the 2D fallback on whatever screen makes sense: inside the headset, on your phone, or on another display.
It’s immersive, even in fallback. By putting the 2D game on a movie screen inside a virtual theater, the experience still feels special and connected to the game world—not just a boring error message.
It helps with controls and AI. The system can change how you control your character or let an AI take over, so you’re not stuck.
It uses prompts and gives you choices. When things get better, you’re asked if you want to go back to XR mode, giving you control over your comfort.
It works with both streaming and local games, meaning it can help in many different situations, not just cloud gaming.
Overall, this invention makes XR less risky to use and more enjoyable, even when things go wrong. It keeps people playing, watching, and engaging with XR experiences safely and smoothly, no matter what’s happening behind the scenes.
Conclusion
XR is exciting, but only when it works well. This new technology is a safety net for when things slow down. By smartly switching from immersive 3D worlds to a simple 2D movie-like view, it keeps you comfortable and connected, even if the network or device is struggling. This means fewer headaches, less frustration, and more enjoyment for everyone, whether you’re a gamer, a student, or just exploring new worlds. As XR grows, inventions like this make the future of digital experiences brighter and safer for all.
Click here https://ppubs.uspto.gov/pubwebapp/ and search 20250360402.


