Revolutionizing Supply Chains: Hybrid AI Optimizes Large-Scale Distribution Networks for Maximum Efficiency

Invented by Jaiswal; Shiv Krishna, Gurumoorthy; Karthik Sundaresan, Jain; Ankit Ajit, Manchenahally; Shantala Narasimha Murthy
Today, we’re going to walk through a modern system for optimizing how resources and goods move across large networks, as revealed in a recent patent application. Our focus is on making it simple, practical, and clear. If you work in logistics, IT, or manage complex supply chains, you’ll find plenty to chew on. Let’s get started by placing this invention in its real-world context, then step into the science behind it, and finally, break down what makes this approach unique.

Background and Market Context
Every day, companies face the tough job of getting the right products to the right places, at the right time, and at the right cost. This could mean moving toys from a factory to stores before the holiday rush, shipping food to supermarkets, or allocating computing resources in a cloud network. No matter the product, the challenge is the same: how do you meet demand everywhere, using your resources wisely, and not waste time or money?
In the past, most companies used simple rules or basic math to plan these deliveries. Think of it like a school schedule, but for trucks, warehouses, and stores. These rules might say, “Send a truck every Monday,” or “Always keep 100 items in stock at every location.” But real life is messy. Traffic jams happen. Weather changes. Some stores sell out faster. Sometimes, you get too much of one item and not enough of another.
As companies grew larger and customers wanted faster delivery, these old methods started to break down. Small mistakes led to big losses: empty shelves, wasted space, or trucks driving half-empty. The rise of online shopping and global trade only made things more complex. Today, companies need to react quickly to changes, handle many moving parts, and keep costs low—all at once.
This is where new technology steps in. With more data and smarter computers, businesses can now look at their whole network in real time. They can see where things are running low, which trucks are available, and what’s happening in the market. But to truly use this information, they need better ways to plan and optimize. No longer is it enough to follow simple rules—networks need to adapt, predict, and make smart choices on the fly.
The patent application we’re examining aims to solve these problems. It introduces a hybrid system that mixes clever guesses (called heuristics), advanced math (like linear programming), and smart computer models to find the best way to move goods or resources. It’s not just for warehouses or trucks; it can work in any network—physical or digital—where resources need to be managed and delivered.

In short, the market is hungry for better, faster, and more flexible tools. Whether you’re a retailer, a logistics provider, or a cloud services company, you need systems that can keep up with real-world changes and help you stay efficient. This patent represents a new chapter in that story, promising a smarter way to handle the growing web of supply and demand.
Scientific Rationale and Prior Art
Before this invention, most distribution systems relied on what we call “heuristic” or rule-based planning. A heuristic is basically a shortcut or a best guess—like when you leave for work 10 minutes early just in case there’s traffic. In networks, these shortcuts might look like always sending a shipment on the same day, or always keeping a minimum stock at each location.
Heuristics are simple and fast, but they have big downsides. They don’t handle special cases well. When something unexpected happens—a storm, a big sale, or a truck breakdown—the old rules often fail. Even worse, these methods ignore important limits, or constraints, like how much can fit in a truck, how many workers are available, or how many deliveries a store can actually handle in one day. When these details are ignored, the plan might look fine on paper, but it falls apart in real life.
Some systems tried to fix this by adding more rules. For example, if a shipment won’t fit in a truck, the system might split it up or delay it. If a store runs out of space, it might reduce the next shipment. But each new rule makes the system more complicated and harder to manage. Over time, these systems become slow, confusing, and hard to fix. They also tend to make less-than-optimal choices, leading to wasted resources, higher costs, or empty shelves.
Another approach that’s been used is called “periodic planning.” Here, the system updates its plan once a week, or once a day, based on the latest information. While better than never updating, this method still can’t react instantly to changes, like a sudden spike in demand or a breakdown in the network. In today’s world, waiting even a few hours can mean missing out on sales or upsetting customers.
To address these gaps, researchers and companies have looked at more advanced tools. One popular method is “Mixed Integer Linear Programming” (MILP). Without getting too technical, this kind of math helps you find the best way to allocate limited resources (like trucks, labor, or bandwidth) to meet demands, while following all the necessary constraints. Think of it as a super-powered calculator that considers every possible combination, then picks the best one.
MILP is powerful, but it can be slow and hard to set up, especially for large networks. It also needs good input data—like accurate forecasts of what each location will need, and up-to-date info on what’s available. That’s where machine learning comes in. By using data from the past, these systems can make better guesses about the future—like how much of each item a store will sell next week, or how many trucks will be available tomorrow.

Even with these tools, the biggest challenge is bringing everything together: making sure the forecasts, the constraints, and the optimization engine all work as one. Most prior art in this area either focused on one part—like better forecasting, or faster optimization—or used separate systems that didn’t talk to each other well. As a result, the plans were still not as good as they could be, and changes in one area often broke the whole system.
This is why the new hybrid approach in the patent is important. It doesn’t just improve one part—it ties together better forecasting, constraint handling, and advanced optimization in a single, flexible system. It also allows for real-time updates and can adapt to changes as they happen. By doing this, it avoids the pitfalls of old rule-based systems and the slow, rigid nature of classic optimization tools.
With this background, you can see that the scientific rationale for the invention is strong. It aims to fix the real, practical problems companies face today, using the best of modern math and computing. It also stands apart from earlier solutions by focusing on seamless integration and adaptability, not just isolated improvements.
Invention Description and Key Innovations
Let’s dig into what this patent actually covers and why it matters.
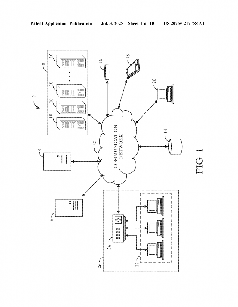
At its heart, the invention is a system and method for optimizing how resources are distributed in a big network. Imagine a network of warehouses and stores, or a cloud computing system with many servers and users. The invention’s goal is to answer: “How do we use our resources to meet everyone’s needs, at the lowest cost, while staying within our limits?”
The system uses a computer with memory and a processor. It starts by receiving a request to optimize the network. This request might come from a manager, a planning tool, or an automatic trigger when something changes in the network. The system then does several key things:
1. Heuristic Demand Generation: The system first makes a smart guess about what each “demand node” (like a store, server, or user) will need. It uses machine learning models, rules, or both, looking at past data and current trends. This is not just a wild guess—it’s an educated forecast, often including a “buffer” to handle surprises and keep things running smoothly.

2. Distribution Channel Capacity Prediction: Next, it figures out how much capacity is available in each “distribution channel” (like a truck route, a data connection, or a shipping lane) that connects the supply to the demand. This step uses models to predict what’s possible, considering limits like truck sizes, worker shifts, or network bandwidth.
3. Optimization Using Mixed Integer Linear Programming (MILP): Now comes the heavy lifting. The system takes all the predicted demands and available capacities, then runs them through a MILP framework. This math engine weighs the costs of different choices, considers priorities, and applies all the real-world constraints. It can balance things like:
– Allocation cost (how much it costs to send a given item to a location at a certain time)
– Prioritization cost (giving preference to more important deliveries or users)
– Minimum capacity cost (penalties for sending out shipments that aren’t full, or for under-using resources)
4. Iterative Batched Submodular Process: To make the optimization faster and more practical, especially in big networks, the system sometimes uses a clever trick called “iterative batched submodular processing.” In simple words, it groups similar requests together and assigns resources in batches, always choosing the option that gives the most benefit at each step. It keeps updating as it goes, making sure choices remain the best as the situation changes.
5. Data Storage and Dynamic Updates: Once the best plan is found, the system saves it in a data storage system. But it doesn’t stop there. If something in the network changes—a truck breaks down, demand spikes, or a new store opens—the system can take in “feedback” and quickly update its plan, keeping things running smoothly.
What sets this system apart is how all these parts work together, automatically and in real time. It’s not just a better forecast, or a faster optimizer, or a smarter constraint handler—it’s a single platform that brings them all together. The models can be trained and improved over time, learning from real results to get even better at predicting and optimizing.
Here are some practical examples of how this plays out:
– In a supply chain, the system can ensure stores never run out of top-selling items, while also keeping trucks full and cutting down on wasted trips.
– In a cloud network, it can allocate computing power to users in a way that keeps performance high and costs low, even as workloads shift during the day.
– For a delivery company, it can plan routes and loads that react instantly to traffic jams, weather alerts, or last-minute orders.
The system also handles many types of constraints, like storage limits, labor schedules, delivery windows, and more. It can make tough trade-offs automatically, like deciding whether it’s better to send a half-full truck now or wait for a full load later.
Another big innovation is the use of “incremental gain” in the batch process. The system always picks the next best step—the action that brings the most improvement at that moment. As it assigns resources, it recalculates to make sure each next move is still the smartest one. This helps avoid getting stuck with a bad plan just because it looked good at the start.
Finally, the system is built to scale. Whether your network has 10 nodes or 10,000, it can adapt, update, and optimize as needed. It’s designed for real-world messiness, not just perfect textbook cases.
Conclusion
The patent we explored today introduces a new way to solve one of the hardest problems in business and technology: how to distribute resources efficiently across a large, changing network. By combining accurate demand forecasting, real-time capacity prediction, advanced optimization math, and dynamic feedback, this invention creates a system that’s smarter, faster, and more flexible than what came before.
If you manage a supply chain, run a logistics company, or operate a large IT network, these ideas point the way forward. They promise less waste, lower costs, and happier customers. The system is practical, scalable, and ready for the challenges of today’s fast-moving world. As networks grow and demands change ever more quickly, tools like this will become essential for staying ahead of the curve.
Thanks for joining this deep dive. Keep an eye on this space—hybrid optimization is just getting started, and the best is yet to come.
Click here https://ppubs.uspto.gov/pubwebapp/ and search 20250217758.


