Longer-Lasting Lithium Batteries: New Electrode Design Boosts Reliability for Electric Vehicles and Devices

Invented by DOO; Jae Gyun, PARK; Seung Young, KIM; Gwi Jae

In today’s world, batteries are everywhere. From cell phones to electric cars, we need batteries that last longer, work safely, and can be trusted. A new patent application brings a fresh solution to a big problem in rechargeable lithium batteries. Let’s break down why this matters, what came before, and how this new invention stands out.
Background and Market Context
Rechargeable lithium batteries power the modern world. We find them in our phones, laptops, electric bikes, power tools, and even the cars we drive. As our need for portable power grows, so does the push for batteries that are safe, last longer, and perform better.
In the past, low-capacity batteries were enough for small gadgets like cameras and cell phones. Now, we need bigger batteries for things like electric vehicles and energy storage systems. These uses demand batteries that can handle a lot of charging and discharging, often under tough conditions.
As battery packs become more complex, engineers string together many cells in modules to boost power and run time. This makes each little weakness in the battery design much more important. If one cell fails, it can harm the whole pack. Reliability, then, is key.
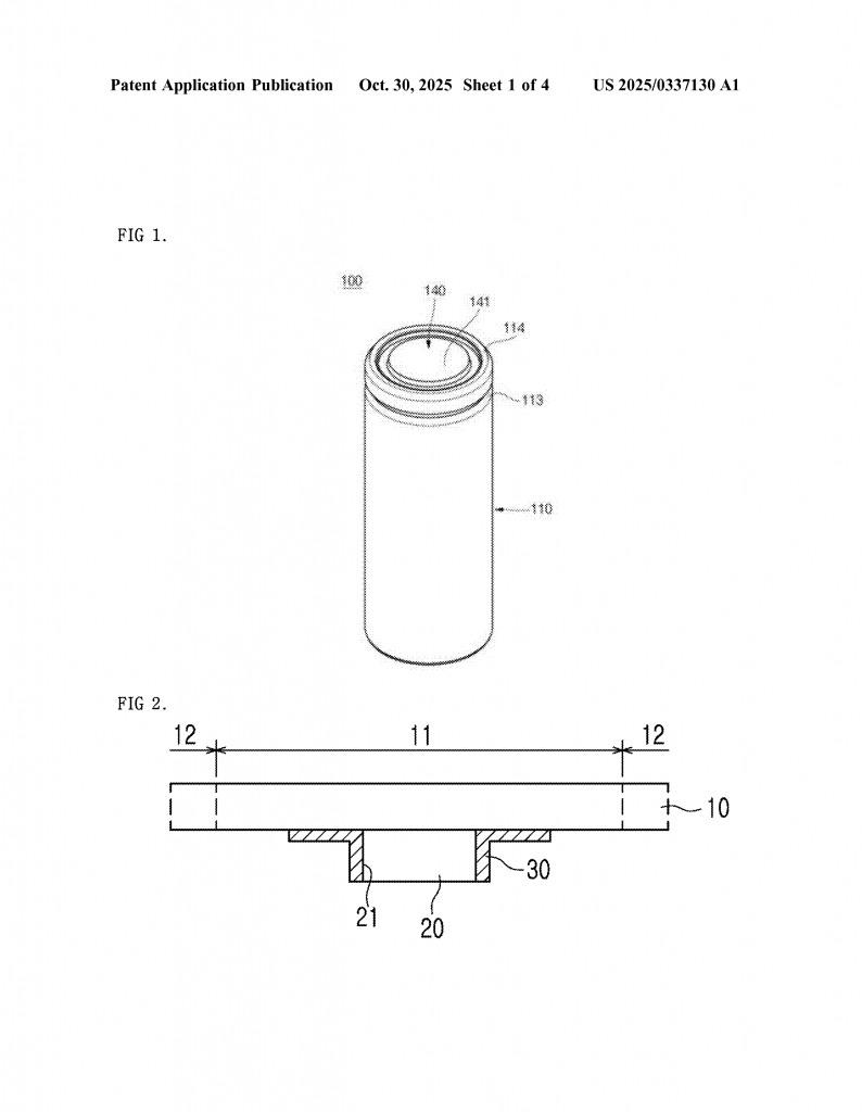
One critical part of the battery is the electrode assembly. This is where electricity flows in and out of the battery. Inside, thin metal sheets called current collectors carry electric charge, while special materials on their surfaces store and release energy. Tabs connect these collectors to the outside world, letting current flow during charging and use.
But there’s a problem: The way tabs are joined to the current collectors can lead to cracks over time. As batteries charge and discharge, parts inside expand and squeeze together. This puts a lot of stress on the joints where tabs meet the rest of the collector. If a crack forms here, the battery loses capacity, heats up, or even fails. In the worst cases, this can cause safety problems.
To stop this, standard battery designs use special tapes or adhesives around the tabs. But these are not always enough. As batteries get bigger and work harder, cracks still form, and weak spots appear. This shortens the battery life and can cause dangerous failures.
With electric vehicles, power tools, and even home energy storage becoming more common, the market is desperate for better solutions. Battery makers want simple, effective ways to make batteries that are both durable and safe. Any improvement that prevents cracks and boosts the lifespan of batteries is a big step forward.

This new patent looks at this exact problem. It offers a new way to secure the tabs in the electrode assembly, aiming to stop cracks before they start. If successful, it could mean longer-lasting batteries for everything from your phone to your car, making the world a little more reliable and safe.
Scientific Rationale and Prior Art
To understand why this invention matters, we first need to look at how lithium batteries work and what has been tried before. Inside every battery, there are many thin layers, each doing a special job. The most important layers are the electrodes—one positive, one negative—separated by a thin film called the separator.
Each electrode has a metal sheet called a current collector. For the positive side, it’s usually aluminum; for the negative, copper. On top of these sheets, manufacturers put active materials that can store and release lithium ions. Tabs are attached to parts of the current collector that have no active material. These tabs connect to the outside of the battery, letting current flow in and out during use.
In standard designs, the area where the tab meets the current collector is a weak spot. During charging and discharging, the active material layers expand and squeeze, pressing on the collector and the tab. Over time, this repeated stress can make the collector bend or stretch near the tab. If the metal reaches its limit, it cracks. These cracks increase resistance, create heat, and can make the battery unsafe.
To fight this problem, battery makers have used heat-resistant tapes or adhesives. These cover the area around the tab, hoping to keep everything in place and stop short circuits. Sometimes, extra films are glued on to support the area. While these tricks help, they don’t fully solve the crack problem. The hollow space under the tab can still let the collector bend too much, and the tapes can peel off or shift during cycling.
Past inventions have tried several approaches:
- Using stronger tapes and adhesives, hoping to hold the tab tighter.
- Adding extra support layers, like thicker films, to the tab area.
- Changing the way the tab is welded or bonded to spread out the stress.
- Designing the tab shape to better match the collector’s movement.

But these fixes have drawbacks. Stronger adhesives can be hard to work with or may not stick well over time. Extra films add cost, weight, and make assembly harder. Changing tab shapes can complicate manufacturing. And none of these truly solve the root cause: the hollow space next to the tab, which lets the collector deform and crack.
On top of that, many adhesives and tapes are not great at handling heat or repeated cycling. They can break down or lose their grip over time, especially in high-capacity batteries that get warm during use.
Scientists have also explored using different materials for the collector or tab, hoping to find metals that are more flexible or stronger. However, this often means higher costs or changes to the battery chemistry, which can be risky.
In summary, the prior art is full of patches and workarounds, but no one has fully solved the crack problem at the collector-tab joint. The need is for a simple, strong, and reliable way to secure the tab, one that can survive years of charging and discharging without adding too much cost or complexity.
This new patent steps into this gap. It borrows ideas from plastics and film technology, using a thermoplastic resin to secure the tab in a new way. By filling the hollow space and bonding the tab to the collector, it aims to stop the flexing and bending that leads to cracks. If it works as claimed, this is a big improvement over past solutions.
Invention Description and Key Innovations
Let’s look at what the new patent proposes and why it could change battery design for the better.
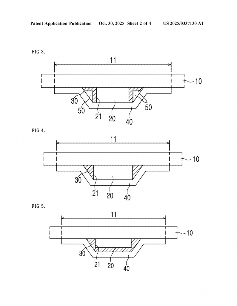
At its heart, this invention rethinks the way the tab is attached to the current collector. Instead of just welding or taping it on, the inventors use a special thermoplastic resin to bond the side of the tab directly to the current collector. This resin melts when heated, flows into place, and then hardens as it cools. The effect is like gluing the tab in place with a strong, flexible plastic that fills all the gaps.
Here’s how it works in practice:

A tab is placed on the lower surface of the current collector, at a spot where there’s no active material. Along the side of the tab, a securing member made from thermoplastic resin is applied. This resin is heated until it melts, then pressed so it flows around the tab and bonds it to the collector. When it cools, it forms a solid, continuous connection along the tab’s side and the collector.
This design has some key advantages:
First, by filling the hollow space next to the tab, the resin stops the collector from flexing too much in this weak spot. It acts like a bridge, spreading out stress and making cracks much less likely during battery cycling.
Second, because the resin is thermoplastic, it can be shaped and bonded easily during manufacturing. It also holds up well under repeated cycling and temperature changes, staying strong where tapes or adhesives might fail.
The patent goes further, describing ways to make the bond even better. A special film (called the first film) can be placed on the bottom of the tab before the resin is added. This film is chosen to be heat-resistant and may even conduct heat, helping in both assembly and operation. The resin can fill the space between the film, tab, and collector, making the whole area strong and tightly bonded.
The inventors also describe how much resin to use. They give simple formulas based on the size of the tab and the width of the area being filled. By making sure at least half (and up to all) of the space is filled with resin, they ensure the best possible strength and reliability.
Variations in the design are possible. The resin can be used as a layer, a film, or as a shaped piece with a set cross-sectional area. Extra adhesive layers can be added between the film and the collector for even more strength if needed, but the main bond comes from the thermoplastic resin.
The choice of materials is important. The resin can be made from common plastics like polyethylene, polypropylene, polyamide, polyacetal, polystyrene, or polycarbonate. These are widely available, safe, and cost-effective. The film underneath can be a polyester, polyimide, or polypropylene film, chosen for its heat resistance.
The patent also covers ways to make the assembly. One method is to place the tab, add the resin and film, and then use heat and pressure to melt and bond everything together. This makes the process simple and easy to fit into current battery factories.
When used in a battery, this new electrode assembly can prevent the cracks that have plagued previous designs. By stopping cracks from forming near the tab, the battery stays reliable, holds its capacity, and runs cooler. This means longer life and better safety.
The patent claims also cover batteries using this assembly, especially rechargeable lithium batteries. This means the invention is meant for real-world products like electric cars, bikes, phones, and more.
In summary, the key innovations are:
- Bonding the side of the tab directly to the collector with a thermoplastic resin, not just tapes or glue.
- Filling the hollow space around the tab to stop flexing and cracks.
- Using heat-resistant films to support and protect the area.
- Simple, scalable manufacturing methods that fit existing battery production.
- Wide choice of safe, common plastics for cost-effective use.
- Clear guidelines for filling the space to ensure strength.
This is a clean, clever solution to a nagging problem in battery design. It promises stronger, more reliable batteries with little extra cost or complexity.
Conclusion
Keeping batteries safe and reliable is more important than ever. As we put batteries into bigger and more powerful machines, we need to solve old problems like cracks at the tab joints. This new patent offers a simple, effective way to make electrode assemblies stronger and longer lasting.
By using a thermoplastic resin to fill and bond the area where the tab meets the current collector, this invention stops cracks before they start. The approach is easy to use, fits into present battery factories, and uses safe, common materials. The result is a battery that lasts longer, stays safer, and keeps up with the demands of modern life.
For battery makers, engineers, and anyone interested in better, longer-lasting batteries, this invention is worthy of attention. It’s a great example of how small design changes can make a big difference in the real world.
Click here https://ppubs.uspto.gov/pubwebapp/ and search 20250337130.


