Headline: AI Tool Empowers Non-Experts to Train Custom Machine Learning Models Through Simple Q&A SEO Focus: machine learning collaboration, AI for business, non-expert AI training, custom AI development

Invented by NOURI; Elnaz, MISHRA; Swaroop Ranjan, Microsoft Technology Licensing, LLC

Today, more and more people use computers and smart devices to help with daily tasks. Sometimes, it can be hard to tell a computer exactly what you want, especially if you are not an expert. A new patent application describes a smart way for computers to ask you questions about your task, collect your answers, and then complete the work for you. Let’s break down what this new idea is about, why it matters, and how it stands out from what came before.
Background and Market Context
Imagine telling your phone or computer to write an email, make a plan for your trip, or even create a wedding invitation. Many devices now use artificial intelligence (AI) models, like those that power chatbots or smart assistants, to help with these jobs. But here’s the problem: most people don’t know exactly what information a computer needs, and computers can’t always guess what you want. This often leads to confusion, lots of back-and-forth, or results that don’t quite hit the mark.
People like simple, quick solutions. If you’re not a tech expert, you want the computer to “just do it” after you give it some basic info. But for the computer, getting the right info at the start is key. If it doesn’t, it might make mistakes or need help fixing its work, which takes more time. This makes it harder for everyday people to use these smart tools easily and get what they want on the first try.
That’s why there’s a big need for a better way. Companies and users want AI systems that are easy to use for anyone, not just techies. Businesses are racing to make AI tools that can ask smart, simple questions, collect your answers, and then deliver the result you need. If you can guide the computer step-by-step with easy questions, it can do tasks like writing, booking, or planning with less confusion.
This patent application addresses that exact need. It describes a system where the AI creates questions based on your request, collects your answers, checks if the answers are good enough, and then uses them to finish your task. This approach is meant to make AI work for everyone, not just experts, and helps users get better results with less hassle.

Scientific Rationale and Prior Art
Before this invention, most AI systems worked in two main ways. Some needed detailed instructions from users—something not everyone can provide. Others used simple commands, but often misunderstood what the user wanted, leading to wrong or incomplete results.
The science behind AI language models is about teaching computers to understand and create human language. There are two main styles: supervised learning, where the AI learns from many examples with answers provided, and unsupervised learning, where the AI finds patterns in lots of written text but isn’t told what to look for. For many tasks, unsupervised learning is used to make general-purpose AI models like GPT or BERT. These models know a lot, but they are not always trained for one specific task—like making a travel plan or writing a wedding invite.
In the past, some systems tried to help by offering templates or fixed forms. Others used decision trees, where the computer asks a set of pre-planned questions in a fixed order. But these systems can be rigid, not flexible. They don’t adjust well to new or changing tasks, and they often don’t understand the meaning behind your answers. If you answer in a way the system doesn’t expect, it might get stuck or give up.
Other AI systems tried to learn from user feedback. If you said the result was wrong, they would try to fix it next time. But this can be slow, and it still doesn’t help the computer know what to ask in the first place.
Some chatbots and smart assistants today can do a bit better. They can ask follow-up questions if they get confused. But they often rely on scripts written by people, not on real AI understanding. These scripts need to be updated by experts, which takes time and limits what the system can do.

The new patent idea builds on these older methods but makes a key change: it uses a general AI model—one that wasn’t trained for just one job—to create its own set of questions for any task you ask. Then, it checks your answers to make sure they make sense, asks more if needed, and only then finishes the task. This makes the system smarter, more flexible, and able to help with many kinds of requests without needing lots of custom scripts or expert updates.
Invention Description and Key Innovations
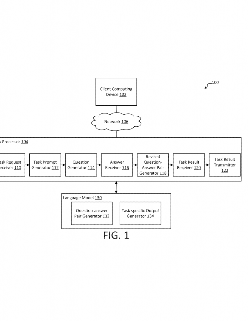
The heart of this patent is a method that helps AI complete tasks by first asking you the right questions, based on what you want. Here’s how it works, step by step, in very simple language:
First, you make a request. Maybe you say, “Write me a wedding invitation.” The system takes your request and runs it through a smart AI model, like a big language model. This model wasn’t trained just for wedding invites; it can handle many tasks because it has learned from huge amounts of text.
Next, the AI model creates a list of questions it needs to ask you. For the wedding invite, it might ask: Who is getting married? What is the date? Where is the event? Is there a dress code? These questions come from the AI’s own knowledge, not from a fixed script. If you give a keyword, like “formal” or “outdoor,” the AI can adjust its questions to fit.
The system shows you these questions, either all at once or one by one. You answer them, maybe by typing or choosing from options. The system checks your answers to see if they make sense. If you leave something out or give an odd answer, the AI can ask for more details or clarify what it needs.

When all the needed answers are collected, the system puts your answers together with the original questions, and sends them back to the AI model. Now, the AI uses your answers to create the final result—the wedding invitation, in this case. The output is smart, complete, and personalized, because it uses both what you asked for and what you answered.
If the first result isn’t quite right, you can give feedback. The system can update the output based on what you say, making it even better.
Here’s what makes this invention stand out:
1. Dynamic Question Generation: The AI builds its questions on the fly, based on your request and its own knowledge. It doesn’t rely on fixed forms or templates, so it can handle many kinds of tasks, even ones it never saw before.
2. Answer Checking and Follow-Up: The system doesn’t just accept any answer. It checks if your answer matches what it expects for the question. If not, it asks for more details or another answer. This keeps the process smooth and helps make sure the final output is correct.
3. Works with General AI Models: The invention uses AI models that were trained on lots of general text, not just for one job. This means it can help with many tasks without special re-training.
4. Personalization Without Overload: By asking clear, simple questions, the system makes sure you only give the info it needs—no more, no less. This keeps things easy for you, even if you’re not a computer expert.
5. Feedback and Improvement: If you don’t like the result, you can give feedback, and the system can use this to improve the output or the questions it asks next time.
6. Efficient for Many Uses: The method can be used for writing, planning, answering questions, and more. It can be used on phones, computers, or any device with a smart AI model.
Because the system asks you questions in a smart way, you don’t have to know all the right instructions. The AI guides you, step by step, making the process less stressful and more accurate. It’s like having a helper who knows what to ask, listens to your answers, and builds what you need—without making you do the hard work.
Conclusion
This new patent application introduces a clever way for AI to help everyone, not just experts, get their tasks done. By having the AI create its own questions for any request, check your answers, and build the result for you, the system makes smart technology easier to use for all. It solves a big problem in today’s AI world: making sure computers get the info they need, in a way that feels natural to people. With this approach, users can expect better results, less confusion, and a smoother path from idea to finished product.
As AI tools become more common in homes and offices, inventions like this will help bridge the gap between people and machines. The future is about making technology work for everyone, and this patent is a big step in that direction.
Click here https://ppubs.uspto.gov/pubwebapp/ and search 20250336392.


