Cutting AI Cloud Costs: Smarter Pipeline Execution Selects Providers for Efficient Resource Use

Invented by DeWeese; William, Marshall; John, Manton; John, Reagan; Spencer, Stuntebeck; Erich

Artificial intelligence is changing the world, but running AI systems can use up a lot of resources and money. A new patent application explains a smarter way to run AI pipelines. This article will help you understand what the invention is, why it matters, and how it changes the way we use AI.
Background and Market Context
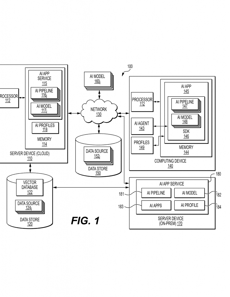
AI is now everywhere. From smart assistants on your phone to programs that help doctors and businesses, AI is part of daily life. But building and running these AI systems is not easy. Most companies want to make their own AI pipelines – a set of steps where data moves from start to finish, getting processed by different AI models along the way. Each step can use lots of computer power, memory, and special chips called GPUs. These resources are not free. The more you use, the more you pay.
Today, companies often use services from big cloud providers called “hyperscalers.” These are companies like Amazon, Google, or Microsoft. They offer AI models and tools you can use over the internet. But the cost and speed of these services change all the time. Sometimes it is fast and cheap, other times it can be slow and expensive, depending on the time of day, network traffic, and how many other people are using these services.
Most businesses set up their AI pipelines to always use the same provider for a certain task. Once set, it is hard to change. If the provider gets expensive or slow, the pipeline keeps running anyway, wasting money and time. Changing to another provider is not easy. You might need to rewrite code, test everything again, and deal with new problems. This lack of flexibility can cost companies a lot.
On top of this, many companies use more than one dataset and model at a time. Some steps might need image recognition, others might need to answer questions using language models. Sometimes, the rules for what you can do with certain providers change. For example, a provider may say you cannot use their AI for health questions, or may suddenly raise prices. If your pipeline uses that provider for health, you could break the rules without knowing, or be surprised by big bills.

There are also privacy and security concerns. Some data is sensitive and cannot be shared with just any provider. Rules about where data can be processed (for example, in a certain country) or who can see it can make things even harder.
In summary, the current way of building and running AI pipelines is slow to adapt. Companies need to keep costs down, follow rules, and make sure their data is safe. But with the tools available today, it is hard to do all this at once.
Scientific Rationale and Prior Art
To understand the value of the new patent, it helps to know what has been tried before and why those ideas fall short. Traditional AI pipelines often look like simple chains. Data goes in, moves through a series of fixed steps (like cleaning, searching, and then running through an AI model), and comes out the other end. Every step is programmed to use a certain service or provider. If you want to change where a step runs (for example, move from Google’s language model to Amazon’s), you must edit code, update settings, and retest the whole setup.
Some companies have tried to make things more flexible using “middleware” – software that sits between your pipeline and the cloud providers. These systems can help a little, but most are limited. They may let you switch providers by changing a setting, but they do not watch for real-time changes in prices, speed, or rules. They also do not help with complex choices, like splitting work between providers based on the type of job, the time of day, or the cost right now versus later tonight.
Other tools focus on monitoring costs after the fact. They can show you how much you spent at the end of the month, but they cannot change how your pipeline runs in real time to save money as conditions change. Some systems let you schedule jobs to run at night when things are usually cheaper, but you have to set this up yourself and hope the savings are still there when the job actually runs.

When it comes to following rules and policies, like making sure you do not use a provider in a way that breaks their terms of service, most current systems do not check this. If a provider changes their rules, your pipeline may keep running in a way that is now forbidden, and you might not find out until there is a problem.
There are also some systems that track which devices and users are allowed to run certain pipelines, but these are often separate from the AI pipeline tools. Keeping everything in sync is hard, and mistakes can be costly.
In short, the old way is like driving a car without a dashboard, GPS, or even a rearview mirror. You set your route once, and if the road ahead changes or a better way opens up, you keep going the same way, even if it costs more or breaks the rules. What is needed is a smarter system that watches the road ahead, checks the rules, and steers you to the best path, all in real time.
Invention Description and Key Innovations
The new patent application describes a system that brings flexibility and intelligence to AI pipelines. Here is how it works, step by step:
1. User-Friendly Pipeline Builder
The system provides an easy-to-use interface. You can build your own AI pipeline by dragging and connecting “blocks” that represent different tasks, like getting data, running a model, or processing the output. Each block can be set up to use different AI models, datasets, or even special rules for how and where it runs. You do not need to be a coder. You can pick what you need, see how everything connects, and make changes quickly.

2. Dynamic Provider Selection
Instead of always using the same provider for a task, the system can work with a group of approved providers. These could be different cloud services, or even your own private servers. Each provider can do the job, but may differ in cost, speed, or rules. The key is that the system does not pick a provider once and stick with it forever. Instead, it checks which provider is the best choice each time the pipeline runs. It can even choose to wait and run a job later if it will be cheaper or faster at that time.
3. Continuous Resource Monitoring
The platform regularly checks (or “polls”) all approved providers to see how much computer power, bandwidth, memory, storage, and tokens or credits are needed to run different jobs. This information is stored and updated over time, so the system knows not only what is happening now, but also what usually happens at different times of day or week.
4. Smart Scheduling and Execution
When a job comes in, the system looks at the current and future resource information. If the job does not need to be done right away (for example, if you have a few hours to finish), the system can schedule it for a time when resources will be cheaper or more available. This is especially useful for big jobs, like processing lots of images or training a new model. For jobs that must be done now, the system picks the provider that can do it fastest or for the lowest cost, based on what it knows at that moment.
5. Policy and Compliance Checking
The system checks the terms of service for each provider. If a provider changes their rules and you are using them in a way that is now not allowed (for example, using a language model for health advice when that is now banned), the system can spot this and stop you from using that provider for that task. It can even send a message to an admin to let them know what happened and why.
6. Automated Testing and Provider Expansion
If a new provider becomes available, the system can test it by running your pipeline with test data. It checks if the outputs are similar enough to what you got before (using “semantic similarity” – basically, making sure the answers mean the same thing). If the new provider passes the test, it can be added to your approved list, giving you more options for cost savings or better performance.
7. Detailed Tracking and Invoicing
Every time your pipeline runs, the system keeps a record of which provider was used, when it was used, and how much it cost. At the end of the billing period, you get a detailed invoice showing what you spent, where you saved money by switching providers or scheduling jobs smartly, and what you could save if you approved even more providers.
8. Security and Compliance Built-In
The platform can enforce strict rules about who can use which pipelines, on which devices, and with what data. It checks device security, user roles, and even where the data can be processed (such as only in certain countries). If a device or user is not compliant, the pipeline will not run or will hide sensitive data.
Bringing It All Together
Imagine you are running a company that needs to process thousands of images every night. With this new system, you can set up your pipeline once, approve a few providers, and let the platform do the rest. It will watch prices, check rules, and pick the best provider and time for each job. If a provider gets too expensive, is too slow, or changes their rules, the system adapts on its own. You save money, avoid breaking rules, and keep everything running smoothly.
For jobs that must be quick, the system can pick the fastest provider. For jobs where cost matters more than speed, it can wait until the price drops. If you want to run part of the job on your own servers for privacy, and the rest in the cloud, you can set those rules too. The system also helps with debugging, testing, and improving pipelines by showing you detailed results at each step.
This approach means companies can get the most out of their AI investments. They can build flexible, powerful pipelines without needing teams of experts to constantly tweak settings or rewrite code. The platform handles the hard parts, so users can focus on what really matters: getting useful results from AI, at the best price, and without surprises.
Conclusion
The new patent describes a smarter, more flexible way to build and run AI pipelines. By watching resources, checking rules, and picking the best provider in real time, the system helps companies save money, follow the rules, and keep their data safe. It turns what used to be a slow, rigid process into something quick and easy to manage. Anyone building or running AI systems can benefit from these ideas: lower costs, less risk, and more control. As AI keeps growing, tools like this will become the new standard for smart, efficient, and safe AI operations.
Click here https://ppubs.uspto.gov/pubwebapp/ and search 20250362971.


