Boosting Electric Vehicle Safety with Intelligent Battery Power Cut-Off Control

Invented by PARK; Jong Sam

Electric cars are changing the way we think about cars and driving. But what keeps them safe when things go wrong? Today, let’s explore a new patent application for controlling an electric car’s battery power. We’ll learn how this invention tackles real-world problems, what makes it different from old ideas, and why it could be a game changer for electric car safety and reliability.
Background and Market Context
Electric vehicles (EVs) have gone from rare to common. You see them in every city and on highways. People like them because they don’t need gas, they are better for the earth, and they can save money in the long run. But they are not just regular cars with batteries. They are computers on wheels. Every move, like pressing the pedal or stepping on the brake, is managed by complex electronics.
At the heart of every EV is a big rechargeable battery. This battery must give power when needed, but also stay safe. Managing this is the job of a battery management system, or BMS. The BMS checks the battery, controls how much power goes out, and protects it from damage. It works closely with the car’s main computer, called the electronic control unit, or ECU. The ECU watches over the whole car, taking signals from the pedals, buttons, and sensors, and telling the car what to do.
As more people drive EVs, there’s a new challenge: what happens if these computers fail? If the ECU stops working or sends the wrong orders, you could step on the brake and nothing changes. Or, the battery may keep giving power even when you want to stop. This is not just annoying—it’s dangerous. Imagine the car not slowing down when you hit the brake, or not turning off when you press the power button. This could cause crashes and hurt people.

Car makers want to make sure their EVs are as safe as possible. This means building in “backups” so that if one system fails, another takes over. In the past, most backup plans focused on gas cars, not electric ones. But electric cars have new risks and need new solutions. The market is growing fast, and with more EVs on the road, the need for smarter, safer battery controls has never been higher. This patent application addresses just that, promising a way for the BMS to step in and take charge if the main computer fails, keeping drivers and others safe.
Scientific Rationale and Prior Art
To understand why this invention matters, we need to know what’s already out there and what problems still exist. In every electric car, the battery and the main computer (the ECU) work together. Normally, when you push the brake or the gas pedal, the ECU reads your action and adjusts the battery’s power. If you push the power button, the ECU tells the battery to stop sending power to the wheels. This works fine—until something goes wrong with the ECU.
Sometimes, the ECU can get confused or broken. Maybe a wire comes loose. Maybe a software bug causes a freeze. Maybe the car’s sensors send bad data. When this happens, the ECU may not “hear” your foot on the brake or your finger on the power button. The car could keep going, even though you want it to stop. That’s scary. People have reported cars that keep moving even with the brakes pressed, or that won’t power down when parked. This is where today’s technology hits a wall.
Old systems tried to solve this by having two ECUs, or by using simple safety cutoffs. Some cars use a relay or switch that can be triggered by a separate line. But these don’t always react fast enough, or they don’t take into account all the things that are happening inside the car. Sometimes, the battery itself doesn’t have enough “smarts” to notice that the ECU is misbehaving. Other inventions allow the BMS to watch for battery problems (like overheating or overcharging), but not for problems with the driver’s controls or the ECU’s logic.
There are also methods where the car can “limp home” if the ECU partially fails. But these are not geared for emergencies, like the pedal being stuck or the car failing to stop. In the past, some patents covered ways to detect when the brake and accelerator are pressed at the same time, or when a crash is detected, but not for the kind of “silent failure” where the ECU just ignores the pedals or power button.

In every case, the missing piece has been a smart watchdog: a system inside the battery manager that can look at signals from the pedals, the power button, and the ECU—and know when something isn’t right. The BMS, until now, has mostly been about the health of the battery itself, not the safety of the whole car. This is the gap that the new patent tries to fill. It gives the BMS the power to decide, “If the main computer is not listening, I’ll step in and cut the battery’s power to keep everyone safe.”
Invention Description and Key Innovations
This patent application lays out a detailed system and method for making electric cars safer. It gives the battery management system (BMS) the authority to control or even cut off the battery’s power if something is wrong with the main computer (ECU) or the car’s controls. Let’s break down how it works and what makes it smart and new.
Here’s what the invention does, step by step:
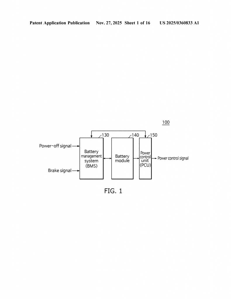
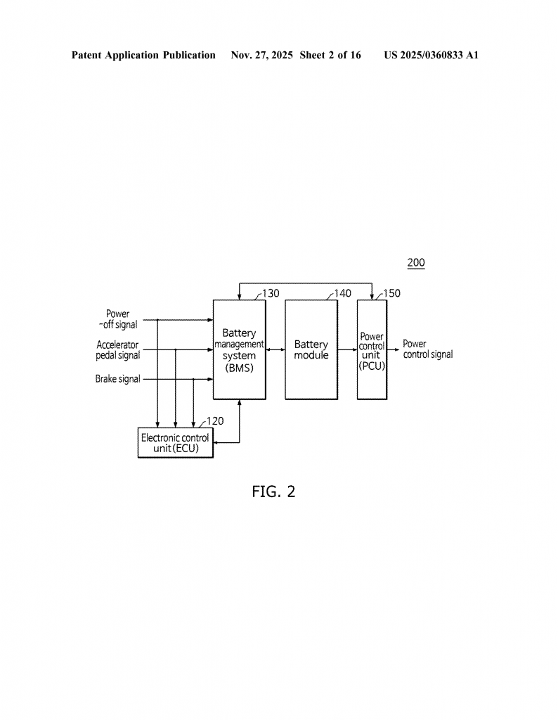
1. Direct Signal Monitoring: The BMS does not just listen to the ECU. It also listens directly to the pedals (the brake and accelerator) and the power button. This means, if you press the brake, both the ECU and the BMS know about it—independently. If you press the power button, both systems hear the signal. The BMS also keeps track of how much current is flowing from the battery.
2. Intelligent Cut-Off Logic: The BMS uses special “power cut-off conditions” to decide when to take action. For example, if you press the brake hard for a long time, but the car does not slow down, the BMS knows this is not normal. If you press the power button and the battery keeps sending current, that’s also a red flag. The BMS watches for things like:
- A strong brake signal that keeps going for a set time (like 10 seconds or more)
- The accelerator and brake being pressed together, which would not happen in normal driving
- The battery’s output current not matching what the pedals are telling it to do (for example, the car is still using a lot of power even though the accelerator is not being pressed)
- Big differences between what the ECU says and what the pedals actually do (for example, the ECU thinks the brake is not pressed, but the BMS sees a strong brake signal)

These conditions are not set in stone—they can be changed based on the car’s design, the battery, or the needs of the driver.
3. Emergency Signal Generation: If the BMS decides that a power cut-off condition is met, it sends out an emergency cut-off signal. This signal can go straight to the power control unit (PCU), which then stops the battery from sending power to the wheels. In some cases, the BMS might send the signal to the ECU, but if the ECU is not working, the BMS skips it and goes direct to the PCU or the relay. This ensures the car can be stopped even if the main computer is “dead.”
4. Flexible Communication Paths: The system is designed to work even if some connections are broken. For example, if the ECU can’t talk to the PCU, the BMS can step in. If the BMS can’t talk to the ECU, it can still send signals to the PCU or relay. This makes the safety net very strong—there are always at least two ways to cut off power in an emergency.
5. Smart Comparison and Timing: The BMS is not fooled by quick, accidental presses. It uses timers, so it knows the difference between a short press and a real emergency. It also compares signals from the pedals, the ECU, and the battery to see if things add up. For example, if the battery’s output is high but the accelerator is not pressed, that’s a sign of trouble. The BMS watches for patterns and only acts when it’s really needed.
6. Works with Modern and Future Cars: The invention can be built into today’s EVs with little change. It can also be programmed into the car’s software as a computer program, or built into the BMS hardware. It works with different types of batteries, ECUs, and car designs. It even fits into cars with advanced features, like over-the-air updates or remote diagnostics.
7. Real-World Scenarios: The system is ready for many types of emergency. If the driver pushes the brake and power button at the same time, the BMS steps in. If the ECU sends out confusing signals, the BMS can compare its own data and override the ECU. This is important for cases where the car’s computer gets hacked, has a bug, or simply fails.
8. Safe and Reliable: By giving the BMS the power to stop the car if needed, the invention adds a strong layer of safety. It helps prevent runaway cars, stuck accelerators, and other dangerous situations. It’s not just for rare cases—these kinds of failures can happen in real life, and a backup like this can save lives.
Key Innovations vs. Old Ideas: What sets this apart is that the BMS is no longer just a “battery watchdog.” Now, it’s a safety manager for the whole car. It listens to the driver’s actions directly, uses smart rules to spot dangers, and has the authority to cut power even if the main computer fails. It’s like having a second captain on the ship, ready to take the wheel if the first captain falls asleep.
This approach is smarter than just adding more computers or simple switches. It uses real-world signals, comparisons, and timing to know when something is wrong. It is flexible, so it can be adapted as EV technology changes. And it’s actionable: car makers can build it into new models, or add it to existing ones with software updates or small hardware tweaks.
Conclusion
This patent application introduces a big step forward for electric car safety. It gives the battery management system new powers to watch over the driver’s controls, the car’s computer, and the battery itself. If something goes wrong, the BMS can act fast—cutting off power and helping prevent accidents. This is not just a technical upgrade; it’s a new way to think about safety in electric cars. As more people drive EVs, having smarter, more reliable battery controls will help everyone stay safe on the road. For car makers, regulators, and drivers, this kind of technology is not just nice to have—it’s becoming a must-have in the age of electric mobility.
Click here https://ppubs.uspto.gov/pubwebapp/ and search 20250360833.


