AI System Prevents Misplacement of Medical Tubes with Real-Time Imaging for Safer Patient Care

Invented by Britto; Carl, Sud; Dhruv

Medicine is always looking for new ways to keep people safe. One of the most basic but important tasks in hospitals is putting in tubes and lines. These tools deliver medicine, help people breathe, or drain fluids. But if a tube is not placed right, it can lead to big problems. This article explains a new invention that uses cameras and machine learning to spot misplaced or badly positioned medical tubes in real time. We’ll walk through the background, the science, and how this smart new system works.
Background and Market Context
Every day, doctors and nurses put tubes and lines into patients—into veins, into lungs, into wounds, and many other places. These tubes help patients get medicine, breathe, or remove extra fluids. Some common examples are IV lines, catheters, endotracheal tubes, and chest drains. In busy places like intensive care units, emergency rooms, and even regular hospital rooms, these tasks happen all the time.
But what happens if a tube is not in the right spot? Sometimes a tube is too deep, not deep enough, or not in the right body part. Sometimes, the wrong size tube is used. Other times, a tube can get blocked or slip out of place. Any of these problems can cause pain, stop the medicine from working, or even lead to life-threatening emergencies. Fixing misplaced tubes can be as simple as moving the tube, but sometimes it means putting in a new one altogether.
Most hospitals rely on nurses and doctors to check tube placement. This can involve looking at the patient, feeling for the tube, or checking X-rays and ultrasounds. These checks are not always done in real time. X-rays and scans take time, cost money, and expose patients to extra radiation. Sometimes, problems are missed until it’s too late. Even the most careful staff can make mistakes, especially in busy or stressful situations.
Hospitals need a better way to spot when tubes and lines are not in the right place. They need something that works around the clock, is quick, and helps staff catch problems before they become serious. The market for such a solution is huge, given how often tubes and lines are used in hospitals worldwide. This is not just about saving money or time—it’s about keeping people safe and healthy.

Because of these challenges, the healthcare world is looking for technology that can watch over patients all the time and help staff do their jobs better. This is where new ideas, like using cameras and artificial intelligence, can make a real difference. If a system can spot problems with tubes in real-time, it could help nurses and doctors react faster and prevent harm.
Scientific Rationale and Prior Art
To understand why this new invention is special, it helps to look at how things are done now. When a tube is placed, a nurse or doctor checks if it’s in the right spot. They might use their eyes, hands, or medical scans. For example, after putting in a central line, an X-ray is often needed to make sure it’s not too deep or in the wrong vein. For breathing tubes, staff listen to breath sounds, check carbon dioxide levels, or use X-rays. These steps are good, but they have limits. They take time, need extra equipment, and sometimes give results only after the tube has already caused harm.
Some hospitals have tried to use sensors or special markings to help check tube placement. Others use checklists or double-checks by another staff member. There are also barcode systems or digital records to track which tubes are used. While these tools help, they do not provide real-time feedback or catch every mistake. They still rely on the human eye and judgment, which can be affected by fatigue, stress, or distractions.
In recent years, artificial intelligence and machine learning have started to change healthcare. Computer vision—the ability of computers to “see” and interpret images—has been used in reading scans, detecting cancers, or even guiding robots. Some research has used AI to spot problems on X-rays or to help with surgery. But before this invention, there was no system that used cameras and AI to watch tubes and lines in real-time, check their placement, and alert staff if something was wrong.
Older systems also do not combine information from cameras with other patient data, like what’s stored in electronic medical records. They don’t learn from new data or improve over time. They don’t give personalized advice based on the patient’s size, the type of tube, or the specific procedure. Most importantly, they don’t work all day, every day, without getting tired.

This invention builds on advances in machine learning, especially deep learning models like Convolutional Neural Networks (CNNs) and object detection algorithms. These tools are very good at finding and tracking shapes in images, even in hard conditions like low light or with a busy background. By using both regular and infrared images, the system can see tubes and lines even if they are partly hidden or hard to see. It can also use video, not just still pictures, to spot changes or problems as they happen.
What makes this approach different is the way it brings together real-time images from different cameras, compares them to the best placement for each patient, and uses AI to make decisions. It does not just spot if a tube is present, but checks if it’s in the right place, is the right type, and is working as it should. If something is wrong, it can alert staff right away.
This is a big step forward from what has come before. It takes away some of the guesswork, works faster than people alone, and can help prevent problems before they start. It’s a real example of how AI and smart sensors can make healthcare safer and more reliable.
Invention Description and Key Innovations
Let’s dive into how this new system actually works. The invention is a smart method and device that use cameras and machine learning to watch over patients and their medical tubes. Here’s how it keeps things safe and simple.
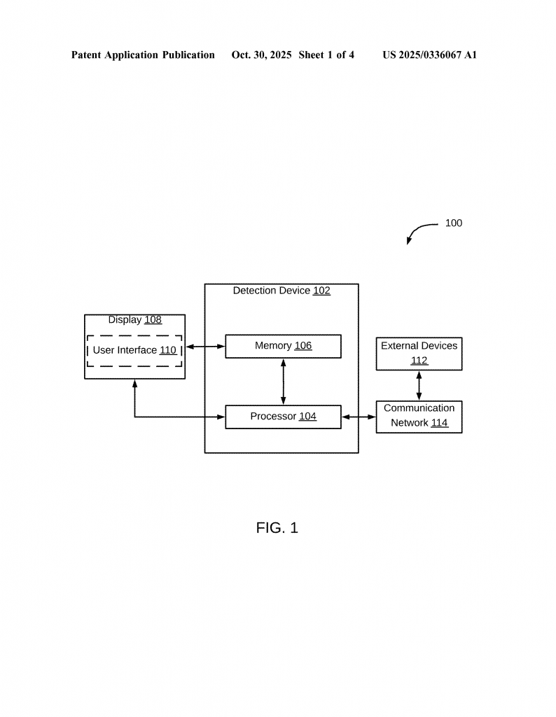
The core of the system is a device—a computer, server, or even a phone—that connects to cameras set up in the patient’s room. These cameras can be regular cameras or special ones that use infrared light. The cameras take pictures or video of the patient and the tubes or lines in their body. The system can use more than one camera to get a better view from different angles. This helps it see the tubes clearly, even if the patient moves or if blankets cover part of the body.
At the same time, the system gets data from the patient’s electronic medical record (EMR). This includes information about the patient’s age, size, and the kind of tube that was supposed to be used. It also includes what the doctor ordered for the procedure—things like which vein or body part the tube should go into, how deep it should be, and what size or type to use.

The next step is where the magic happens. The system looks at the real-time images and the patient data together. Using its machine learning model, it finds the tubes or lines in the pictures. It figures out where the tube enters the body, how deep it goes, and what type it is. It then compares this to the “optimal” settings for that patient, based on their size, the doctor’s plan, and standard rules for that kind of tube.
If it finds that a tube is not in the right spot, is too deep or too shallow, is the wrong size, or is the wrong type, the system flags it. It can even spot problems like a tube being blocked or not working, using clues from the images and video. What’s really clever is that it can classify each tube as either for putting things into the body (like IV lines) or for taking things out (like drains). This helps staff know exactly what needs to be checked or fixed.
When the system detects a problem, it sends an alert to the medical staff. This can pop up in the EMR, show up as a message on a nurse’s device, or be sent through a telemedicine system. The alert is quick and clear, so staff can act fast to fix the problem. In some versions, the system can even suggest what to do next, like “replace the tube” or “use a smaller size.”
The machine learning part is trained on lots of examples—pictures of correctly and incorrectly placed tubes. Over time, as it sees more cases, it gets better at spotting mistakes. This means the system can improve itself and adapt to new types of tubes, new patient needs, or new hospital setups.
The invention is also very flexible. It can work with different kinds of tubes—IVs, catheters, breathing tubes, drains, and more. It can be used in any hospital room, ICU, emergency department, or even at home for patients who need care outside the hospital. The cameras do not have to be special or expensive. The system can work with standard digital cameras, security cameras, or even phone cameras.
One of the key technical breakthroughs is how the system uses both regular and infrared images. Sometimes, regular light is not enough to see a tube clearly, especially under blankets or in the dark. Infrared helps the system “see” even when people can’t. The AI model is also good at ignoring clutter in the background, focusing only on the tubes and the body parts that matter.
Another smart feature is that the system does not just look at one picture. It can watch video over time, spotting if a tube moves or slips out of place after it was first put in. This gives a level of safety that goes beyond just a one-time check.
The invention also supports training and updates. Hospitals can use their own data to make the system smarter for their patients and staff. If a new kind of tube comes out, the system can learn about it. If staff want to add their own rules or best practices, those can be built in.
From a technical point of view, the invention does not just use off-the-shelf AI. It combines patient data, real-time imaging, and smart alerts into a single, easy-to-use tool. The system is designed to be fast, reliable, and easy to add to existing hospital systems. It does not slow down staff or add extra steps—instead, it works quietly in the background, ready to help when needed.
The impact of this invention is huge. It promises to reduce mistakes, help staff work more efficiently, and keep patients safer. In the long run, it could save lives, lower costs, and improve trust in hospital care. It also fits into the big trend of using AI to make healthcare smarter, more proactive, and more patient-centered.
Conclusion
Making sure that medical tubes and lines are always in the right place is one of the most important jobs in healthcare. Until now, this job has relied mostly on people—nurses and doctors—using their eyes and experience, backed up by scans and checks. This new invention changes the game. By using cameras, real-time images, patient data, and powerful machine learning, it can spot misplaced or badly positioned tubes right away, alert staff, and help keep patients safe.
This system is more than just a new gadget. It’s a step toward a future where smart technology works hand-in-hand with medical staff, catching problems early and making sure every patient gets the best care. With its flexible design, ability to learn, and real-time feedback, this invention is set to become a key part of safe, modern medicine. For hospitals, patients, and staff, that’s very good news indeed.
Click here https://ppubs.uspto.gov/pubwebapp/ and search 20250336067.


