AI-Powered Platform Measures and Improves Cyber Defense Response Time for Enterprises

Invented by FREY; Frederick, NARY; Timothy

Cybersecurity is in a constant race—attackers always look for new ways to break in, and defenders try to keep up. A recent patent application describes a computer system that uses artificial intelligence (AI) and machine learning to help organizations learn faster and fight back. Let’s break down what this invention means for cybersecurity, why it matters, and how it works.
Background and Market Context
Cybersecurity threats have become a growing problem for everyone. From large companies to small businesses, nobody is safe from hackers. These hackers use more advanced tricks every day. At the same time, the tools and teams meant to keep us safe are sometimes behind. Security teams, often split into “red teams” (who attack) and “blue teams” (who defend), try to test systems and make them stronger. But there are challenges.
Most companies have some way to collect threat intelligence. This means they gather information about attacks and how they happen. But often, these methods are slow, manual, and only look at part of the problem. Red teams attack; blue teams defend. But they do not always work together, and it’s hard to share what they learn. This makes it tough to understand what really works or where the real weak spots are.
On top of that, cyberattacks happen faster now. Hackers use computers to automate attacks, and they can change their tricks with just a few lines of code. Meanwhile, defenses may take weeks or months to update. When defenders learn about new attacks, the information might already be too old to help. So, there is a big need for systems that can learn quickly, adapt, and keep up with attackers.
The market for cybersecurity tools is huge and only getting bigger. Companies spend billions every year on new defenses, yet breaches still happen. Many are looking for smarter solutions. This is where AI and machine learning come in. If a system could not only watch for attacks but also learn from them and get better in real time, it would be a game-changer. That’s exactly what this new patent application is aiming for.
This invention is not just for big companies. Any organization with computers and data to protect can use systems like this. It helps teams work together and lets computers do some of the hard thinking, so people can focus on bigger problems. As hackers get smarter, defenders need smarter tools, too. That’s the big picture—and the reason this patent stands out.

Scientific Rationale and Prior Art
To understand why this invention is important, we need to look at how cybersecurity has worked until now. Traditionally, security teams use “red teaming” and “blue teaming.” Red teams try to break in, acting like hackers. Blue teams try to stop them. Sometimes, there is also a “purple team” that helps both sides learn from each other.
Most threat intelligence platforms collect logs, alerts, or reports about attacks. They might show you when someone tried to hack in or if a virus was found. Some tools let you run “simulations”—fake attacks to test your defenses. But these tools often work in silos. Attack data and defense data live in different places. It’s hard to put them together and see the whole story.
Another problem is speed. When an attack happens, the defenders might not know about it until hours or days later. The information is often not labeled well. For example, you may not know if a defense action really stopped an attack, or if it was just a lucky guess. This makes it tough to improve your defenses in a smart way.
There are some platforms that use AI to look for patterns in logs or to spot unusual behavior. But these tools often need lots of “labeled data”—that means you need to tell the computer which actions are attacks and which are normal. Getting this data is hard and takes time. That’s one reason why many machine learning models in cybersecurity are not as good as they could be.
Prior art includes systems that use virtual machines to run attacks in a safe environment (called a “sandbox”). Some platforms can replay attacks, record logs, or even simulate user actions. But most do not connect the dots between attacks and defenses in real time. They do not use AI to update both sides of the game—how attackers operate and how defenders respond.
This new patent builds on these ideas but adds something new. It brings together attack data, defense data, and labels them together. Then, it uses AI to learn from both, update its models, and even suggest new attacks or defenses. This creates a closed feedback loop, where the system keeps learning and getting better. The result is a smarter platform that helps teams understand what works, what doesn’t, and how to get ahead of cyber threats.

Another key part of this invention is how it measures the “attack-defense time lapse.” This is the time between when an attack starts and when the defense kicks in. Shorter time lapses mean better defenses. By tracking this, the system gives a real measure of how well your defenses are working—not just if they work, but how fast.
Compared to prior art, this approach is more complete. It connects attack and defense, uses machine learning to improve both, and gives teams a way to see what’s happening in one place. That’s why this patent stands out.
Invention Description and Key Innovations
This patent describes a computer system that acts as a cyber threat intelligence platform. It uses one or more processors (the main part of a computer) and a memory (where it stores data). Inside this system, there’s a library of virtual machines—these are like pretend computers that you can use to run tests without risking real systems.
Here’s how it works:
First, the system designates some virtual machines as “attackers” and others as “victims.” The attacker machines run fake cyberattacks, just like a hacker would. The victim machines try to defend themselves. This can all happen automatically, or people can control the machines if they want.
When an attack starts, the system records lots of details. It notes the exact time the attack happens. It also watches for any defense actions by the victim machine and marks when they occur. This way, it can measure the “attack-defense time lapse”—how long it takes for the defense to respond.

The system collects lots of data: what commands were run, what files were changed, what network traffic happened, and so on. It can even record video of what’s happening on the screen or keep track of every key pressed. All this data goes into a library for later study.
But the real magic happens with machine learning and AI. The platform uses AI to look at the attack and defense data together. It labels each attack and defense action. For example, if a defense catches an attack, it’s marked as a “true positive.” If it misses an attack, it’s a “false negative.” This labeling helps the system—and the people using it—see what’s working and what’s not.
Once the system has labels and data, it uses machine learning models to get better. The AI can suggest new ways to attack or defend. It can even mutate attacks, changing small things to see if the defense still works. If a defense fails, the system suggests ways to improve it. This closed loop keeps repeating, making both the attacks and defenses smarter over time.
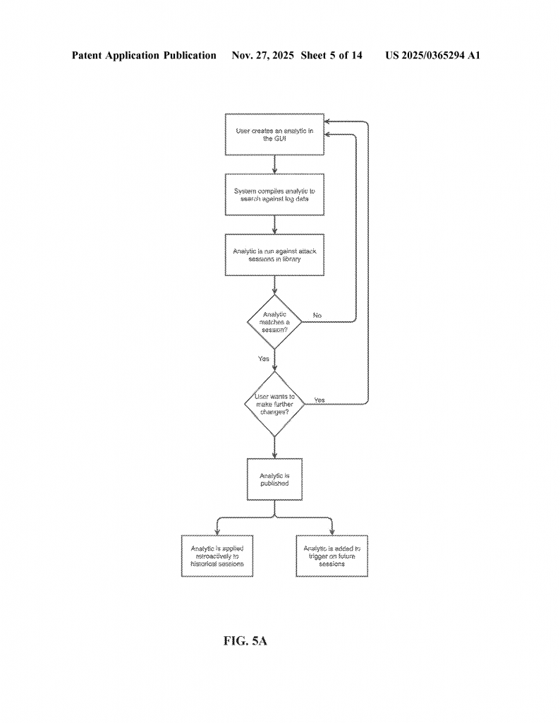
The platform has special tools called “analytics.” These are rules or patterns the system uses to spot attacks. Users can build analytics using simple drag-and-drop tools, without writing code. The system can test these analytics against real attack data in the library, showing if they work or need changes.
Another key feature is the timeline and video overlay. The system shows when attacks and defenses happen on a clear timeline. You can see, for each event, if the defense action was on time or too late. This visual feedback helps teams find gaps and fix them.
Integration with third-party tools is also built in. The system can connect to security products like SIEMs or endpoint protection tools. It can send analytics to these tools and get results back, making it easy to test and deploy new defenses in real environments.
Importantly, the AI models not only learn from logs and attack data but also from “crowdsourced” labels. That means users can help train the AI by marking attacks and defenses as good or bad. This makes the models smarter and more accurate over time.
Some standout innovations in this invention are:
1. The system links attack and defense actions together, not just looking at one side.
2. It uses machine learning to improve both attacks and defenses, learning from every session.
3. The “attack-defense time lapse” gives a clear, simple way to measure how fast your defenses react.
4. The platform is flexible—users can run tests manually, or let the computer do it all automatically.
5. It integrates with other security tools, making it easy to test, deploy, and improve defenses in real time.
6. The system crowdsources labels and uses advanced AI, so it gets smarter the more you use it.
7. It uses video overlays and timelines, so teams can see what happened and why, making it easier to learn and fix problems.
By bringing all these ideas together, this invention creates a full feedback loop. Attacks are tested, defenses are measured, analytics are improved, and everything is tracked in one place. Over time, the system helps organizations build stronger defenses that keep up with fast-changing threats.
Conclusion
Cybersecurity is a moving target, with attackers and defenders in an endless tug-of-war. This patent application describes a new kind of platform that uses AI and machine learning to make both sides smarter. It tracks attacks and defenses in real time, labels them, and uses that data to get better with every session. By connecting everything together—attack data, defense actions, timing, and AI learning—it gives teams a powerful tool to stay ahead of threats.
The system is flexible and easy to use. It helps teams work together, makes it simple to test new ideas, and uses AI to keep learning as things change. For anyone looking to improve their cybersecurity, this approach offers a smarter, faster, and more complete way to fight back. As hackers get smarter, defenders need tools like this to stay safe.
Click here https://ppubs.uspto.gov/pubwebapp/ and search 20250365294.


