AI-Powered Marketplace Platform Selects the Best Agents for Smarter Business Decisions

Invented by SOHUM; Anuj Khanna, FOONG; Charles Yong Jien, RAMAKRISHNA; Madhusudana, Affle (India) Limited, India

Artificial intelligence is everywhere today, and it keeps getting smarter. But making different AI programs and models work together safely is still a big challenge for many companies. A new patent application is taking a bold step to solve this problem. In this blog, let’s break down what this new invention does, why it matters, and how it could shape the future of AI systems in simple words.
Background and Market Context
Modern life is surrounded by AI. When you order food, get product suggestions online, or play games, AI is working behind the scenes. But most AI tools are made by different teams, companies, or even from different countries. Each tool has its own way of thinking, its own rules, and its own data. This makes it hard for businesses to use many types of AI together, especially when they want to keep user data safe.
Right now, if a company wants to use more than one AI, they usually need to connect them by hand. This means a lot of work to glue the pieces together. There’s also a big worry: “How do we keep our users’ secrets safe when we are using outside AI agents?” Companies in healthcare, banking, shopping, and even game design need a way to use the best AI tools without losing control over their own data.
Another challenge is making sure these different AI models and agents can talk to each other and share ideas without getting confused or losing meaning. If one AI is very good at shopping recommendations and another is good at planning family activities, how can you mix their ideas to give a family the best weekend plan without the systems clashing?
Businesses also want AI that can improve itself. If one AI agent isn’t giving good results, they want to switch to a better one automatically. Today’s systems are mostly fixed — you choose your AI, and you’re stuck with it until you put in more work. This is slow and can waste money.
The new invention steps in here. It promises a way for companies to use many different AI models and agents together inside a secure “enclave” in the cloud. This means the AI can test out different helpers, pick the best one for each job, and make sure all user data stays locked away and private. This is a big deal for companies who want the smartest possible AI but can’t risk leaking secrets.

If this works, it could change how AI is used in online shopping, health systems, smart homes, business planning, and even traffic management. It would let companies grab the best AI tools from a growing online “marketplace” of agents, try them out, and use them safely without lots of technical work or privacy risks. That’s why this patent is catching attention.
Scientific Rationale and Prior Art
To understand why this patent is special, let’s first see what came before. In the past, AI systems fell into two camps.
Some systems had “coordinators.” These are like traffic cops. They keep things running smoothly, manage the rules, and direct traffic between different parts of a system. For example, a coordinator might decide when to send a robot to clean a room or when to wait because someone is still there.
Other systems used “agents.” These are like little robots or helpers, each with their own job. One agent might handle billing, another might answer customer questions, and a third might suggest music. Each agent works by itself, making decisions as it goes.
The problem? Most old systems focused on either agents or coordinators, but not both. That made them good at some things but weak at others. Mixing them together was messy and hard to control. Developers had to spend a lot of time building custom bridges between the parts, and if something changed, they usually had to start over.
Another big problem was data privacy. When you send your data out to lots of different AI agents, there’s a risk that something gets lost or stolen. Most older systems did not have a strong way to keep data safe when using outside helpers.

Also, in old systems, if you wanted to try out a new AI helper, you had to pause everything, plug it in, and hope it would work. There wasn’t an easy way to test lots of agents at once and pick the best one based on real results. Feedback (like user clicks or sales data) was not used in a smart way to improve which agents were chosen.
Some companies tried to create “marketplaces” for AI agents. You could buy or download new AI tools, but getting them to work with your own data and systems safely was still very hard. There was no smart way to blend all these agents into one smooth experience for users.
This new patent is different. It pulls together the best ideas: strong coordinators, smart agents, dynamic testing, secure data, and a plug-and-play marketplace. The invention lets a “primary AI agent” act as the boss. It picks helpers, tests them, gathers feedback, and chooses the best, all inside a sealed cloud “enclave” that keeps data private. This way, companies can use many agents together, swap them in and out, and improve over time — all with less risk and less work.
Invention Description and Key Innovations
Let’s dig into how this patent works and what makes it stand out.
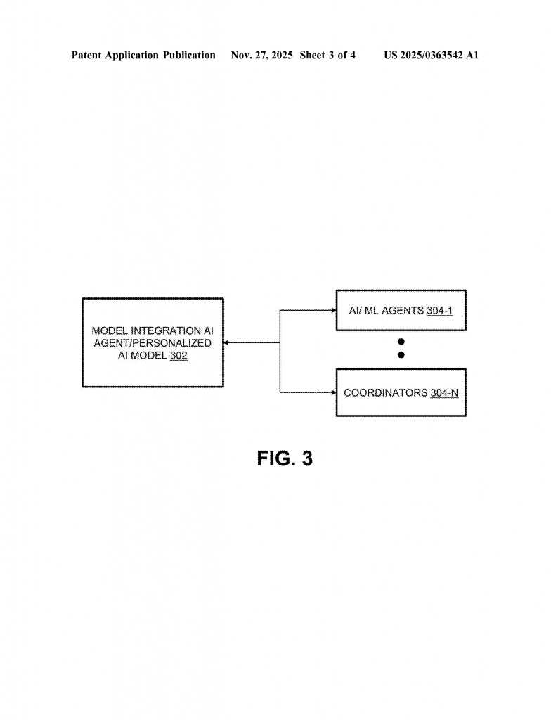
At the heart of the system is something called a “primary AI agent.” Think of this as the team leader. When a company or a user sends a request — maybe to pick a birthday gift or plan a family trip — the primary agent jumps into action. Here’s what it does, step by step:
First, it looks at the request and figures out what’s needed. For example, does the user want product ideas, help with schedules, or something else? Based on this, the primary agent checks its toolbox — a big set of AI helpers, each with different skills. Some helpers are specialists in shopping, others in planning, some are coordinators that manage information, and some are recommenders that give advice.

The primary agent then picks a set of candidate helpers (AI agents) that might be able to solve the problem. It can grab these from inside the company’s system, from an online marketplace, or even from outside vendors. The key is that these helpers don’t get direct access to user data — everything happens inside a secure cloud “enclave,” which is like a sealed vault in the sky.
Next, the primary agent lets these helpers analyze the request. For example, each shopping recommender might suggest products; each planner might offer an activity schedule. The primary agent watches their performance in real time. It tracks which suggestions get clicked, which ones lead to sales, and which ones the user likes or ignores.
Using this feedback, the primary agent scores each helper. If one recommender always gets better results, it rises to the top for similar tasks. If another starts failing, it gets replaced. This whole process is dynamic — it can change every time a new request comes in, or as the marketplace of agents evolves.
Once the best helper is found, the primary agent collects its recommendations and delivers them back to the user. If the user acts on those suggestions (for example, buys a gift or books a dinner), the system learns and gets even better next time.
A big part of the invention is the ability to translate information between helpers without losing meaning. If one agent speaks a different “language” or uses special data formats, the primary agent can translate so that nothing gets lost or mixed up. This is very important in real-world systems where not every helper is built the same way.
All of this happens inside a secure cloud enclave. This means:
- All data stays protected and encrypted.
- Outside agents never see the raw user data.
- Only trusted helpers, after passing checks, can work in the system.
- Every action and recommendation is logged for safety and audits.
The system can also manage trust scores for each agent. If a helper starts failing, gets bad feedback, or costs too much, the primary agent can drop it or swap it for a better one, all automatically. The company always stays in control, and the system keeps getting smarter.
The patent also covers how the system can save and share smart combinations of helpers. For example, if a perfect team of shopping agents and planners is found for one family, the same setup could be shared with another similar family, making it easy to spread best practices.
Imagine using this system to run a smart online store. The store could test out new recommenders every week, always using the one that works best. If a new agent comes to the marketplace with better prices or smarter suggestions, the system could pull it in and test it without risk. If the new agent doesn’t perform or has privacy risks, it’s dropped. All the while, customer data never leaves the safe cloud vault.
This approach is also great for things like smart traffic systems, healthcare planning, or managing factories. The system can pull in the best planners, sensors, and recommenders for each job, test them, and keep everything safe and private.
In short, this invention lets companies build AI systems that are open, flexible, smart, and secure. They can use the best tools from anywhere, improve on the fly, and always keep control of their own data. That’s a big leap from today’s locked-down, hard-to-change, and risky AI setups.
Conclusion
This new patent is about making AI easy, safe, and smart for everyone. It solves real problems: mixing different AI helpers, testing them quickly, keeping data private, and always getting better results with less work. If it becomes widely used, it will let businesses use the best AI agents from around the world, all while protecting user secrets inside a secure cloud vault.
For companies, this means faster innovation, lower risk, and better customer experiences. For users, it means smarter suggestions, safer data, and more helpful AI everywhere. As AI markets keep growing, systems like this will help everyone get the most out of the AI revolution — safely, flexibly, and at scale.
Click here https://ppubs.uspto.gov/pubwebapp/ and search 20250363542.


