AI-Driven Privacy Platform Empowers Users to Control Their Data and Boost Well-Being

Invented by Shah; Mihir

Modern life revolves around mobile devices. But what if your device could actually make you feel better, keep your data private, and help you know yourself? This patent application introduces a new kind of mobile device—one that learns about you, protects you, and acts as a true companion. Let’s break down what makes this invention unique and how it could change the way we interact with technology.
Background and Market Context
Our world is more connected than ever before. Every day, people use phones and tablets for everything—work, school, socializing, health, and entertainment. As these devices get smarter, they collect more information about us. They track where we go, what we like, how we feel, and what we do. All of this personal information is valuable, not just to us, but also to companies who use it for ads, sales, and more.
But there’s a big problem. Most of the time, we give away our data without really knowing where it goes or how it’s used. Companies profit from our information, and we don’t always get much in return. In fact, instead of making us happier, our devices can make us feel anxious, lonely, and overwhelmed. Endless notifications, social comparison, and privacy worries are now part of daily life. Studies show that mental health problems like depression and anxiety are on the rise, and many people feel more isolated, even as they spend more time online.
The original promise of smart technology was to make our lives easier and more meaningful. Instead, many feel stuck in a cycle of constant connection, information overload, and burnout. Mobile devices have become almost like an extra limb—we feel lost without them. This deep dependency can even cause stress and make it harder to focus or relax.
Meanwhile, tech companies keep pushing for more engagement, because it means more data and more money for them. This often leads to addictive app designs, endless scrolling, and a focus on keeping users hooked instead of helping them thrive. Privacy has faded, and most people have little control over their own data. Laws about privacy and data protection haven’t kept up, leaving users exposed to manipulation, scams, and even identity theft.
In this setting, the need for change is clear. People want devices that respect their privacy, help them understand themselves, and actually improve their mental, emotional, and physical well-being. This patent proposes a new way forward—a mobile system focused on the user, not just on profit.
Scientific Rationale and Prior Art
To understand why this invention is different, it helps to look at what’s already out there and what science tells us about technology and well-being.

Mobile devices today are full of sensors and computing power. Phones can “see” with cameras, “hear” with microphones, and sense movement, touch, location, and even heart rate. But most operating systems and apps are built by programmers focused on features and profits—not on human health or privacy. Most current “wellness” apps track fitness, sleep, or mood, but they often collect data to sell or share with third parties. Many apps use artificial intelligence (AI), but the AI is trained on outside data, which may not fit each person’s real needs.
Prior inventions have tried to use sensor data for things like unlocking phones (fingerprint, face ID) or tracking steps. Some apps try to give mental health support or reminders to relax. However, these tools are often disconnected, limited in what they can see, and not very good at understanding the real person using them. They rarely combine all of a user’s data into a full picture. Most importantly, control over the data often rests with the app makers, not with the user.
Scientific studies show that personal data—like voice patterns, facial expressions, movement, and even typing style—can reveal a lot about someone’s mental and emotional state. For example, changes in speech tone can show stress or excitement. The way someone moves or holds their phone can hint at anxiety or tiredness. Patterns in app use and browsing history can even predict mood swings or early signs of illness.
But this kind of sensitive data is also risky. If it’s leaked, stolen, or misused, it can cause real harm. Privacy isn’t just about keeping secrets—it’s about giving people space to think, reflect, and be themselves, without fear of being watched or judged. When privacy is lost, people can feel anxious and powerless.
The field of digital well-being is growing, but most solutions still put profit first. Few devices or platforms are designed from the ground up to make the user’s well-being the main goal. Most AI and personalization tools are there to make ads and sales more effective, not to help people thrive. There is a lack of tools that truly learn from each user, adapt to their unique patterns, and keep their data safe from outside eyes.
In short, the current art lacks a way for users to have full control over their digital self, build real self-knowledge, and enjoy the benefits of technology without sacrificing privacy or well-being. This patent aims to fill that gap.
Invention Description and Key Innovations
This invention changes the game by putting the user’s well-being, privacy, and personal growth at the center of the mobile device experience. Let’s break down the most important parts of this new system.

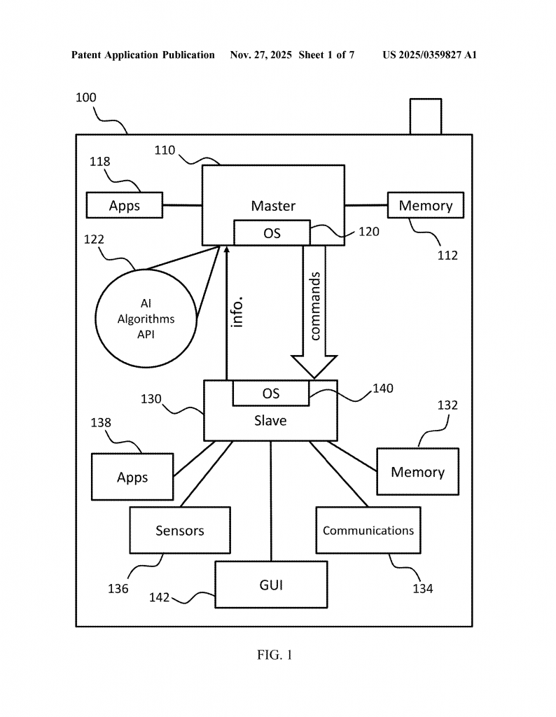
1. Dual-Processor Architecture for User Control
The heart of the invention is a mobile device with two processors—a regular mobile processor and a special “personal functions” processor. The personal functions processor acts as the master, while the standard mobile processor is the slave. This setup is like having a smart assistant in the background, always working for you, not for the phone maker or app company.
The personal functions processor runs its own operating system (PFOS), which can control what the regular mobile processor and its apps can do. This means that all the sensors and apps on the device can be managed from the user’s point of view. Only the PFOS can access and combine all the data needed to understand the user, build a complete personal “avatar,” and take actions to improve well-being.
2. Building a Wholistic Virtual Personal Avatar
At the core of the invention is the idea of a “wholistic virtual personal avatar.” This avatar is a digital twin of the user, built from all available data—sensor readings, app use, voice patterns, face and body movement, location, and even environmental factors like weather. The avatar learns from everything you do, both on your device and in the real world.
The PFOS includes special modules:
– A “listen and learn” module watches and records everything from biosensors, microphones, cameras, and your interactions with the phone.
– A “baseline development” module figures out what is normal for you—your usual mood, energy, habits, and routines.
– A “feedback” module looks for changes (called deltas) from your normal baseline, then figures out what caused them and suggests or takes actions to help you feel better.
What makes this system special is that the avatar is built and updated only on your device—no outside training needed, no sending your data to the cloud unless you allow it. All learning is based on your own lived reality, not on some generic model built by a company.
3. Privacy and Security by Design
Privacy is built in at every level. The personal avatar and all sensitive data never go to outside networks unless you give permission. The dual-processor system makes sure that the regular mobile processor (and its apps) can never see or control the PFOS or the avatar. All outside connections are managed and can be blocked or filtered by the PFOS.

Biometric data is used in smart ways—your device can recognize you based on a full set of factors, not just a fingerprint or face scan. It knows your voice, how you hold the phone, your gait, and more. This makes logging in safer and easier, and blocks fake users or forced logins.
The system can support families and multiple users, with each person getting their own avatar and privacy controls. Firewalls and data fences keep each user’s data separate and safe.
4. Well-Being Applications and Active Support
The invention doesn’t just watch—it acts. Well-being apps run on the PFOS and can do things like suggest a calming song if you’re stressed, remind you to take a break when you’re tired, or offer help if it senses you’re sad or anxious. Over time, the avatar gets better at knowing what works for you and can even act without you asking, if you want.
The system can also help in health and safety. For example, it can notice early signs of illness (like changes in movement or speech), suggest seeing a doctor, or help monitor chronic conditions. It can also filter out harmful or false information, block unwanted ads, and keep you safe from scams or dangerous content.
The avatar can even interact with other avatars in a secure network, helping you find friends, services, or advice that fit your unique needs and personality.
5. User-Centered AI and Adaptability
Unlike regular AI, which is trained on big outside datasets, the AI here learns only from you. It adapts to your changing needs, habits, and moods. It can use outside information (like health libraries or maps) if you allow, but its main job is to reflect and serve you.
The device can be used in many ways—by individuals, families, or even in workplaces. It can connect to other devices (like cars, wearables, or home hubs) and manage access and privacy for each one. In every case, your personal avatar stays in control.
6. Actionable Insights and Reporting
The device gives you clear, simple feedback about your well-being. You can see how your mood, health, or habits change over time. The system can suggest ways to get back to your best self, or even help you connect with others who might help. Reports can be shared with family or (with your permission) health professionals, making it easier to spot problems early.
7. Safe and Flexible App Store
The invention supports a new kind of app store, where well-being apps are given priority. These apps are reviewed for safety and privacy, and they can use special data hooks to serve you better. Financial models can be flexible—users and developers could earn rewards, credits, or shares for positive engagement.
Summary of Innovations:
– Dual-processor mobile devices with master-slave setup for user control
– Personal functions OS that builds and manages a secure, private, full-featured personal avatar
– Advanced biometric authentication using many signals
– Closed-loop, user-centered AI for learning and feedback
– Well-being apps that act proactively to support mental, emotional, and physical health
– Privacy and data security as core features, not afterthoughts
– Flexible, user-friendly app environment with rewards for positive engagement
– Cross-device, cross-user support with firewalls and individualized avatars
This invention is not just an upgrade—it’s a whole new way to think about how mobile devices serve people. Instead of making users adapt to tech, the tech adapts to each user. The focus is on making lives better, not just busier.
Conclusion
Mobile devices have become part of our everyday lives, but until now, they have mostly served the interests of companies, not users. This patent application shows a new path: devices that truly know us, protect our data, and help us grow. By building a secure, personal avatar and putting the user in control, this invention could set a new standard for privacy, well-being, and self-knowledge in the digital age.
If adopted, this technology promises to give users back their privacy, help them make sense of their own data, and support better mental, emotional, and physical health. It’s a vision of technology as a true companion—not a master. As the world looks for ways to make technology serve people, not the other way around, this invention could be the breakthrough we need.
Click here https://ppubs.uspto.gov/pubwebapp/ and search 20250359827.


