Smart Charging Cases Boost Battery Efficiency and Protection for Wearable Devices

Invented by Schmanski; Robert F., Deutsche; Jonathan H., Apple Inc.
Today’s earphones are small, smart, and easy to lose. Their cases are not just boxes—they’re charging stations and guards. But what if you could get the same smart features in a much smaller, lighter, and cheaper case? This new patent application shows just how. Let’s walk through what makes this possible, why it matters, and how it works under the hood.

Background and Market Context
Walk down the street or ride the subway and you’ll see people listening to music or podcasts with tiny wireless earphones. These earphones, often called “earbuds,” tuck into your ears and connect to your phone, tablet, or laptop with no wires at all. Their small size makes them easy to carry—but also easy to lose or damage. That’s why nearly every pair comes with a case.
These cases have gotten smarter over the years. Early on, the case was just a box. Then, the case started to hold a battery so you could charge your earphones on the go. The next step was putting a small computer, called a microcontroller, inside the case. This little brain could talk to the earphones and help them know if the case was open or closed, or if the earphones were inside or not. This made things easier for users. For example, your earphones could turn off Bluetooth to save battery when you put them in the case and close the lid. When you open the case, they could turn Bluetooth back on and try to reconnect to your phone.
This all sounds great, but there are downsides. Adding a battery and a microcontroller makes the case bigger, heavier, and more expensive. Batteries also wear out over time, and the more complicated the case, the higher the chance something goes wrong. If you don’t need to charge your earphones on the go, do you really need a battery in the case? Most people just want a safe place for their earbuds and a way to charge them at home.

Price matters, too. Adding tech to the case makes everything more expensive. For many buyers, keeping the cost down is more important than having fancy features. Manufacturers want to offer affordable options for customers who don’t need or want a case that can charge on the go. But they don’t want to lose the smart behaviors that make wireless earphones so user-friendly.
This is where the new patent steps in. It describes a “charge-through” carrying case. This case has no battery and no microcontroller. Still, it manages to share useful information with the earphones, making them behave smartly—just like pricier cases. It’s a win-win: the case is smaller, lighter, cheaper, and still smart. And this kind of case isn’t just for earphones: it can also work for other small gadgets like smart rings, watches, or hearing aids.
Scientific Rationale and Prior Art
To understand why this invention matters, let’s look at how things worked before. In most “smart” charging cases, there are two big pieces: a rechargeable battery and a small computer (the microcontroller). The battery stores power, and the microcontroller keeps track of what’s happening—like when you open or close the lid, or when you put the earphones inside or take them out. This lets the case talk to the earphones and tell them what to do. For example, the case might send a message saying, “The lid is closed, turn off your radio to save power.”
How do these cases know what’s happening? For lid opening and closing, they usually have a switch or sensor that changes state when the lid moves. For detecting whether the earphones are inside, the case might measure capacitance—a way of checking if something is touching or near the contacts in the case’s socket. The microcontroller reads these sensors and sends signals to the earphones over a special bus (a set of wires or contacts). Each earphone talks with the case through its own bus, so the left and right buds can get separate messages. This lets the case and earphones coordinate their actions, like going to sleep or waking up.
This setup works well, but it has problems. First, it uses power even when the case is not plugged in. The battery inside the case slowly runs down. Second, the extra parts make the case heavier, thicker, and costlier to make. Third, if the battery dies or the microcontroller fails, the smart features stop working. This is a lot of trouble for users who just want a simple, reliable case.

Some companies have tried to make simpler cases, but they usually give up the smart features. For example, a case with no battery or microcontroller can only charge the earphones when plugged in. The earphones can’t tell if the lid is open or closed, or if they’re in the case or not. This means they can’t save battery by turning off their radio when stored, or wake up when the lid is opened. The user experience isn’t as smooth.
This is the gap the new patent fills. It shows how to make a simple, battery-free, and brain-free case that can still “talk” to the earphones in clever ways. The trick is to use the case’s simple switches and resistors, and the earphones’ own smarts, to create signals on the shared bus. The earphones read these signals and figure out what’s going on—no complicated computer needed in the case. This approach keeps the case simple and cheap, but still gives users those handy smart behaviors they love.
Before this invention, the industry assumed you needed a battery and microcontroller for these smart features. This patent flips that idea. It uses voltage levels and timing on the common bus, plus clever use of resistors and switches, to create a “language” that the earphones can understand. The earphones use their own microcontrollers (which they already need for normal operation) to read these signals and act accordingly. It’s like sending secret codes between the case and the buds, using just simple parts and smart design.
Invention Description and Key Innovations
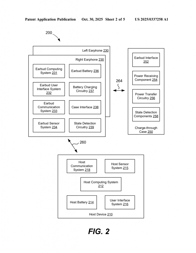
Let’s dive into what this new patent actually claims and how it works in practice. The heart of the invention is a portable electronic system with three main parts: a case, one or two battery-powered accessories (like wireless earphones), and a shared “bus” (set of electrical contacts) that lets them transfer power and communicate simple signals.
The biggest difference from older designs is that the case has no battery and no microcontroller. It’s just a shell with contacts, a lid, some switches, and maybe a few resistors and a voltage regulator. All the “thinking” is done by the earphones’ own control circuits. Here’s how the system works, step by step.

Smart State Detection Without a Brain in the Case
When you put the earphones into the case and close the lid, the contacts on the earphones connect with matching contacts in the case. When you plug in the case to a charger or USB port, power flows through the case and into the earphones. There’s a regulator to make sure the voltage is right for charging the small batteries inside the buds.
But how do the earphones know if the case lid is open or closed? The case uses a simple switch connected to the lid. When the lid is open, the switch connects a resistor or changes the path of electricity in the case. When the lid is closed, the switch does the opposite. This changes the voltage on the shared bus in a way the earphones can detect. The earphones’ control circuits watch the voltage on the bus. If it’s in one range, they know the lid is open. If it’s in another range, the lid is closed. The ranges don’t overlap, so there’s no confusion. This allows the earphones to turn off their radios and save power when stored, and wake up when the lid opens—all without a smart chip in the case.
What if the case isn’t plugged in? The system still works. The earphones can use a “constant current source” to put a small, known current onto the bus. If a certain resistor is present (because the lid is open), the voltage drops to a known value. If the resistor isn’t present (because the lid is closed), the voltage stays higher. Again, the earphones’ control circuits can read this and figure out the lid’s state.
Detecting Docking and Undocking
Another key feature is knowing if an earphone is actually in the case or not. In traditional cases, this is done by the case’s microcontroller measuring changes in capacitance (how much charge the contacts can hold). Here, the job is flipped: the earphone itself figures out if it’s docked by sending a pulse onto the bus and measuring how fast the voltage rises or falls. If the case is present, the pulse behaves differently than if the earphone is out of the case. The earphone can tell the difference and know if it’s docked. This is smart because it means the case doesn’t need any brains—the earphones do all the work with parts they already have.
Battery Disconnect (“Ship Mode”)
The system also includes a clever feature for shipping and long-term storage. When the earphones are not in use for a long time (like when sitting in a box before sale), their batteries can slowly drain and lose capacity. This invention lets the earphones go into a deep sleep mode (“ship mode”) where they use almost no power. They can wake up from this mode when the lid is opened or when the case is plugged in to charge. The earphones manage this mode themselves, using signals on the bus and their own disconnect circuit, with no help from the case. This makes sure the earphones are fresh and ready when the user first opens the box, and helps batteries last longer.
Flexible, Scalable, and Not Just for Earphones
The patent claims cover more than just earphones. The same ideas can be used for any small, battery-powered device that needs a case—like a smart ring, a hearing aid, or a smartwatch. The system can handle one or two accessories at a time, and the contacts and circuits can be adjusted for different shapes and sizes. The core idea—using simple hardware in the case and letting the accessory’s own control circuits do the smart work—can be applied across many products.
Cost, Size, and Reliability Benefits
By taking out the battery and microcontroller from the case, the invention makes the case smaller, lighter, and cheaper. Fewer parts mean fewer things to break. The case isn’t just easier to make—it’s also easier to recycle at the end of its life, since it doesn’t contain a battery. For users, this means a lower cost and a lighter pocket. For manufacturers, it means higher margins and less waste.
Technical Details and Smart Use of Simple Parts
The patent describes specific ways to set the voltages and choose resistor values so that the signals are clear and don’t overlap. This makes the system robust against noise, small errors, and slight differences between devices. It also describes using only two contacts per earphone for both charging and state detection, simplifying the physical design. The common bus can transfer both power and simple signals, reducing the number of parts and keeping the design clean.
Finally, the patent covers ways for the earphones to coordinate with each other, even if both are in deep sleep mode. They can use signals on the bus to wake each other up if needed, so the user always gets a smooth experience. All this is done with standard, off-the-shelf parts—no need for fancy or expensive custom chips.
Conclusion
This patent marks a big step forward for wireless earphone cases and other small gadget carriers. By taking out the battery and microcontroller from the case, but keeping the smart features users love, it opens the door to cheaper, smaller, and lighter products. The key is clever use of voltages, resistors, and the accessory’s own control circuits to send and receive simple signals. This lets the earphones know if they’re in the case, if the lid is open or closed, and when to save power or wake up—all without any brainpower in the case itself. The benefits are clear: lower costs for buyers, fewer parts to fix or replace, and a smoother experience for everyone. This approach could soon appear in not just earphone cases, but also in smart rings, hearing aids, and more—making everyday tech simpler, smarter, and more affordable.
Click here https://ppubs.uspto.gov/pubwebapp/ and search 20250337258.


