Simplifying AR Glasses Design with Optimized Light Pathways for Clearer, More Compact Displays

Invented by Adema; Daniel, Potnis; Shreyas

Augmented reality (AR) eyewear is changing how we see the world by putting digital images in front of our eyes. A new patent application describes a better way to control image rotation in AR eyewear using reflective waveguide facets. This breakthrough makes displays clearer, smaller, and easier to build. In this article, we’ll break down what this invention means, how it works, and why it matters for the future of AR glasses.
Background and Market Context
AR eyewear is quickly moving from science fiction to everyday use. These smart glasses let you see digital images, like directions or messages, while still seeing the real world. To make this magic happen, light from a tiny display must travel through the glasses and reach your eyes without blocking your view of the world.
The core of this technology is a special piece inside the lens called a waveguide. This waveguide acts like a hidden highway for light. It guides light from a display (like a tiny projector or screen) and sends it to your eyes. The challenge is to keep the digital image looking just right—straight, not upside down or turned the wrong way—when it finally appears in your view.
In the past, making sure the image was not flipped or rotated meant the display inside the glasses had to be twisted or placed at odd angles. This made the glasses bulky, heavy, and less comfortable. It also made the manufacturing process more complicated and expensive.
People want AR glasses that look and feel like regular glasses. That means they have to be thin, light, and stylish. At the same time, the images need to be sharp and in the right position, no matter how the glasses are worn. This is a tough problem, and solving it is key to making AR eyewear successful for everyone.

This new patent tackles those issues by rethinking how light travels inside the glasses. By controlling how light bounces and moves through the waveguide, the inventors found a way to keep images properly oriented, all without making the glasses bigger or heavier.
The AR eyewear market is growing fast. Tech giants and startups are racing to release glasses that are not only smart but also comfortable and affordable. The demand for lighter, better-looking, and more reliable AR glasses keeps growing. Solving the image rotation problem is a big step forward in this race.
Scientific Rationale and Prior Art
To understand the invention, let’s look at how waveguides work in AR glasses and what made earlier designs less than perfect.
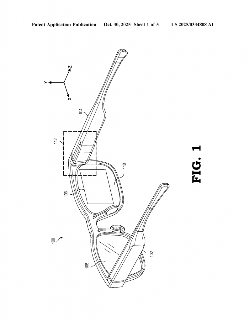
Imagine shining a flashlight into the edge of a clear plastic plate. The light bounces around inside the plate before coming out the other side. That’s a simple waveguide. In AR glasses, a small display shines light into the edge of a thin lens. The light bounces inside the lens until it reaches your eye, thanks to careful reflections from tiny structures called facets or gratings.
There are three main parts inside a waveguide:
– The incoupler, which puts the display light into the waveguide.
– The exit pupil expander (EPE), which spreads the light out so it covers your whole eye.

– The outcoupler, which sends the light out of the waveguide and into your eye.
Traditional waveguide designs use reflective facets set at certain angles. These facets act like tiny mirrors, bouncing the light along the waveguide. The trouble is, when light reflects off a surface at certain angles, it can flip or rotate the image. This means the picture you see could be upside down, turned sideways, or skewed. To fix this, designers had to twist the display or use extra mirrors, making the glasses bulky and complex.
Earlier inventions often put the reflective facet at a steep angle, like 45 degrees or more. This angle makes it easy to design and build the glasses. But it also means the light bounces back to the same side of the waveguide, causing more image flips and rotations. This is a big problem for AR glasses, where the image must always look correct and stable.
Other designs tried using special gratings or more advanced optics. While these helped a bit, they still couldn’t fully solve the problem without adding bulk or making the glasses harder to build. The need for precise alignment and the risk of image distortion remained.
The new approach in this patent is different. Instead of bouncing light back and forth on the same side, it lets light pass from one side of the waveguide to the other. By choosing a special angle for the facet—less than 45 degrees—the light is guided smoothly through the waveguide. This means less image rotation, fewer flips, and a simpler, slimmer design.
This new method builds on what was learned from older designs, but it takes a bold step by changing the angle and placement of the reflective facets. By doing this, it solves the long-standing problems of image orientation, bulkiness, and manufacturing complexity in AR eyewear.
Invention Description and Key Innovations

Now, let’s dive into what makes this invention special and how it works inside AR glasses.
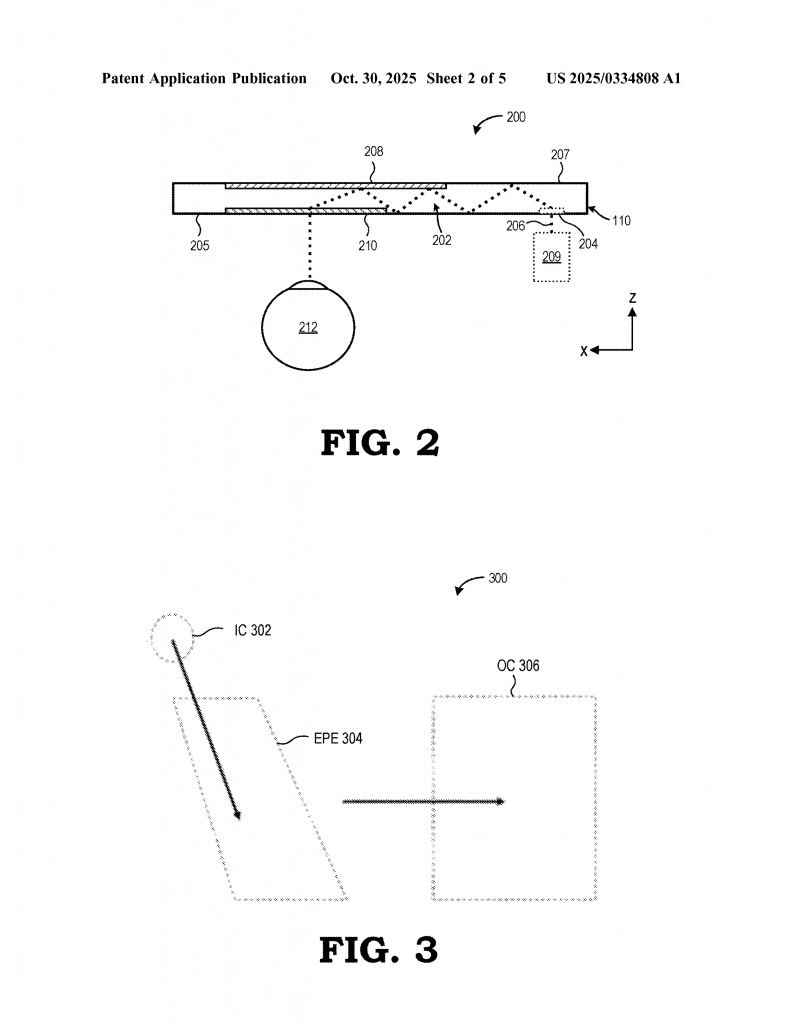
At the heart of the invention is a waveguide with two main surfaces: a first surface (usually the side facing the eye) and a second surface (facing away from the eye). Between these two surfaces, a facet—a small, angled, reflective area—is placed in the path of the light coming from the display. But here’s the trick: instead of placing the facet at a steep angle, it’s set at an oblique angle, less than 45 degrees.
When light from the display enters the waveguide, it is directed toward this facet. Because of the special angle, the light doesn’t just bounce back to where it came from. Instead, it is guided through the facet from the first surface to the second surface (or vice versa). This smooth guidance reduces the chance of the image being flipped or rotated the wrong way.
By carefully choosing the angle of the facet, the system can also correct for any odd angles or orientations that come from the display itself. If the display is slightly tilted or off-center, the facet can compensate, making sure the image that reaches your eye is always right side up and straight.
Another key feature is the use of the facet as part of the exit pupil expander (EPE). The EPE’s job is to make sure the digital image covers your whole eye, no matter where you look through the lens. By making the facet part of the EPE, the invention spreads the light more evenly and keeps the image stable, even as you move your head or eyes.
This design also lets the display be placed in a more natural orientation—often lined up with the image you see. This means the internal display doesn’t have to be twisted or mounted at a weird angle. The result is a slimmer, lighter pair of glasses that feels more like ordinary eyewear.
The invention also supports a new method for guiding light. Light from the display enters an incoupler, travels through the waveguide, passes through the angled facet, and finally exits through an outcoupler toward your eye. At each stage, the light’s path is controlled to minimize any unwanted rotation or flipping of the image.
By letting the facet transmit light from one surface to the other, the design breaks away from traditional limits. It gives AR glasses designers more freedom to choose where to put the display, how to arrange the waveguide, and how to shape the lenses. This means glasses can be made smaller, lighter, and more stylish, all while keeping the digital images sharp and correctly oriented.
The biggest innovation is the use of a reflective waveguide facet at a carefully chosen oblique angle. This simple change ripples through the whole design, making everything else easier, from assembly to everyday use. It also means that AR glasses can look and feel like normal eyeglasses, which is what consumers want.
The patent also covers different ways to make and use these facets. For example, the facet can be made reflective with special coatings or materials, and its angle can be fine-tuned based on the shape of the glasses or the needs of the display. The same ideas can be used in different types of AR eyewear—whether the display is in the corner, above the lens, or built right into the frame.
By solving image rotation and inversion at the optical level, the invention removes the need for extra parts, complex alignments, or odd-shaped displays. This leads to better performance, lower costs, and more comfortable, attractive AR glasses for everyone.
Conclusion
This new approach to image rotation control inside AR eyewear waveguides is a quiet revolution. It takes a small but powerful step—changing the angle and placement of a reflective facet—and turns it into a big win for users and manufacturers alike. The result is AR glasses that are lighter, slimmer, and more stylish, with sharp, correctly oriented images every time you put them on.
As AR eyewear becomes part of our daily lives, inventions like this one are critical. They clear away old technical barriers and open up new possibilities for design, comfort, and performance. The future of AR glasses looks bright—and, thanks to this innovation, the images inside them will always look just right.
Click here https://ppubs.uspto.gov/pubwebapp/ and search 20250334808.


