Seamless Real-Time Solution for Safeguarding Customer Data in Call Centers

Invented by Brown; Patrick, Mitch; James, Verlare; Michael

In today’s world, keeping personal and financial information safe during phone calls is more important than ever. Many people worry about sharing sensitive data like credit card numbers or social security numbers over the phone. Let’s explore a new method and system that helps call centers protect this important information, making sure it doesn’t fall into the wrong hands.
Background and Market Context
Call centers are everywhere—banks, insurance companies, online stores, and healthcare offices all use them to help customers. Every day, people call these centers to ask questions, make payments, or check on their accounts. Often, these calls require sharing sensitive details such as credit card information, birthdates, or social security numbers. This type of information is called Personally Identifiable Information, or PII.
In the past, sharing PII over the phone was not a big concern. People would simply read out their credit card numbers or other personal details to the agent. But as more stories of data theft and fraud appeared in the news, people began to worry. Security breaches at big companies have shown how risky it can be to send private information without protection. No one wants their card number or social security number stolen.
This has led to new rules and standards, like the Payment Card Industry Data Security Standard (PCI-DSS), which tell companies how to handle and protect PII. If a call center’s computer or phone system receives PII, it must follow strict security rules. This can be hard for large centers with hundreds of agents. Making every computer and phone secure is expensive and complicated.
Consumers are also more aware of privacy. Many people feel uneasy saying their card numbers out loud, especially if they’re in a public place or worried about who might be listening on the other end. Sometimes, agents or even outsiders may try to keep or misuse this data. With the rise of online payments, fraud, and identity theft, there’s a strong need for better ways to protect PII in call centers.

Current solutions often ask agents to stop recording the call during the part when PII is shared. But this interrupts quality checks, and sometimes the system doesn’t turn recording off in time. Other solutions use special hardware at each agent’s desk, but that’s expensive, hard to manage, and not foolproof. There’s a real need for a system that can block or hide PII before it ever gets to the agent, without stopping the call or adding lots of equipment.
All of this points to a simple truth: call centers need a smart, cost-effective, and secure way to handle sensitive information during calls. The new method and system described in this patent application aim to fill that gap, making sure PII stays safe from the moment a caller types or says it, to the moment it’s used for its purpose—like making a payment.
Scientific Rationale and Prior Art
To understand why this new system matters, let’s look at how things have been done before, and why those ways have problems.
Traditionally, when a caller gave their credit card number, they either said it out loud or pressed it into their phone keypad. If the number was spoken, the agent—and anyone listening in or recording the call—could hear it. If it was typed, the phone would send tones (called DTMF tones) that could be recorded and turned back into the numbers. Even if the agent could not hear the tones, someone could use special software to figure out what numbers were pressed.
To make things safer, some companies tried to pause call recording while PII was being shared. This meant that the sensitive part of the call was not saved, but it also meant that quality checks and records of the conversation were incomplete. If something went wrong during the payment, there was no way to check what happened. It also sometimes failed to pause in time, letting PII slip through.
Other companies tried to add hardware at each agent’s computer or phone. This hardware would block or change the sensitive information before it reached the agent. But this hardware was costly, hard to set up, and not secure enough—dishonest agents could work around it. In big call centers, with hundreds of agents, installing and maintaining all this equipment was a headache.

There were also attempts to physically cut and re-start calls, removing the PII before connecting the caller back to the agent. But this could cause calls to drop, create confusion, and needed lots of special equipment for each call line. This meant high costs and more things that could break.
The main problem with all these old ways is that they either interrupt the call, add lots of hardware, or are not secure enough. Plus, they make it hard to follow security rules like PCI-DSS, which require that only certain devices can handle PII, and that PII should not be stored longer than needed. In big centers, making every device secure is almost impossible.
The scientific goal is clear: keep PII safe by stopping it from ever reaching the agent or being stored in the wrong place, all without stopping the call or needing lots of new equipment. It should work with different kinds of phone calls—regular phones, internet phones (VOIP), and even calls that use digital lines. It should also be easy to manage and make sure that only a few, secure devices ever see the PII.
This new invention builds on these lessons. It uses smart software and central servers to block, replace, or hide PII before it gets to the agent or their computer, and without stopping the call or needing hardware at every desk. It’s designed to be flexible, so it can work with many kinds of calls, and to be secure, so only the right systems ever see the PII.
Invention Description and Key Innovations
Let’s walk through how this new system works, step by step, and see why it’s so powerful.
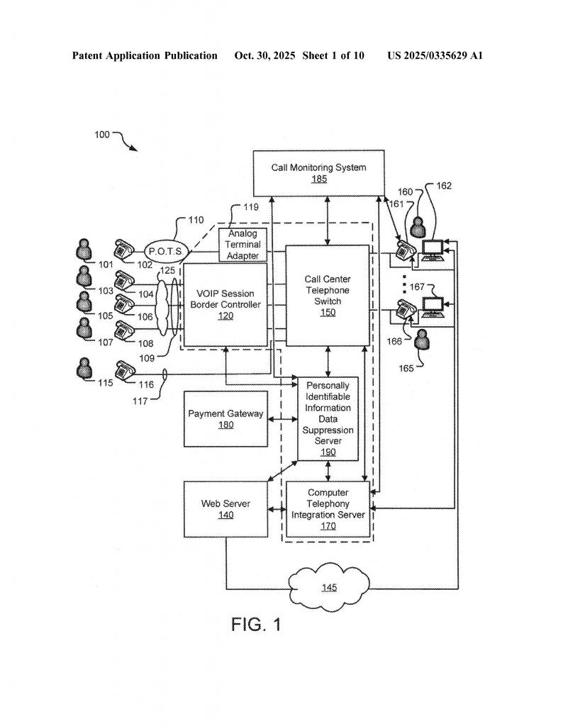
When a caller is about to give PII—like when they’re ready to pay for something over the phone—the system gets a signal. This signal can come from the agent’s computer, when a payment page is opened, or when the agent clicks into a payment field. It can also come when the agent moves their mouse into a special area for PII entry. The idea is to know, ahead of time, that sensitive information is about to be shared.

Once the system gets this “trigger,” it starts watching for PII. When the caller speaks or types their sensitive information (like a card number), the system detects it. It does this using special software that can spot the tones from a phone keypad (DTMF), or recognize when numbers are typed or spoken. This can work for regular phone lines, VOIP calls, or digital lines.
Instead of letting this sensitive information go to the agent or their computer, the system steps in. It blocks or “suppresses” the PII. This can mean removing the PII from the call stream, replacing it with a neutral sound (like a beep), or showing a placeholder (like a star) on the agent’s screen. The rest of the call keeps going—the agent can still talk to the caller, hear their questions, and help with the payment—but they never see or hear the full PII.
This suppression happens in a central, secure server inside the call center. Only this server ever sees the PII. The agent’s phone and computer never get the sensitive data, which means they don’t have to be made PCI-DSS compliant. This saves huge amounts of time and money, and makes the whole system safer.
The system is smart enough to handle different situations. For example:
- It can leave out all of the card number, or just part of it (like showing the last four digits for confirmation).
- It can mute the call during just the sensitive part, so the agent can’t hear the numbers, but can hear before and after.
- It can show the agent that something is being entered, so they know what’s happening, but not the real data.
- It can work with call monitoring or recording systems, so quality checks still happen, but without saving PII.
After collecting the PII, the secure server sends it directly and safely to the payment system (the payment gateway). The agent gets the result of the payment (like “approved” or “denied”) without ever seeing the PII. Once the payment is done, the PII is deleted from the system’s memory, making sure it isn’t saved any longer than needed.
The system also works for other types of PII, like social security numbers, birthdates, or PINs. The same rules apply: only the secure server ever sees the data, and only for as long as needed.
What makes this invention stand out is that it does not need to stop the call, does not need hardware at every agent’s desk, and greatly reduces the number of devices that need to be secured. Only a few central servers need to follow the strict PCI-DSS rules, making it much easier and cheaper to manage. It also works with many different types of calls and can easily be updated or changed as new needs arise.
On top of that, the system can be set up to never store PII on a hard drive or other physical storage. It can keep the data only in the computer’s “registers” (temporary memory) until it’s sent to the payment gateway, then erase it right away. This makes it even safer and helps meet the strictest security standards.
From a technical point of view, the system can use software to watch for the special signals that show someone is about to enter PII. It can be connected to many parts of the call center, like the phone system, agent computers, web servers, and payment gateways. It can also work with both voice and data calls, and can be set up in different ways to fit any call center’s needs.
In summary, this invention gives call centers a way to keep sensitive information safe, follow important security rules, and make customers feel more comfortable. It does all this without interrupting calls or adding lots of extra work for agents or IT teams. It’s a smarter, safer, and more modern way to handle PII in phone calls.
Conclusion
Keeping personal and payment information safe during phone calls is a top concern for call centers and their customers. The method described in this invention changes the game by blocking sensitive data before it reaches agents, using secure central servers rather than expensive hardware or complicated processes. It works with many types of calls, helps companies follow tough security rules, and makes customers feel more secure when sharing their information. As data privacy becomes more important every day, solutions like this are the future of call center security.
Click here https://ppubs.uspto.gov/pubwebapp/ and search 20250335629.


