Precision Drug Delivery Molecules Target Disease Cells While Minimizing Side Effects for Biotech Innovators

Invented by FOX; Ellaine Anne Mariano, PAIDHUNGAT; Madan M., KAVANAUGH; W. Michael, RANGAN; Vangipuram S., JANG; Andrew, NGUYEN; ANNA Faith

Welcome! Today, we’re going to look at a groundbreaking patent application that could change the way we use therapeutic proteins, especially antibodies, in medicine. We’ll break it down in a way that’s easy to understand, looking at why this invention matters, how it builds on past science, and what makes it special. Whether you’re a scientist, a student, or just curious about new medical inventions, this article is for you.
Background and Market Context
Let’s begin with the big picture. Antibody-based treatments have become a major tool for fighting diseases like cancer, autoimmune disorders, and more. These therapies work by using antibodies—special proteins that can find and latch onto disease targets in the body. Imagine them as “guided missiles” that can seek out and attack harmful cells.
But there’s a problem. Sometimes these antibody missiles don’t just attack bad cells—they can also hit healthy cells because many targets are found both in sick and healthy tissues. This can cause unwanted side effects or even dangerous toxic reactions. It’s like trying to get rid of weeds in your garden but accidentally spraying your flowers too.
To solve this, scientists have worked on making “activatable” antibodies. These are special antibodies that stay quiet (inactive) most of the time and only spring into action in certain places—like inside a tumor. They do this by wearing a “mask” that blocks their missile-like binding ability. When the antibody reaches a spot with certain enzymes (called proteases), the mask is removed, and the antibody can do its job.
While this is a big step forward, it’s not perfect. Sometimes the mask doesn’t stay on tightly enough, and the antibody can “breathe”—that means it may pop on and off, leaving the antibody partly active in places where it shouldn’t be. This can lead to the same side effects scientists hoped to avoid.
The new patent application we’re exploring today takes this idea and makes it stronger. It introduces a “dual-anchored” system, where the mask is held on with two points of attachment instead of just one. Think of it as using two locks instead of one to keep a door shut. This makes the mask harder to remove by accident, so the antibody stays safely inactive until it reaches the right spot.
This invention doesn’t just help with cancer. It could be useful for many diseases where you need targeted action with fewer side effects. It could also make treatments safer, let doctors use higher doses, or even help with new types of drugs that work like antibodies.
On the market side, the need for safer, more targeted therapies is only growing. Hospitals, drug companies, and patients all want treatments that work better and cause fewer problems. Many leading companies are exploring “prodrug” strategies—drugs that only become active in certain places in the body. This patent fits right into that trend.

In short, the dual-anchored activatable target-binding protein is a clever way to make antibody drugs (and others like them) safer and smarter. It builds on what’s already out there, but with a simple, powerful twist that could have wide-reaching benefits for patients and drug makers alike.
Scientific Rationale and Prior Art
Now, let’s look at the science behind this invention and how it connects to ideas that came before. Understanding this helps show why the new dual-anchored approach is unique and important.
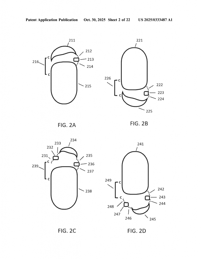
First, a quick review of how activatable antibodies work. Regular antibodies can bind to targets anywhere in the body. Activatable antibodies are designed with a “masking moiety” (MM) that covers up their binding site, so they can’t stick to their target until the mask is removed. The mask is held in place by a “cleavable moiety” (CM)—a little section that can be cut by certain enzymes like proteases, which are more common in some disease spots (like tumors).
The idea of using a mask and a cleavable link isn’t brand new. Earlier patents and research showed that this method could lower side effects by keeping the antibody inactive until it reaches a problem area. But these early designs mostly used a single connection between the mask and the antibody. This single link can be a weak spot. Due to the natural movement of proteins, sometimes the mask will come off or slip, exposing the binding site—even when it shouldn’t.
This “breathing” or dynamic popping on and off of the mask means some antibodies in a batch can still bind to targets where you don’t want them to. Even if this only happens a little bit, it can cause enough unwanted activity to be a problem, especially if the drug is used in high doses or over long periods.
To try to solve this, researchers looked for ways to make the mask stick better. Some tried making the mask bind more tightly, but this can make it harder for the mask to come off when it really needs to. Others tried different kinds of masks or cleavable links.
What was missing was a way to keep the mask firmly in place until the right moment, but still let it come off easily when needed. The dual-anchored approach in this patent does just that.
Here, the mask is attached to the antibody in two ways—by the usual cleavable link, and by a special kind of chemical bond called a “non-alpha-carbon covalent bond.” This kind of bond doesn’t use the main backbone of the protein, but instead links side chains of certain amino acids (the building blocks of proteins). These bonds can include things like disulfide bonds (using cysteine amino acids), isopeptide bonds (between lysine and glutamate, for example), ester bonds, thioester bonds, and a few others.

By adding this second anchor, the mask is much less likely to slip off by accident. The “breathing” is greatly reduced, so only a tiny fraction of antibodies are ever exposed outside the disease site. This means much less risk of side effects.
The patent also shows that you can design these bonds in many ways, picking different pairs of amino acids to make different types of bonds depending on your needs. You can even make antibodies with more than one mask, or use this system for proteins that aren’t antibodies at all.
In summary, while the basic idea of masking and activating antibodies isn’t new, the dual-anchored system overcomes a big weakness of earlier versions. It gives scientists more control, makes drugs safer, and opens up new ways to use activatable proteins in medicine.
Invention Description and Key Innovations
Now for the heart of the matter: how does this invention work, and what makes it special?
At its core, the dual-anchored activatable target-binding protein has three main parts:
1. A target-binding protein (TB)—this could be an antibody, or any protein that can grab onto a target molecule.
2. A masking moiety (MM)—a short piece of protein or peptide that covers up the TB’s binding site, stopping it from working.
3. A cleavable moiety (CM)—a section that can be cut by a specific enzyme, usually found in disease tissue.
What’s new is the way the mask is attached to the target-binding protein. Instead of just one attachment, there are two:

– The first is the regular CM link that can be cut by an enzyme.
– The second is a non-alpha-carbon covalent bond. This is a stable chemical bond between side chains of two amino acids—one on the MM, one on the TB.
This second bond is not part of the usual protein backbone, so it doesn’t interfere with the main structure of the protein. It acts like a safety clip, holding the mask in place until the CM is cut. After the enzyme does its job, the mask can come off, and the TB can bind to its target.
There are several types of non-alpha-carbon covalent bonds used in this invention:
– Disulfide bonds (between cysteine residues): These are common in nature and easy to design.
– Isopeptide bonds (between lysine and glutamate/aspartate or glutamine): These are stable and found in some natural proteins.
– Ester and thioester bonds (using threonine, serine, cysteine, and glutamine): These give more options for different proteins.
– Other special cross-links (like between histidine and tyrosine or lysine and cysteine): These are less common but useful for special cases.
The patent also covers ways to choose the best spots for these bonds. You can use computer modeling to look at the protein’s shape, then pick pairs of amino acids that are close together. By changing certain amino acids to cysteine, lysine, glutamate, or others, you can create the right kind of bond.
Another important part of the invention is flexibility. You can use one or two cleavable moieties (CMs), so the mask can be fully removed or just partly removed, depending on what’s needed for the drug to work best. You can also use different enzymes to cut the CMs, making the system even more precise. For example, you might design a drug that only gets activated in a tumor that makes a certain protease.
The invention works for many kinds of proteins. It covers full antibodies, antibody fragments, bispecific antibodies (which can bind two different targets), single domain antibodies, and even non-antibody proteins. You can also attach other things to the protein, like drugs, imaging agents, or tags to help with purification.
The patent describes how to make these proteins in the lab. You can use recombinant DNA technology—putting the gene for the protein into bacteria, yeast, or mammalian cells, then letting them make the protein for you. After that, you purify the protein, check that the mask is properly attached, and make sure it works the way you want.
The inventors also show that the dual-anchored system really does work better than single-anchored systems. In their tests, the dual-anchored proteins stayed tightly masked and only became active when the right enzyme was present. This means they’re much less likely to cause side effects.
Finally, the patent covers many ways these proteins can be used. You can put them in pharmaceutical compositions (drugs), store them in ready-to-use containers like vials or syringes, or use them in diagnostic kits. There are even methods for using these proteins to treat diseases, especially those where you want targeted action, like cancer or autoimmune disorders.
In summary, the key innovations in this patent are:
– Using a second, non-alpha-carbon covalent bond to anchor the mask more securely.
– Allowing flexible design with different kinds of bonds and different types of proteins.
– Making the system more precise, safer, and less likely to cause side effects.
– Providing clear methods for designing, making, and using these new proteins.
Conclusion
This new patent for dual-anchored activatable target-binding proteins is a leap forward in the world of smart therapeutics. By simply adding a second, well-designed anchor to the mask, the inventors have made antibody drugs—and similar proteins—much safer and more effective. This means fewer side effects for patients, better control for doctors, and new opportunities for drug makers.
The invention builds on a solid understanding of how proteins work and how drugs are made. It gives scientists powerful tools to design better medicines for tough diseases. As medicine moves toward more personalized, targeted treatments, inventions like this will be key to making sure those treatments are as safe as they are powerful.
If you’re interested in the future of antibody drugs, targeted therapies, or protein engineering, keep your eye on this technology. It’s simple, smart, and could have a huge impact on healthcare in the years to come.
Click here https://ppubs.uspto.gov/pubwebapp/ and search 20250333487.


