Next-Gen Augmented Reality Displays Deliver Sharper, More Immersive Visuals for Wearable Tech

Invented by HA; Sangwoo, PARK; Kyunglip, PARK; Hyunsang, LIM; Dongsoo, HAN; Ingu, SAMSUNG ELECTRONICS CO., LTD.

The world of augmented reality is changing fast, and a new patent application is paving the way for the next leap. In this article, we will break down this display device and augmented reality system in simple terms. You will learn why this invention matters, what problems it solves, and how it works. Let’s dive in.
Background and Market Context
Augmented reality, or AR, lets people see digital images on top of what they see in the real world. This could be words floating in the air, pictures on your wall, or directions on the street in front of you. The most common way to use AR right now is with special glasses or headsets. These devices need to be small, light, and easy to wear. They also need to show clear, bright images without blocking your view of the real world.
Today, many AR glasses use something called an image combiner. This is a part that mixes the real world with digital pictures. The problem with image combiners is that they are bulky and heavy. They make the glasses larger and more complex. Users end up with devices that are uncomfortable and not very stylish. People want AR glasses that look and feel like normal glasses, not like something out of a science fiction movie.
Another problem is the quality of the images. Many AR glasses have a narrow viewing angle. This means you can only see the digital images when you look straight ahead. Move your eyes too much, and the image disappears. The images might also be fuzzy or dim, especially in bright sunlight. To fix this, companies have tried to build better displays, but the solutions often make the glasses even heavier and more expensive.
In the market, there is a big push for AR glasses that are light, thin, and stylish. They need to show crisp, bright images without blocking the user’s view. The goal is to let people wear these glasses all day, indoors or outdoors, without discomfort. Industry leaders know that whoever solves these problems first will shape the future of AR.

This new patent application addresses these market needs. It talks about a display device and an AR system that can give users a better experience. The invention promises to make AR glasses smaller, lighter, and more comfortable, while also improving image quality and the user’s field of view. It also aims to keep the glasses transparent, so users can see the real world clearly, even with digital images floating in front of them.
Scientific Rationale and Prior Art
Let’s step back and look at how AR glasses work today, and what has come before this new invention.
Traditional AR devices use an “image combiner.” This part takes light from a display (like a small screen or projector) and mixes it with light from the real world. Imagine a mirror set at an angle in front of your eyes. It shows you both the image from the screen and the world in front of you. But these mirrors, prisms, or beam splitters are heavy and thick. They also block some of the real-world light, making things seem dim or tinted.
Some recent devices use waveguides. A waveguide is a thin piece of clear material, like glass or plastic, that guides light from a display to your eyes. Light enters the edge of the waveguide, bounces inside it, and then comes out toward your eye. Special patterns called “couplers” put the light in and take it out. This helps make AR glasses thinner and lighter. Google Glass and Microsoft HoloLens use this idea. But, these systems still have problems. The images can look washed out, the field of view is still small, and the design can be tricky.
Most waveguide AR systems use displays that shine normal light, like tiny screens or projectors. Some new research uses “coherent light,” which is special light from lasers. Coherent light can make sharper and brighter images. It is also needed for making holograms. A hologram is a real 3D image that seems to float in front of you, not just a flat picture. Making good holographic images is hard because you need to control the light in just the right way.
Another piece of the puzzle is the spatial light modulator (SLM). This is a part that can change the light passing through it, pixel by pixel. It can turn parts of the light on or off, or change its phase (which is like shifting its timing). SLMs can make holograms if they are used with coherent light. Some AR systems use reflective SLMs, which bounce light back. Others use transmissive SLMs that let light pass through.

In the past, it has been hard to make a system that is thin, light, and makes good holographic images. The parts are often not transparent enough, or they block too much of the real-world light. Systems that use holograms have usually been bulky or only work in a lab. There has not been a good way to make glasses that are both see-through and can show holographic images clearly.
Other inventions have tried to solve some of these problems. Some use special couplers like diffractive optical elements (DOEs) or holographic optical elements (HOEs) to get light in and out of the waveguide. Some use “meta surfaces”—these are very thin layers with tiny patterns that bend light in new ways. Some add filters and polarizers to control the light better. But none have put all these pieces together in a way that is simple, thin, and good for both seeing the real world and bright, sharp holograms.
This new patent application brings together these ideas in a new way. It combines a coherent light source, a light guide plate with smart couplers, and a transmissive spatial light modulator. It also uses optional lenses and filters to make the images better. Most importantly, it keeps the whole system transparent and thin, so users can see both the real world and the holograms with minimal fuss.
Invention Description and Key Innovations
Now, let’s walk through the invention itself and explain how it works, what makes it special, and why it could change the AR world.
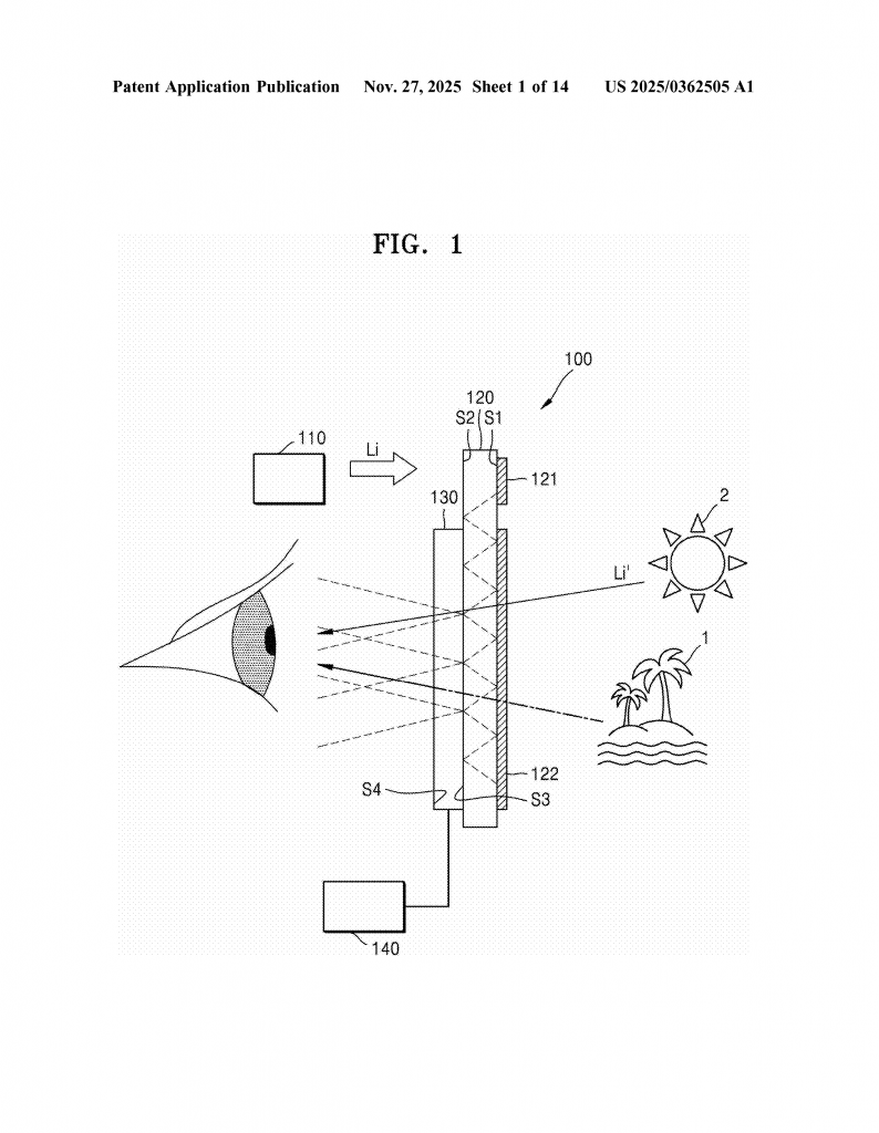
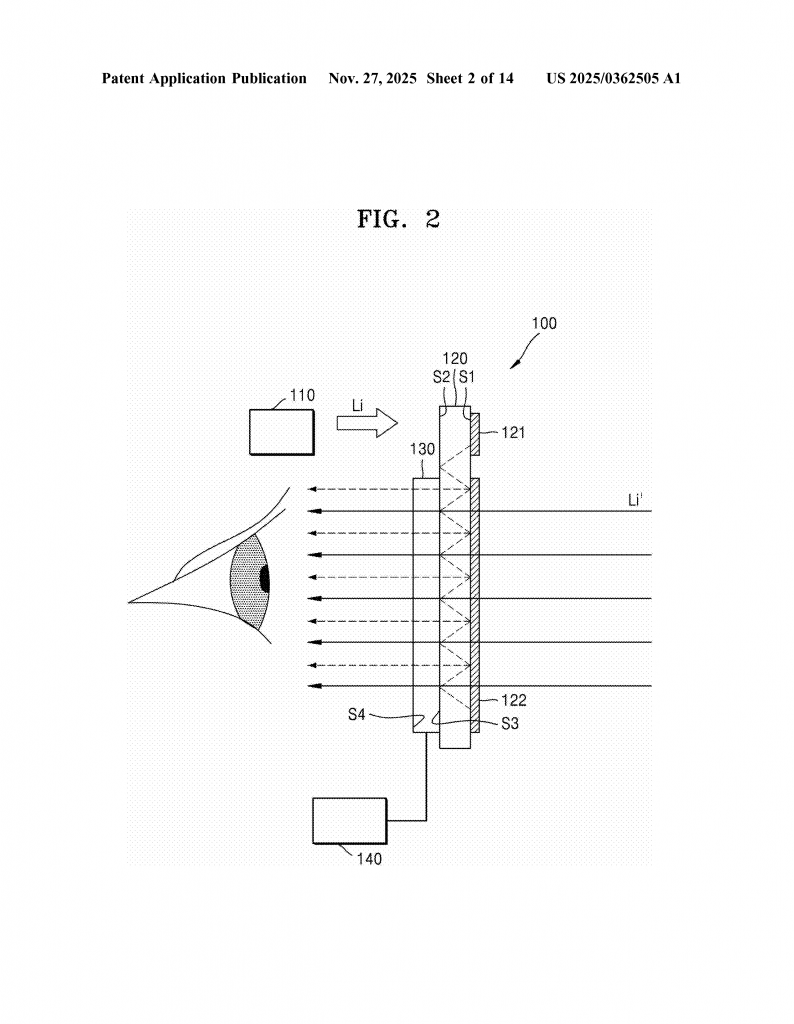
At its core, the invention is a display device for AR glasses or similar products. It uses a light source, a light guide plate, and a transmissive spatial light modulator. Here’s what each part does:

The light source is usually a laser. It makes coherent light, which is needed for sharp, bright holograms. This light is sent into the edge of the light guide plate. The light guide plate is a clear, thin piece—like a glass slide. It has two surfaces: a first surface (where the light goes in) and a second surface (where the light comes out). The light bounces inside the plate until it reaches the out-coupler, which sends the light toward the user’s eyes.
The in-coupler and out-coupler are special patterns or layers on the surfaces of the guide plate. They can be diffractive optical elements, holographic optical elements, or meta surfaces. These patterns control how the light enters, moves inside, and exits the plate. The out-coupler can also focus the light, making the image clearer or adjusting where the image appears.
Once the light leaves the guide plate, it enters the transmissive spatial light modulator. This part is like a very smart window. It can change the light, pixel by pixel, based on the image data it receives. It can make parts of the light brighter or dimmer, or shift its phase, to create a holographic image. The modulator is transparent so that real-world light from outside can also pass through it, not just the light from the display system.
Both the guide plate and the modulator are made from clear materials. This lets outside light pass through, so users can see the real world along with the holographic images. The system is designed so that external light entering the first surface of the guide plate passes through all the way to the fourth surface of the modulator (which faces the user’s eye). This keeps the glasses transparent.
The invention also adds optional elements to make the images even better. A planar lens can be added on top of the modulator to focus the holographic image. This lens can be “polarization-dependent” (only bending light with a certain polarization) or “wavelength-dependent” (only bending light of a certain color). This helps keep the real-world view clear and undistorted, while sharpening the hologram.
Other optional elements include polarizers, dichroic films, and wave plates. These are thin layers that control the light in special ways. A polarizer can let through only light with a certain orientation, blocking glare or unwanted images. A dichroic film can split or combine light of different colors. A wave plate can shift the phase of the light to clean up the image. These elements can be placed between the guide plate and the modulator, between the modulator and the lens, or on the outer surface of the lens. They help remove noise, unwanted reflections, or ghost images and make the hologram sharper and easier to see.
There is also an option to put a polarization filter facing the first surface of the guide plate. This helps control the light coming from the outside world and keeps the image clear.
The system is driven by a processor and driver. The processor creates the data for the hologram, and the driver sends the right signals to the modulator. The system can be built into AR glasses, with all the parts arranged to be thin and light. The glasses can have the display system on one or both eyes, and the processor and driver can be shared between both sides.
A big innovation here is how all these parts are put together to make a device that is thin, light, and transparent. The system uses coherent light and a transmissive modulator to make real holograms, not just flat pictures. The use of thin, transparent materials means the user can see the real world clearly, without heavy mirrors or tinted glass. The design also makes it easy to add filters or lenses to improve the image, without making the device bulky.
The claims in the patent cover many versions of the device, including different types of couplers, lenses, and filters. But the heart of the invention is always the same: a clear, thin system that can show bright, sharp holograms while letting you see the real world.
This invention is actionable for companies looking to build the next generation of AR glasses. It gives a clear roadmap for making devices that are easy to wear, look like normal glasses, and offer a true mixed reality experience. Developers can use the ideas here to make AR devices that people will want to wear every day.
Conclusion
This patent application marks a major step forward in AR display technology. By combining a laser light source, a smart light guide plate, a transmissive spatial light modulator, and optional lenses and filters, the invention delivers a see-through holographic display that is thin, light, and clear. Users can enjoy wide viewing angles, sharp holographic images, and a comfortable fit—without losing sight of the real world. For the AR industry, this invention opens the door to everyday wearable devices that blend digital and real life seamlessly. As AR moves from labs to the streets, inventions like this will shape the way we see and interact with the world.
Click here https://ppubs.uspto.gov/pubwebapp/ and search 20250362505.


