New Separator Technology Boosts Safety and Performance in Rechargeable Lithium Batteries for Electronics and EVs

Invented by KO; Chang Hong, KIM; Soo Hee, PARK; Sam Jin, LEE; Eon Mi, LEE; Min Jeong, SEO; Jin Weon, HAN; Yoo Bin, SAMSUNG SDI CO., LTD.

New inventions in battery technology are changing how we use electronics, from phones to electric cars. A recent patent application introduces a new kind of separator for rechargeable lithium batteries. In this article, we’ll break down what this separator is, why it matters, and what makes it different from older technologies. We’ll keep things easy to understand, so you can see how this could shape the batteries of tomorrow.
Background and Market Context
Rechargeable lithium batteries are everywhere. They power smartphones, laptops, electric vehicles, and even some home energy systems. As these devices become more popular and as people want batteries to last longer and work more safely, companies are searching for ways to improve every part of the battery. One of these parts is the separator.
The separator is a very thin layer inside the battery. It sits between the positive and negative parts (the electrodes) and keeps them from touching each other. If they touch, the battery can short-circuit, get hot, or even catch fire. But the separator also needs to let small lithium ions pass through so the battery can work.
In the past, separators were made from simple plastics like polyethylene or polypropylene. These materials are good at stopping the battery from short-circuiting, but they can shrink or melt if the battery gets too hot. When this happens, the risk of battery failure goes up.
Because of this, battery makers want separators that are not only strong and safe, but also stable when soaked in the battery’s electrolyte (the liquid that helps move ions back and forth). They also want separators that don’t shrink or change shape much, even at higher temperatures or when wet. These improvements help make batteries safer and give them a longer life.
Demand for better batteries is growing fast. Electric cars need batteries that last longer and are less likely to fail. Portable electronics need batteries that are safe, even when dropped or exposed to heat. This new separator invention comes at a time when these needs are more important than ever. The right separator can make a big difference in the safety, stability, and performance of the batteries that power our modern world.

Scientific Rationale and Prior Art
Let’s talk about how separators work and what older technologies looked like. Traditional battery separators are usually made from thin plastic films. These films are full of tiny holes (they are “porous”), which let lithium ions pass through but stop the electrodes from touching.
Older separators often used polyethylene or polypropylene because these plastics are cheap and easy to make into thin films. But there are problems. When batteries get hot, these plastics can shrink, causing the electrodes to touch. Even a small amount of shrinkage can make a battery unsafe.
To solve this, some companies added special coatings to the separator’s surface. These coatings might include ceramic particles or special polymers that don’t melt easily. The idea is that if the separator gets too hot, the coating stops it from shrinking.
Some prior inventions tried using ceramic-filled coatings, like alumina or silica, for added heat resistance. Others used polymers such as polyvinylidene fluoride (PVDF) or styrene-butadiene rubber (SBR) as binders to help hold the ceramic in place. Cross-linking agents, which help tie the polymer chains together for added strength, have also been used—common examples being epoxy or isocyanate compounds.
But these approaches have their own downsides. Ceramic coatings can make the separator stiff or brittle. Some binders are not compatible with the battery’s electrolyte, which can cause them to break down over time. Others do not give enough bonding strength, so the coating can peel off or flake when the battery is made or used.
Furthermore, many of these coatings do not solve the problem of swelling or shrinking when soaked in the electrolyte. Over time, the separator might lose its shape, leading to battery failure. Also, some cross-linking agents are not very effective at keeping the coating together, especially if the battery is used in tough conditions.
Researchers have also tried adding materials like carboxymethyl cellulose (CMC), a water-soluble polymer, to improve the flexibility and wetting of the separator. While CMC can help, it doesn’t address all the problems, especially when it comes to heat and chemical resistance.

So, the prior art shows a lot of effort to make separators safer and more stable, but there are still gaps. Shrinkage under heat, loss of coating integrity, low bonding strength, and poor stability in the electrolyte are all problems that older solutions do not fully fix.
The new separator presented in the recent patent application builds on this past work but introduces some clever changes that aim to solve these long-standing problems.
Invention Description and Key Innovations
Now, let’s look at the details of the new separator and what makes it special.
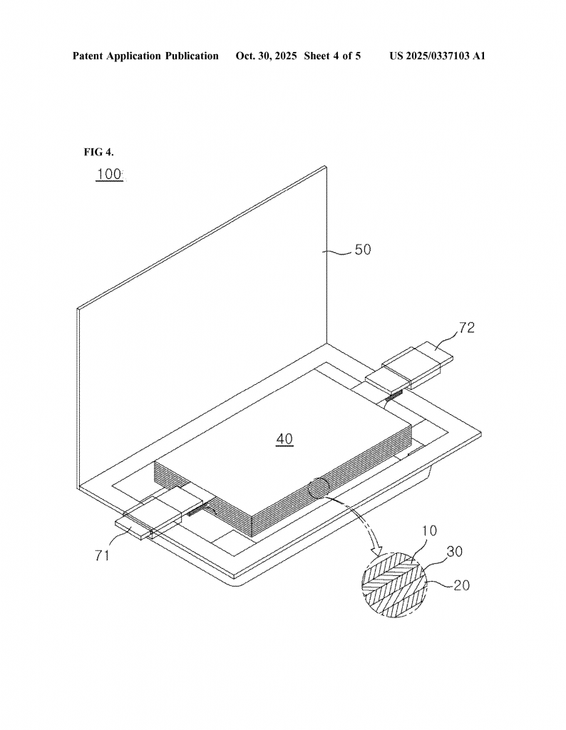
This separator is made from two main parts: a porous substrate (like a thin plastic film) and a coating layer that goes on one or both sides of the substrate. The coating layer is the heart of the invention.
The coating layer is a mix of four main ingredients:
1. A (meth)acryl-based binder – this is a special polymer that holds everything together. It is made from parts called (meth)acrylamide and (meth)acrylamido sulfonic acid (or their salts), and sometimes also (meth)acrylic acid or (meth)acrylate. This binder is designed to be strong, heat-resistant, and to bond well with the substrate and the filler. The (meth)acryl-based binder is chosen because its chemical structure helps it stick to the separator and the electrode, and it forms strong hydrogen bonds with the filler.
2. A cross-linking agent – this is a chemical that helps tie the binder molecules together, making the coating tougher and less likely to shrink or dissolve. The patent focuses on two special types: aziridine-based and carbodiimide-based cross-linking agents. These chemicals are very good at making the coating layer strong and stable, especially when exposed to heat or electrolyte.

3. Carboxyalkyl cellulose or its salt – this is usually carboxymethyl cellulose (CMC) or a related material. This ingredient helps make the coating more flexible and helps it soak up the electrolyte. It also reacts with the cross-linking agent, making the whole coating even more stable.
4. A filler – this is usually a very fine powder, often made of ceramics like boehmite or alumina. The filler gives the coating heat resistance and helps make the separator less likely to shrink. The invention calls for the filler to be very fine (less than 1 micron in diameter) and sometimes surface-modified to add amino groups to make it stick better to the binder.
Let’s talk about the key innovations:
First, the binder is not just any polymer. By using (meth)acrylamide and (meth)acrylamido sulfonic acid units, the binder gets both strong hydrogen bonding (for better strength and heat resistance) and bulky side groups (which help prevent the binder from moving around too much when hot). This means the separator keeps its shape even when things get warm.
Second, the cross-linking agent is chosen to be very effective at tying the binder and the CMC together. Aziridine-based cross-linkers are especially good at this, giving the coating a tough, interconnected structure. This helps the separator resist shrinking, even when it’s soaked in electrolyte or exposed to high temperatures. Carbodiimide cross-linkers offer a similar benefit and give battery makers a choice, depending on the exact needs of the battery.
Third, by including a good amount of carboxymethyl cellulose (up to 70% of the coating content), the coating is both flexible and stable. The CMC not only improves electrolyte soaking, but also reacts with the cross-linker, which makes the whole coating less likely to fall apart or shrink in use.
Fourth, the use of very fine, sometimes surface-modified filler particles helps the separator resist heat and stay porous. By making the particles small (less than 1 micron), the coating stays smooth and even. Surface modification with amino groups (using chemicals like amino silanes) helps the filler stick even better, so the coating doesn’t flake or crack.
The proportions of all these ingredients are carefully balanced. The binder usually makes up 30-70% of the mix, the cross-linker 5-30%, and the CMC 20-70%. The filler is added in a high ratio to the binder (as much as 50 parts filler to 1 part binder), which gives the coating its heat resistance and stability.
Importantly, the coating is thin—only about 1 to 3 microns. This means it doesn’t block the flow of ions, so the battery can still deliver good power and charge quickly.
Tests show that separators made this way have much lower shrinkage rates, both when dry and when soaked in electrolyte. For example, shrinkage rates in both the mechanical and transverse directions are less than 5% (often much lower), while older separators may shrink by 30% or more. This is a huge improvement for battery safety and lifespan.
The invention also works with many kinds of battery designs, from cylindrical to pouch to prismatic batteries. It can be used in electric vehicles, consumer electronics, and anywhere that needs a safe, long-lasting lithium battery.
Conclusion
This new separator is an important step forward for lithium battery technology. By carefully choosing and combining a unique binder, strong cross-linkers, flexible cellulose, and fine ceramic fillers, the inventors have created a separator that resists shrinking, stays strong in the electrolyte, and keeps batteries safer for longer.
As battery-powered devices become more common and as the world moves toward cleaner energy, such improvements are essential. This separator design addresses real-world problems faced by battery makers and users, and could help lead to safer, more reliable, and longer-lasting batteries in everything from cars to smartphones.
If you work in battery manufacturing, materials science, or even if you’re just interested in how everyday technology is getting better, this patent is worth watching. It shows that even small changes, when done right, can have a big impact on the devices we use every day and the future of energy storage.
Click here https://ppubs.uspto.gov/pubwebapp/ and search 20250337103.


