Integrated AI Training System Boosts Cloud Agent Accuracy and User Satisfaction for Enterprises

Invented by SOHUM; Anuj Khanna, FOONG; Charles Yong Jien, RAMAKRISHNA; Madhusudana, Affle (India) Limited, India

Artificial intelligence is everywhere now, making our lives easier. But how do you make sure AI learns the right things, keeps up with changes, and stays safe? Today, we’re looking at a new patent that shows a way to manage AI agents in the cloud that is smart, safe, and always improving. Let’s break down what this means and how it could change the way we use AI.
Background and Market Context
AI is part of our everyday world. We use it when we talk to a chatbot, get shopping suggestions, or ask our phones for help. To work well, AI needs to learn from lots of data. This learning takes time and sometimes puts our private information at risk. People want AI that knows them, changes as they do, and keeps their data safe.
Most AI agents today learn by going through huge piles of information. This can take a long time. Sometimes, they ask the same questions over and over, wasting your time. If you use more than one AI agent, you might have to train each one from scratch, which is tiring and annoying. Plus, if the AI gets things wrong, you might not know how to fix it, or even if the mistake was noticed.
Another big worry is privacy. AI often needs to use personal data to help you, but if that data is not protected, it can be stolen or misused. People want to know that when AI learns, their information is locked down tight. They also want to trust that if something strange happens, like a sudden change in their AI’s behavior, it gets caught and fixed right away.
The market is full of tools that try to solve these problems, from smart assistants to big business systems. But most do not fully solve the issues of learning speed, data privacy, and ongoing improvement. Companies are searching for better ways to train AI faster, keep it up-to-date with user needs, and make sure it is safe inside the cloud.
This patent enters a world where everyone wants their AI to be smart, quick to adapt, and safe. The demand is high, and the need for a solution is urgent.
Scientific Rationale and Prior Art
To understand what’s new here, let’s look at how AI has been trained and managed in the past.

The classic way to train AI is to give it lots of labeled data. For example, to teach an AI to recognize cats, you show it thousands of pictures labeled “cat.” This can take a lot of time and people. If the AI is a chatbot, you might have to type in all your preferences and details before it gets things right. If you use many AI tools, you have to repeat this process for each one, which is slow and wasteful.
Some systems try to learn as they go by watching how you interact. They pick up on what you like or don’t like and try to adjust. But if you change your mind or your needs change quickly, these systems may not notice, or may take too long to catch up. Sometimes, they get stuck with old habits and don’t ask you if things are still right.
A few AI systems use what’s called “continuous learning.” They keep listening and updating themselves. But even then, they can ask the same questions again or forget what they already know. This can make users frustrated because they feel like the AI is not really learning.
On the privacy side, most AI systems store your data in the cloud. Some use encryption, but not all keep track of every change or access. If something goes wrong, it might be hard to see what happened or who did what. And if you have to prove that your data was handled correctly, you may not have a full record.
Prior patents and research have tried to fix these problems. Some invented ways to speed up training, like sharing learning between AI agents. Others built better privacy tools, like secure “enclaves” in the cloud, but didn’t link them to how the AI learned and adapted. Few systems bring all these ideas together: smart learning, ongoing adaptation, and deep security in one simple package.
This new patent builds on these ideas but goes further. It combines several powerful concepts:
First, it uses a tree-like way to ask questions, so the AI only asks for missing pieces and doesn’t repeat itself. Second, it checks regularly if your preferences or behavior have changed, and reacts fast if something odd happens. Third, it lets both people and other AI agents give feedback to fix mistakes. And finally, it does all this inside a super-secure part of the cloud, logging every action so you can always see what’s going on.
In sum, while the pieces have been tried before, putting them all together in one system—one that is smart, secure, and always learning—marks a new step in AI management.
Invention Description and Key Innovations

This invention describes a clear, hands-on way to make AI agents smarter, safer, and more helpful. Let’s explore the main features and how they work together.
Secure Cloud-Based Enclave
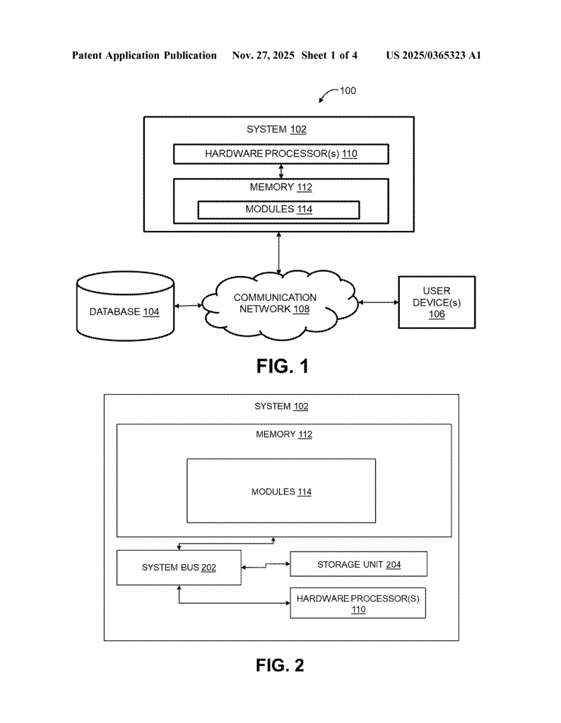
At the heart of this invention is the secure cloud-based enclave. Think of this as a strong, locked room in the cloud. All AI learning, decision-making, and data storage happen inside this room. Only trusted people and systems can enter. Everything that happens is recorded, so if there ever is a question or problem, you can always look back and see what was done and when. All data—whether it’s what you told the AI or how it changed over time—is encrypted and cannot be changed or deleted by accident.
AI Agent as Primary Interface
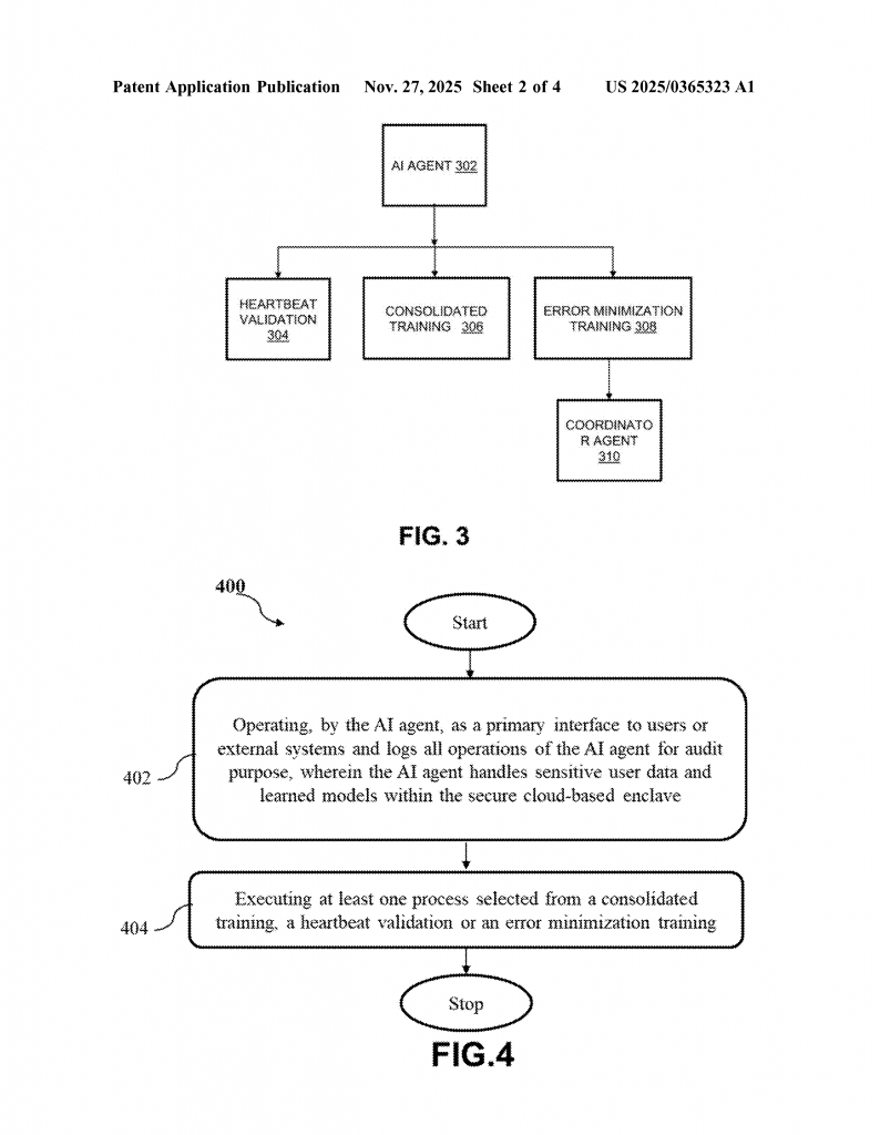
The AI agent is what you talk to through your phone, computer, or other device. It is the main face of the system. When you ask a question or give a command, the agent is the one listening, learning, and acting. It keeps a log of every action, which goes into the secure enclave.
Consolidated Training
This is one of the most clever parts of the system. Instead of asking you the same things over and over, the AI uses a tree-structured method for gathering information. This means it checks what it already knows and only asks for what’s missing. For example, if it knows your birth year but not the day, it just asks for the day. This makes training faster and less annoying.
But it goes further. If the AI can guess something based on what it knows (like guessing you like pasta if you say you love Italian food), it does so and attaches a “confidence score.” This score shows how sure the AI is about its guess. If it’s not very sure, it might ask you to confirm or clarify. All these guesses and scores are saved, so future learning is faster and smarter.
Heartbeat Validation
People change. What you liked last year may not be what you like now. The heartbeat validation keeps tabs on your preferences and behavior. It checks for changes by comparing what you do now with what you did before. If it notices a small change, it might ask you to clarify. If the change is big or strange—like suddenly making risky choices in a finance app—it can trigger a security check or even lock down sensitive actions until you prove everything is okay.

This constant checking means the AI always stays in tune with you. If needed, it can retrain itself automatically so it never falls behind your needs. If something looks very odd, security steps kick in to keep your data and actions safe.
Error Minimization Training
No AI is perfect. Sometimes it makes mistakes or doesn’t match what you want. This invention gives the AI a way to learn from its mistakes. It watches how happy you are with its answers and actions. If you or a supervisor (called a coordinator agent) spot a problem, the AI can be told how to fix it.
The fix is not just for one agent. If there are other AI agents working together, the correction is shared with them too. This way, everyone learns at once, and future mistakes are less likely. The process is guided by prompts and feedback, making sure that every update really makes things better.
Coordinator Agent and Feedback Loop
Sometimes, more than one AI or even a human needs to check a change before it goes live. The coordinator agent is a special supervisor. It reviews and approves any behavior updates. Once approved, these updates are sent out to all related AI agents. This keeps everything in sync and stops any confusion or conflicts.
Feedback can come from you (the user), from the AI itself, or from this coordinator. All feedback gets logged, checked, and used to make the system better over time.
Cyclic and Continual Adaptation
All these processes—training, checking for changes, and fixing errors—happen in a cycle. The AI never stops learning. It keeps checking, adjusting, and improving using the latest data. If any part triggers an alert (like a big change in your behavior), the right process kicks in automatically.
Immutability and Audit Trails
Every action, change, or feedback is saved in a way that cannot be changed or erased. This is called an immutable audit trail. It means you always have proof of what happened. For companies, this helps with compliance and trust. For users, it means you know your data is handled with care.
Practical Example
Imagine you use an AI-powered shopping assistant. When you set it up, it asks you only the questions it needs, skipping anything it knows from before. It learns you like certain brands and uses this to make smart suggestions, but if it’s unsure, it asks for confirmation. If your tastes change, it notices and adjusts. If something odd happens—like you suddenly start buying very expensive items—it checks with you, and may pause transactions until you confirm. If you complain that a suggestion wasn’t helpful, the AI learns from this, and so do the other agents in your shopping circle. Every step is logged and protected, so both you and the company are safe.
Why This Matters
Users get AI that is quick to learn, never repeats itself, and always keeps up with their changing needs. Companies get a system that is safe, compliant, and easy to monitor. No more wasted time training multiple agents, no more mystery about how your data is used, and no more slow or out-of-date AI responses.
For businesses and developers, this means less time spent fixing AI mistakes and more time making great products. For regulators and privacy advocates, the system offers strong protections and clear records of what happened. For users, it brings peace of mind and a smoother experience.
Conclusion
AI is only useful when it learns fast, adapts quickly, and keeps your data safe. This patent lays out a smart, simple, and secure way to do all three. By using a tree-like way to ask questions, always checking for changes, and learning from every mistake, the system keeps getting better without ever risking your privacy. Every action is logged, every change is tracked, and every bit of data is protected.
If you want AI that acts more like a helpful partner and less like a nosy robot, this invention shows the way. As more companies and users demand faster, safer, and more personal AI, systems like this will set the standard for how smart agents should work.
For businesses, now is the time to look at these new methods and start building AI tools that don’t just meet today’s needs, but are ready for tomorrow’s changes and challenges.
Click here https://ppubs.uspto.gov/pubwebapp/ and search 20250365323.


