Innovative Spring Design Boosts Battery System Reliability and Performance for Electric Vehicles

Invented by URBANITSCH; Michael

Battery systems in electric vehicles are changing fast. New inventions are making batteries safer, easier to build, and quicker to repair. One new idea is a special spring for battery systems. This spring, used inside a part called a Cell Contact Unit (CCU) carrier, solves many old problems. In this article, we’ll break down this patent, explain the market needs, discuss why the science works, and show what is new and special about this spring. By the end, you’ll understand how such a simple part can make a big difference in electric cars and battery packs.
Background and Market Context
Electric cars are everywhere today, from family vehicles to delivery vans. They use big battery packs made of many smaller battery cells. These cells are joined together with metal parts called busbars, and are held by frames and other supports. For the car to work, the battery system needs to be strong, safe, and easy to put together.
Companies want batteries that are easy to assemble and fix. In the past, if something inside the battery went wrong, you often had to take out the whole battery pack. This is hard because these battery packs are heavy and very large. Also, fixing just one small part, like a spring or connector, could take a lot of time and money.
Another need is for battery systems to be safe. The frames and carriers must hold everything tightly, even when the car moves, shakes, or gets hot and cold. Springs help with this, as they can press parts together and keep them in place. But old springs, like leaf or coil springs, are often bulky or not strong enough in the right direction. Sometimes, they bend the wrong way or take up too much space.
As more people buy electric cars, the pressure grows to make batteries lighter, cheaper, and more reliable. Making the springs and carriers inside the battery pack better is one way to meet these needs. A spring that takes up less space, is easy to make, and only bends in the right way can help car makers save time and money. It can also help car owners by making repairs easier and making batteries last longer.

In short, the market wants battery systems that are easy to build, safe to use, and simple to repair. Every little part matters. This is why inventors are looking for new ways to design springs and carriers inside battery packs.
Scientific Rationale and Prior Art
Springs are everywhere in machines. Their job is to push back when you press them, or to hold things tight. In battery systems, you find springs in connectors, holders, and carriers. They keep busbars in place, help with vibration, and make sure connections stay tight.
Traditional springs for these jobs include leaf springs, coil springs, and sometimes S-shaped springs. Leaf springs are flat strips that bend, but they can bend in more than one direction unless you guide them carefully. Coil springs are like little spiral wires, but they take up space and are hard to fit in thin places. S-shaped springs are small and flat, but can be weak if not made well.
In the past, most battery springs were made of metal and shaped by stamping or bending. Some were tiny, but making them small enough for tight spaces in a battery pack can be hard. Also, most old spring designs do not control exactly how the spring bends. This means the spring can move the wrong way, or not press hard enough where it’s needed.
Another problem with old springs is that they are not always easy to make in large numbers. To save money, battery makers want parts that can be made by injection molding, which is cheap and fast for both plastics and some metals. But most old spring designs are not good for injection molding. They have shapes that are hard to pull out of a mold.

A good spring for a battery system needs to be flat, to save space. It should bend mostly in one direction, so it presses the right way. It should be strong from the sides, so it does not twist or buckle. The spring also needs to be easy to make, even from plastic, and should work with other parts like clips and busbars.
Some older patents show springs with holes or slots to make them bendier, but these designs often lack the right balance of flexibility and strength. They may bend too much, or not enough, and often cannot be made with simple molds. Also, they may not keep force evenly across the part, which can cause weak spots.
So, while simple springs are common, there was still a need for a spring that is flat, easy to make, bends only as needed, and works well with other battery parts. This is the problem the new patent tries to solve.
Invention Description and Key Innovations
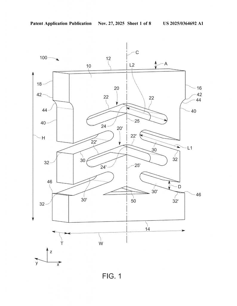
The new invention is a flat spring for a battery system, designed for use in a Cell Contact Unit (CCU) carrier. Here’s what makes it special:
At its core, the spring is a thin, flat piece (the “main body”), shaped like a rectangle or square. On this main body, there are special cutouts. The most important are the V-shaped openings. These cutouts look like the letter “V” and have sides called “legs.” The legs are cut through the thickness of the spring, making the spring easy to press in one main direction (called the “spring action direction”). The V-shape is placed so that both sides are even, split by a line down the middle (the “central axis”).

On each side of the spring, there are also slots, starting at the edges and reaching toward the middle. These are the “slot openings.” They are cut through the thickness, and each starts at the side and goes inward, almost reaching the center line but not touching each other. These slots are placed in line with the legs of the V-shaped cutout, giving the spring a neat, balanced look.
What does this do? When you push on the spring, it bends mainly in one direction. The V-shaped cutout and the slots make the spring easy to compress, but keep it stiff from the sides. This means the spring does not twist or bend sideways. The slots also help control how far the spring can be pressed—the inside edges of the slot can touch, stopping the movement. This makes the spring safer and more predictable.
The spring can also have extra features. For example, the slots can be made longer or shorter to change how soft or stiff the spring is. The ends of the slots can be curved to help the spring bend smoothly. In some versions, there are more than one V-shaped cutout and more than one pair of slots, arranged in a row. This lets the spring bend more, while still staying flat and strong from the sides.
One key point is that this spring can be made from metal or plastic. If made from plastic, it can be shaped by injection molding, which is fast and cheap. The design uses shapes that are easy to mold and remove from the mold.
The spring is used in a bigger part called the CCU carrier. The CCU carrier is what holds the spring, as well as clips and busbars. The spring sits inside the carrier, and when the carrier is pressed into place during battery assembly, the spring bends and allows the clip to snap in. Once in place, the spring keeps the clip tight, holding the busbar and other parts with the right amount of force.
The CCU carrier itself has at least two clips: one in line with the spring (the “first clip”), which moves when the spring bends, and one going sideways (the “second clip”), which holds the busbar. Because the spring is stiff from the sides, it keeps the busbar locked in place even while the main clip is being pressed during assembly.
The battery system as a whole gets many benefits from this design. The springs and carriers are small and flat, saving lots of space. The spring bends only as much as needed, and only in one direction, keeping things tight and safe. The design spreads force evenly, so there are no weak spots. The parts are easy to make, especially by injection molding, which means they are cheap and can be made by the thousands. Also, if something goes wrong, it is much easier to replace just the CCU carrier, rather than removing the whole battery pack.
The patent also covers a method for putting the battery system together. Busbars are first attached to the CCU carrier. Then, the carrier (with the spring inside) is clipped into a frame, where the first clip bends and snaps into place thanks to the spring. After that, the frame is attached to the side of the battery cell stack. This whole process is simple and quick. The spring’s design makes sure that the busbar stays tight during assembly, and everything lines up as needed.
To sum up, the key innovations are:
– The use of a V-shaped cutout and paired slots in a flat spring, giving flexibility in one direction but stiffness from the sides.
– The ability to easily control how much the spring can bend by changing the length of the slots or adding more V-shaped cutouts.
– A design that works well with injection molding, making it cheap and easy to produce.
– Use inside a CCU carrier with two clips, letting the spring hold busbars firmly during assembly.
– An assembly method that saves time and allows easy repairs.
Conclusion
Small parts can make a big difference, especially in something as important as a battery system for electric vehicles. This new spring design takes a simple idea—a flat spring—and makes it work better by using clever cutouts and slot shapes. The result is a spring that saves space, is easy to make, and only bends where you want it to. Used inside a CCU carrier, it helps hold all the important parts of the battery together safely and tightly. It also makes building and fixing battery packs easier and cheaper.
For anyone making or using battery systems, this invention shows how a fresh look at even the smallest parts can lead to big improvements. The flat spring with its V-shaped opening and side slots is a new tool for building better batteries, and it could soon be found inside electric vehicles everywhere.
Click here https://ppubs.uspto.gov/pubwebapp/ and search 20250364692.


