Headline: Prevent Duplicate Mobile Payments with QR Code Tracking for Enhanced Checkout Security Industry/Application Hint: Retail, Mobile Payments Why this works: This headline clearly conveys the innovation (“Prevent Duplicate Mobile Payments”), the method (“QR Code Tracking”), the key benefit (“Enhanced Checkout Security”), and hints at the industry (retail and payments). It addresses pain points for business leaders—lost revenue and customer trust—while being concise, actionable, and highly relevant for those considering new payment technologies.

Invented by TERO; Jacqueline Nicole, FRANKLIN; Keegan, BABCOCK; Patrick, Capital One Services, LLC

The way people buy things is always changing. Phones and codes have made paying for things fast and easy. But as technology grows, new problems and new chances appear. This article will walk you through a new patent application about QR code purchases, showing why it matters, how it works, and what makes it special.
Background and Market Context
If you’ve shopped at a store or ordered food lately, you’ve probably seen a QR code. Maybe you scanned it with your phone to see a menu or pay for your order. QR codes are little square pictures made up of black and white dots. When you scan them, your phone reads a special message inside.
These codes are everywhere now, especially for shopping. Stores like them because they are simple to print or display on a screen. You just scan, pay, and go. You don’t need to swipe a card or touch cash. For customers, it’s quick and mostly safe.
But there are problems. Sometimes, when people scan a code to buy something, they might not see the payment go through right away. Maybe the Wi-Fi is slow. Maybe the app takes too long. So, they scan again, thinking the first scan didn’t work. This can cause them to pay twice for the same thing by mistake. That’s bad for shoppers and for stores. Stores also have trouble tracking who buys what, especially when the payment goes through different apps or banks.
Big stores with lots of customers want to know what people are buying, when, and how often. This helps them keep the right things in stock and send out special deals. But when people use different payment apps, the store’s own systems might not see all the details. They miss out on important facts that could help them grow their business.
So, merchants want a way to make QR code payments easy while also keeping track of purchases. They want to stop people from paying for the same thing twice by accident. They want to bring together all the data, even if customers use different payment apps like PayPal or Zelle. They also want to learn which products are most popular and what types of shoppers are buying them.
This is the world where this new patent comes in. The invention is designed to help stores and shoppers by making QR code payments safer, smarter, and more useful. It stops double payments before they happen and gives stores a better view of their sales, no matter which payment app is used.

The invention is not just about money moving from a customer to a store. It’s about using that moment to learn more and to make shopping better for everyone. As more people use phones to buy things, this kind of system will become even more important.
Scientific Rationale and Prior Art
Now, let’s talk about what already exists and why it’s not enough. QR codes have been around for years. They were first made for tracking car parts, but now people use them everywhere. Most QR codes for shopping just point you to a website or open a payment app. Once you pay, the store hopes their system gets a message about it. Sometimes it works smoothly; sometimes, not so much.
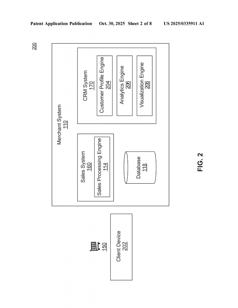
Many stores use their own point-of-sale (POS) systems. These systems track what is sold and help manage inventory. But if a payment goes through an outside app, like a bank app or a digital wallet, the store’s POS might not see it right away or at all. This leaves a gap. The store might not know that a sale happened, or who bought what.
Other solutions try to bring all payment types into one place. Some apps let customers choose from different payment providers at checkout. But even then, if the payment is done on the customer’s phone, the store’s system might not get enough information to connect the payment to the customer or the product.
When it comes to stopping double payments, some systems use simple tricks. For example, they might put a time delay on the QR code so it can’t be used again for a few minutes. But that’s not smart enough. It could block real, needed sales or still miss double payments if the codes are copied or reused.
Some payment apps let customers see their own payment history, but this doesn’t help the store. The store still can’t see if someone paid twice or if two different people paid for the same thing. And if a store wants to know which customers come back often, or which products sell best at different times, these apps don’t always show that.
There is another problem. If a store wants to send a receipt or a coupon to a customer, they need to know who the customer is. With cash, that’s impossible. With credit cards, it’s hard unless the customer signs up for a loyalty program. With QR code payments, especially through third-party apps, it’s even harder. The store might not get any details about the buyer unless the system is built to collect and connect that information.

Some systems try to use cookies or device IDs to track customers online, but in the store, on a phone, those methods don’t always work. People use many different phones and apps, and they value privacy, so any new solution has to be careful with data and follow the rules.
So, the prior art — the things that already exist — have these limits:
– They don’t always stop double payments in a smart way.
– They can’t always track who bought what, across different payment apps.
– They don’t give stores a clear view of customer habits and trends.
– They make it hard for stores to connect with customers after the sale.
The new patent builds on these ideas and tries to solve the problems in a fresh way. It uses a mix of QR codes, special IDs, and real-time checks. It lets stores collect and use information safely and clearly, even when customers pay in many different ways.
Invention Description and Key Innovations
Let’s dig into how this invention works and what makes it stand out. Imagine you are in a store. You see a product with a QR code next to it. You take out your phone and scan the code. Right away, several things happen behind the scenes.
First, the QR code is special. It doesn’t just have a link. It holds a payment configuration ID, a merchant token (which hides the store’s bank info), and sometimes even more. When you scan it, your phone sends a purchase request to a secure system. This request includes a device ID from your phone and the payment configuration ID from the code.
The system — which could be run by the merchant, a payment provider, or both — checks its database. It looks for recent purchases from the same device. If it finds that you already made a similar purchase (maybe you scanned the same code a minute ago), it thinks you might be about to pay twice.

Instead of just letting the second payment go through, the system sends a warning to your phone. A message pops up, saying something like: “It looks like you just bought this. Are you sure you want to buy it again?” You see two buttons: one to cancel, one to confirm. If you click cancel, the extra payment is stopped. If you click confirm, the payment goes ahead, but the system marks it as a repeat on purpose.
This is powerful because it works in real time. It stops double payments before they happen, but it also lets you buy again if you really mean to. The system is smart enough to track purchases across different payment apps. That means it doesn’t matter if you use PayPal, Zelle, or a bank app — the system keeps track using the device ID and the payment configuration ID.
After you confirm the payment, the system updates its records. It notes the product, the time, the device used, and the payment method. It can also send you info about your purchase, like a digital receipt or details about the product. If you choose, you can also share your contact details, so the store can send you a receipt, a thank you, or a special offer later.
All this purchase data doesn’t just sit there. The system uses special computer programs, including machine learning, to look for patterns. It can spot which products are selling the most, which customers buy often, and which times are busiest. The store can see these details in charts or graphs. This helps them decide what to order, when to have sales, and who might want a special deal.
What makes this invention new and clever is how it brings together several ideas:
– It uses QR codes not just for payments, but for tracking and learning.
– It uses device IDs and payment configuration IDs to keep track of purchases, even across different apps.
– It checks for repeat purchases in real time and warns the customer, giving them control.
– It collects and connects data safely, so the store can see buying trends and customer habits.
– It lets stores use smart computer programs to find patterns and improve their business.
This is not just a better way to pay. It’s a smarter way for stores and customers to work together. Customers are saved from mistakes, and stores learn more about what works. The system is flexible, so it can be used in many kinds of shops, with many different payment types.
The technology also fits into the bigger world of digital payments. As more people use their phones for everything, stores need ways to make things easy, safe, and personal. This invention is a step in that direction. It helps both sides — shoppers and stores — get more out of every transaction.
Another important part is how the system grows smarter over time. Each time a customer buys something, the system can learn. It can see if some people always come back for the same product or if some products sell more during certain times of year. Stores can use this to plan better. They can offer the right deals to the right people. They can also keep their shelves stocked with what people want most.
The machine learning part is key. The system can group customers with similar habits, spot new trends, and even suggest new products. The more data it gets, the better it gets at helping both the store and the customer.
In short, the invention is not just about stopping double purchases. It’s about making the whole shopping experience smarter and more connected. It brings together QR codes, safe payments, customer insights, and smart computer learning — all in one package.
Conclusion
The future of shopping is changing fast. People want easy, safe, and fast ways to pay. Stores want to know what their customers like and make sure no mistakes happen. This new patent application brings together these needs in a fresh way.
By using smart QR codes, real-time checks, and smart data tools, stores can do more than just sell. They can learn, grow, and serve their customers better. Shoppers get more control and fewer headaches from mistaken double payments. Both sides win.
As digital payments become even more common, systems like this will be at the heart of the shopping experience. They make life easier for shoppers and help stores succeed in a busy world. If you’re a merchant, a tech company, or just someone who likes to know what’s next, this invention is a sign of where things are headed: toward smarter, safer, and more connected shopping for everyone.
Click here https://ppubs.uspto.gov/pubwebapp/ and search 20250335911.


