Effortless Multi-Platform Login: Secure Single Sign-On Solution for Diverse Enterprise Systems

Invented by Awasthi; Brijendra, Bernert; Deborah, Frey; Heather, Otten; Chris, Doijer; Derk, Breslin; Patrick, Tekade; Abhijeet, Kulkarni; Rahul, Gunasena; Upul, Synchrony Bank

Welcome! Today, let’s break down a new way to keep your online accounts safe and easy to access. This blog post will take you through the big ideas, science, and special features behind a patent for a smarter authentication system. Don’t worry—we’ll use clear language so everyone can understand how this new technology makes life easier and keeps your data safe.
Background and Market Context
Think about how you use the internet today. You probably have many accounts: for your bank, online shopping, school, games, social media, and more. Each of these needs a username, password, and sometimes an extra step to prove it’s really you. This can be confusing and tiring. People forget passwords, use the same one everywhere (which is risky), or get locked out of their accounts. On top of that, companies often want you to download a special app just for their service. If you have lots of apps, your phone gets cluttered and slow. Some apps even ask for personal information that you may not want to share.
As more services move online, the problem grows. People want quick and safe access, but they don’t want to juggle dozens of passwords or worry about their information being stolen. Companies also want to keep users happy and safe, but they need strong ways to check who is really using their services. At the same time, hackers are always looking for weak spots to steal data or pretend to be someone else.
To solve this, many services now use two-factor authentication, text codes, or even face and voice recognition. But these can still be confusing and may not work together across different companies. For example, logging into your bank might use one system, while your favorite store uses another. If you want to do something as simple as check your account balance or use a digital wallet, you might have to log in over and over again. This wastes time and can be frustrating, especially for people who are not tech experts.

With more people working, shopping, and learning online, there is a huge need for a better way. Companies want a system that is simple, secure, and works across different services. Users want to easily access all their accounts without remembering lots of passwords. This is where the patent we’re discussing comes in. It introduces a way for you to connect to many accounts at once, using a flexible and safe process that matches your needs. Instead of downloading many apps or memorizing details, you just use a web page and get the right level of security for what you want to do. It is like having one smart key that can open all your important doors, but only when it’s really you holding it.
Scientific Rationale and Prior Art
To understand why this invention matters, let’s look at how authentication has worked up to now. The most common method is the username and password. You type these in, and if they match what the system knows, you get in. This is simple, but if someone guesses or steals your password, they can get into your account. To make things harder for bad actors, companies add more steps. Two-factor authentication asks for something extra, like a code sent to your phone. Biometrics, like fingerprints or face scans, are also used, but require special hardware and only work in certain apps.
Some companies use “single sign-on” systems. This lets you log in once, and then move between services without having to log in again. Big tech companies offer these solutions, but they often require you to trust one company with all your information, and they only work with partners in that company’s network. Each method has pros and cons. Passwords can be stolen or forgotten. Text codes can be intercepted. Apps take up space and may not always be safe. Biometrics are handy, but not everyone has the right device or feels comfortable using them. Plus, these methods are usually tied to a single company or app.
Many users are left switching between different security systems, and companies have to maintain lots of different tools to keep up. This is confusing, slow, and can be less secure if people find workarounds (like writing passwords down or reusing them). For businesses, it’s hard to make sure that only the right people get access, especially when users have many profiles across different services. If someone needs to get into several accounts at once, they might need to log in separately for each one, repeating the same steps over and over.

There have been solutions that try to make things easier. Some apps let you store all your passwords in one place, but then you have to protect the app itself. Other systems use tokens, which are special codes that let you in without a password, but these are often tied to a single device or app. Most importantly, these solutions rarely let you manage all your different account profiles from one spot, especially if they’re with different companies. And if you lose your phone or change your device, you might lose your access or have to start over.
This is the gap that the new patent aims to fill. The idea is to use a web-based system—no app needed—that looks at your personal information and picks the best way to check that it’s really you. Once you’re verified, you get a “temporary session” that lets you do what you need in any of your connected accounts, without logging in again and again. The system can use more than one way to check your identity, and it can change the process depending on how risky or important the action is. If you just want to check your balance, it might be a simple check. If you want to move money or access something private, it can ask for more proof. This makes things both easier and safer, and it works across many different companies and services.
Invention Description and Key Innovations
Let’s dig into what this new system actually does and why it’s different from what came before. Imagine you want to log in to several accounts—say, your bank, your loyalty card, and your work portal—without juggling passwords or opening lots of apps. Here’s how it works:
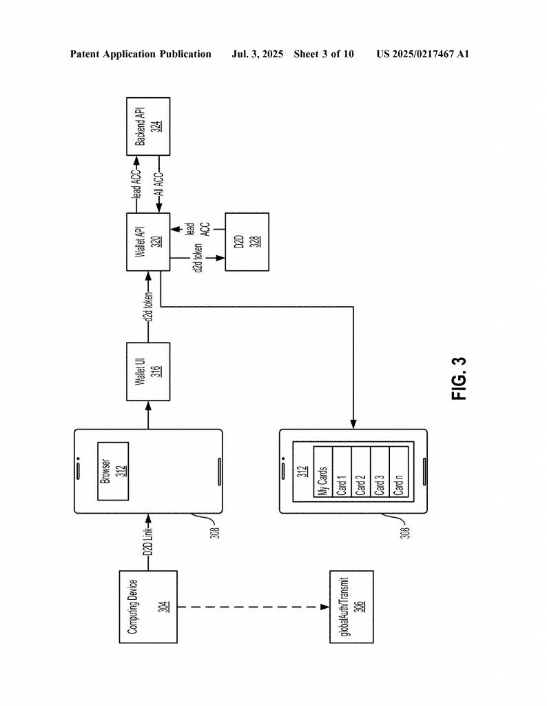
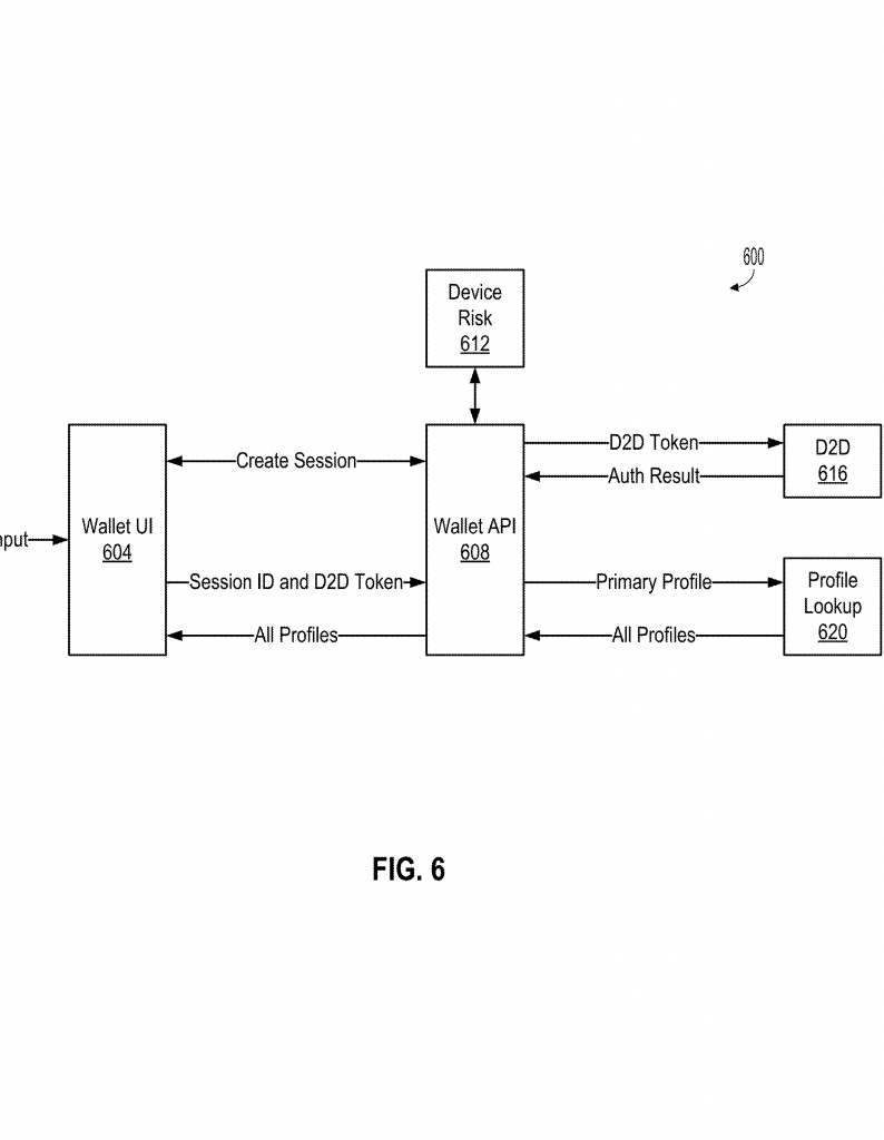
You start by visiting a web page from any device—your phone, computer, or tablet. You don’t need to install anything special. When you want to connect, you send a request through the web page. This request includes some personal details, like your name, phone number, or even a code from a text message. The system takes this information and uses it to figure out who you are. But here’s where it gets smart: instead of always using the same method, it looks at what you want to do and chooses the right authentication process. If your action is simple, it may just ask for a code. If it’s more sensitive, like changing account settings or moving money, it might ask for more proof, like a picture of your ID.
Once you’re authenticated, the system gives you a session—a period of time where you can do what you need. During this session, you can access any of your linked accounts or profiles, even if they are with different companies. You don’t need to log in again for each one. If you want to check your balance, make a payment, or get a new digital card, you can do it all from the same place. The system can even send a special “token” to your device. This token is like a digital key that lets you into a certain account or lets you use a service, like paying with your phone at a store. The token is sent securely to your device, so only you can use it, and it only works for a short time or for a specific action. This keeps things safe even if someone tries to steal it.

What makes this invention stand out is how it adapts to you. It doesn’t just use one way to check who you are. It can use your personal information, a password, a code sent to your phone, or even a picture of your driver’s license. If the first method doesn’t work, it can try another method, maybe even over a different channel (like calling you or sending an email). This helps make sure that only the right person gets access, but it also keeps things simple for you. If you’re just checking something basic, you don’t need to jump through hoops. If you’re doing something more sensitive, the system automatically adds more checks.
This system is also flexible. You can connect from many different places—maybe by scanning a QR code at a store, clicking a link in a text, or just going to a website. You don’t need to remember lots of passwords or carry special devices. If you have more than one account with different companies, the system can find them using your information and link them together for this session. You can manage them all from one place, making things faster and easier.
Behind the scenes, the invention uses smart technology like machine learning. The system can look at patterns in your information and past sessions to predict which accounts belong to you. It can also judge how risky a situation is—if you’re logging in from a familiar device in your home, it might make things quicker. If you’re logging in from a new device or a different country, it might ask for more proof. This helps balance ease of use with strong security.
Another key feature is “temporary sessions.” Once you’re in, you only stay connected for as long as you need. When you’re done, the session ends, and the system closes the door behind you. This makes it much harder for anyone else to sneak in after you. If you need to come back later, you just go through the process again. The system never stores your access forever, so your risk is much lower if your device is lost or stolen.
This innovation also helps businesses. They don’t need to build and maintain lots of different security systems or apps. Instead, they can use this web-based solution and let it handle the hard work of keeping users safe while making access easy. They can offer more services without making things complicated for their customers.
In summary, the key innovations are:
- One web-based interface for all your profiles—no more juggling apps and passwords.
- Smart, flexible authentication—uses your personal information and picks the right method for each action.
- Secure temporary sessions—only open while you need them, keeping your data safe.
- Tokens for secure actions—digital keys sent to your device for quick and safe access.
- Works with many companies—lets you manage all your accounts from one place.
- Machine learning for better security—adapts to your habits and keeps out bad actors.
Conclusion
This new authentication system is a big step forward for anyone who is tired of passwords, wants better security, or just wants things to be simple. By using a smart web-based approach, it lets you manage all your important accounts from one place, with strong protection that adapts to what you need. No more downloading lots of apps, remembering endless passwords, or worrying about your information falling into the wrong hands. With temporary sessions, flexible verification, and digital tokens, you get both ease and safety. For businesses, it offers a way to keep users happy and data protected, all while making their own systems simpler. As more of our lives move online, tools like this will become even more important. This patent shows that technology can make our digital lives easier, safer, and a lot less stressful.
Click here https://ppubs.uspto.gov/pubwebapp/ and search 20250217467.


