Cloud-Based Database Service Streamlines Data Management for Scalable, Secure Business Operations

Invented by Pandey; Vaibhaw, Chandak; Akshay, Peswani; Gaurav, Regar; Manish, S; Shurya Kumar N, Janugani; Nishanth, Dhar; Ashish, Mehta; Tarun, Rayaraddi; Rohan, Gupta; Mridul, Nutanix, Inc.

Managing databases in today’s fast-moving world is getting more complex. Companies use cloud servers, on-premise data centers, and hybrid setups. Keeping all these databases working together, secure, and easy to use is a big task. This patent application introduces a new way to manage many databases from one “control plane” that talks to database servers using smart messaging. In this post, we’ll look at why this invention matters, what science and older inventions came before it, and how this new system works in simple terms.
Background and Market Context
Let’s start by understanding the problem this invention is trying to solve. In the past, companies ran their own databases on servers they owned. Now, many businesses want to use databases “as a service” (DBaaS). This means someone else runs the servers, and the business just uses the database when and how they want.
With DBaaS, you don’t need to worry about buying hardware or keeping it running. You just focus on your data. But as more companies use different clouds and want to move fast, database management gets tricky. Each cloud provider (like AWS, Azure, Google Cloud) has their own way of doing things. Managing many databases across different clouds or even in your own data center can be messy.
Companies need to keep their data safe, manage who can see what, make backups, and be sure everything is working correctly. They want to do all this from one place, with as little headache as possible. If not managed well, mistakes can happen – like losing data, leaking private information, or having downtime.
The market is hungry for tools that help manage databases across different locations and clouds. The ideal tool should work with all kinds of databases, handle many users (tenants), and make sure each user’s data stays private. It should make adding new databases easy, support automation, and help companies scale as they grow.
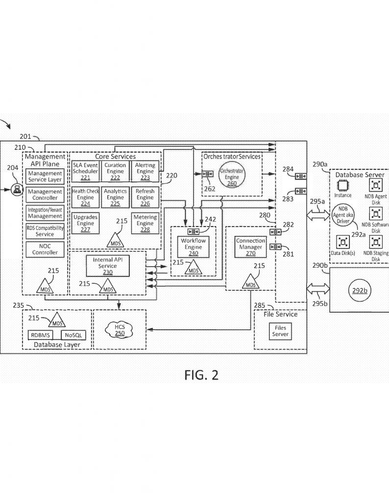
The patent application brings a solution to these needs. It introduces a control plane – think of it as a brain – that can manage many database servers using smart, secure connections. This control plane connects to each database server through a single, strong link. It uses different “data streams” (special channels) for different kinds of messages, like commands, requests, or operations. This makes the system easier to manage, more secure, and ready to grow as needed.
Scientific Rationale and Prior Art

To understand why this new system is special, let’s look at what came before. Database management systems (DBMS) have been around for decades. Older systems were built for single servers or small groups of servers. When the cloud came, companies started using DBMS tools that could manage databases in the cloud. But these tools often worked with just one cloud, or they needed lots of separate connections to each database server.
Traditional systems often required each process or agent on a database server to have its own connection to the management system. This could mean dozens of connections per server. That’s hard to scale if you have hundreds or thousands of servers. More connections mean more room for mistakes, more chances for security problems, and more computers needed to keep track of everything.
Multi-tenant systems (where many users share the same database system, but only see their own data) are also common. But standard ways of keeping users’ data separate can be clumsy. Sometimes, developers had to write extra code to enforce rules, and if they made a mistake, one user might see another user’s data.
Another issue is automation. Companies want to automate regular tasks like backups, health checks, or updates. Classic systems might run these jobs exactly as they’re scheduled, which can overload the system during busy times. They don’t always offer a smart way to group jobs together or adjust timing to keep everything running smoothly.
Previous inventions have tried to fix these problems in different ways:
- Some used messaging queues to handle communication, but often not in a way that was tenant-aware or secure for each database.
- Others offered multi-cloud support, but required special setup for each cloud or didn’t have a single place to manage everything.
- Many older systems didn’t make it easy to add new database servers or register them automatically without mistakes.
This patent application builds on these ideas but brings them together in a new way. It uses a single connection for each database server, with dedicated “topics” for each server on a messaging system. These topics are like private rooms where only that database server and the control plane can talk. It also uses strong security, keeps users’ data safe, and automates regular jobs with smart scheduling.
The system supports cloud, on-premise, or hybrid setups. It can register new database servers quickly and safely, making it easy for companies to grow. By handling communication through different data streams for commands, operations, and requests, it keeps the system organized and secure.

Invention Description and Key Innovations
Now, let’s look at how the new database management system works, in plain language.
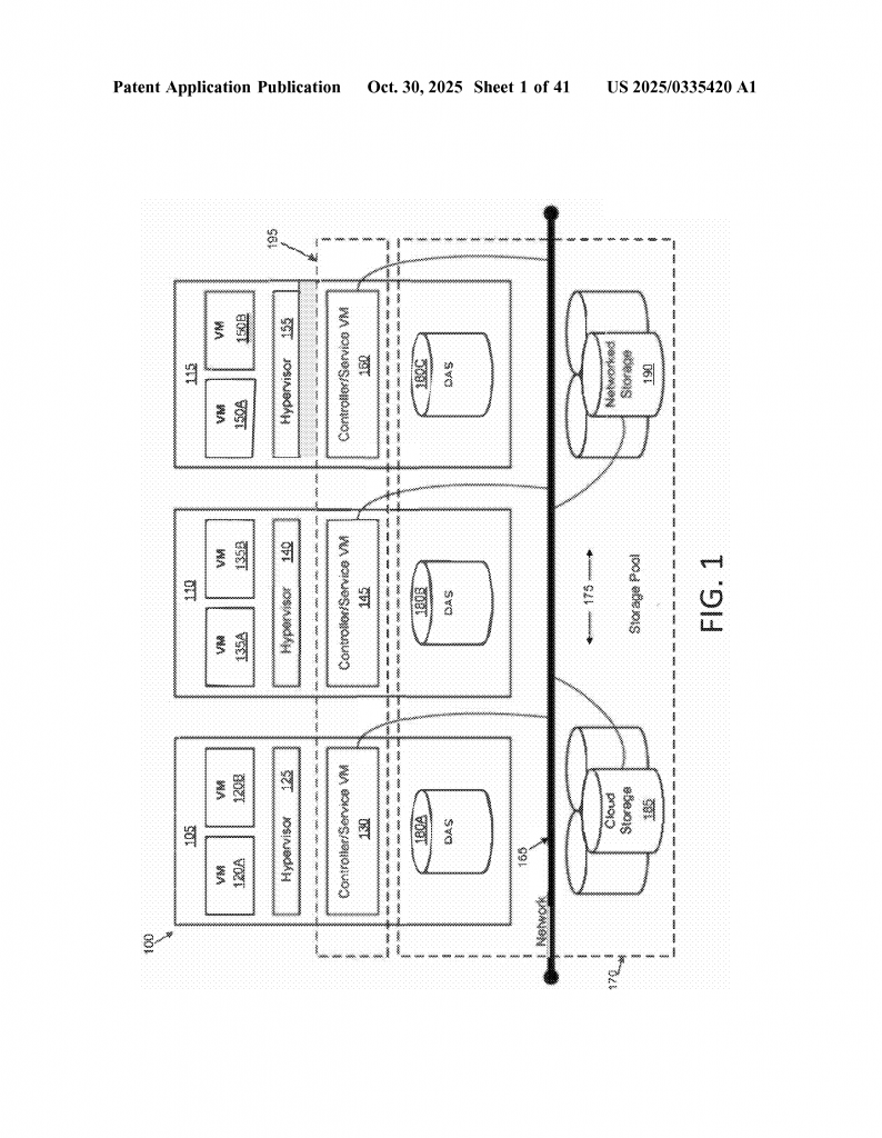
At the heart of the system is the “control plane.” Imagine this as a smart brain sitting in the cloud (or in your data center). It talks to many database servers, which might be in different places – on AWS, Azure, Google Cloud, or in your own server room.
Each database server has a small agent installed on it. This agent is like a helper that listens for instructions and sends updates back to the control plane. Here’s how the whole system works:
Single, Secure Connections:
Each database server connects to the control plane using just one secure connection (like a single phone call). This is much better than old systems, where every process needed its own call. Less complexity means fewer mistakes and better security.
Messaging with Data Streams:
Communication happens over a messaging cluster. Think of this as a post office that delivers messages between the control plane and the database servers. Each database server gets its own private mailbox (called a topic), and there are different mailboxes for different types of messages:
- Requests Stream: For database servers to ask the control plane for something, like information or actions.
- Operations Stream: For the control plane to tell the database server what jobs to do (like backups, upgrades, or creating new databases).
- Commands Stream: For quick instructions, like “restart” or “update.”

This setup keeps messages organized and makes sure only the right server and the control plane can read or send messages on each topic.
Tenant Isolation and Security:
When many users share the same system, it’s important to keep their data separate and private. This system uses strong rules to make sure each user (called a tenant) can only see and change their own data.
It uses “row-level security” in the database. This is like saying, “You can only touch the rows that belong to you.” If a user tries to reach data that isn’t theirs, the system blocks them. There’s also a special “global tenant” for shared items that everyone can use, but even then, the rules are tight.
Adding New Database Servers:
The system makes it simple to add new database servers. When you want to add one, you use an “installation script” and a special activation code. This script sets everything up, registers the server with the control plane, and gets all the right credentials. The process is quick and doesn’t need lots of manual steps, so there are fewer mistakes.
Automated Scheduling of Jobs:
Regular jobs like backups, health checks, or updates are grouped into “buckets” by time. Instead of running everything at the exact same second (which can overload the system), jobs are spread out within allowed windows. If there are busy times, the system can add more buckets so nothing gets stuck or delayed. This keeps the system running smoothly.
Cloud-Agnostic and Flexible:
The control plane can manage database servers on any cloud or on-premise. It uses a “hybrid cloud abstraction service” that speaks the right language to each cloud provider. If you need to copy data or take a snapshot, the system knows what commands to send to AWS, Azure, Google Cloud, and so on, without you needing to learn all the details.
Smart Handling of Messages:
To make sure no messages are lost, the messaging system stores messages until the database server confirms it got them. If something goes wrong and the server didn’t get the message, the system can resend it. This is like a delivery person who keeps knocking until you answer the door.
Easy Upgrades and Maintenance:
If the control plane needs to add a new feature or service, it can do so without breaking everything else. The new service is added to a directory, and agents on the database servers can start using it without knowing all the technical details. This makes it easy to keep the system up to date.
Key Technical Details:
– Each database server has a single TCP (or HTTPS) connection to the control plane.
– The messaging cluster isolates each server’s messages using unique topics.
– The control plane has a “connection manager” that listens for requests, figures out which service should handle them, and sends back the right replies.
– Row-level security ensures tenant data is always kept private.
– A global tenant allows sharing of common resources without waste.
– The system dynamically schedules and groups jobs for efficiency.
– The hybrid cloud abstraction layer translates requests for different cloud providers.
– Automated onboarding means new database servers can be registered with just one click or script run.
Actionable Takeaways for Businesses:
– Use a system that centralizes database management, even across many clouds or on-premise locations.
– Make sure your database management tool uses single, secure connections for each server to reduce risk and complexity.
– Look for solutions that enforce tenant data privacy automatically, with row-level security.
– Automate regular jobs using smart scheduling to avoid system overload.
– Choose tools that make onboarding new database servers simple and error-proof.
– Pick a platform that can talk to any cloud provider without extra coding or manual work.
Conclusion
This patent application presents a fresh, smart way to manage lots of databases across different clouds and environments. By using a strong control plane, secure single connections, and organized messaging, it solves big problems in modern database management. Businesses get better security, easier scaling, and more automation, all while keeping each user’s data private and safe. As companies keep growing and spreading their data across the world, solutions like this will become even more important. If you’re looking for a modern, flexible, and secure way to manage your databases, the innovations in this patent point the way forward.
Click here https://ppubs.uspto.gov/pubwebapp/ and search 20250335420.


