Breakthrough Multi-Stage Process Delivers Ultra-Strong Polyethylene for Advanced Manufacturing Applications

Invented by Wevers; Ronald, Bats; Johan, ter Borg; Frederik, Den Doelder; Cornelis F.J., Dow Global Technologies LLC
Polyethylene is everywhere—in packaging, films, toys, and even medical devices. But making it tougher and easier to process has always been a challenge. A new patent application shows a clever way to add extra-toughness to ethylene-based polymers, using a different method to make and mix ultrahigh molecular weight parts. Let’s break down what this means, why it matters, and how this invention works.

Background and Market Context
Polyethylene, also called PE, is one of the most common plastics in the world. From food wrap to water pipes, it is used because it is cheap, strong, and can be shaped in many ways. But not all types of polyethylene are the same. Some are soft and stretchy, while others are hard and tough. The way it is made, and what kinds of “building blocks” are used, make a big difference in how it performs.
For many years, people have tried to make PE even stronger by adding a special kind called UHMWPE—ultrahigh molecular weight polyethylene. This type is super tough and has very long chains, like spaghetti that never ends. It is used for bulletproof vests, artificial joints, and heavy-duty parts. But UHMWPE is also very hard to work with. It does not melt easily, and it clumps together instead of mixing smoothly with other PE types. This makes it tricky to blend into regular polyethylene to make it stronger.
Most regular PE, like LLDPE (linear low density polyethylene), is made to be easy to shape and process. But when you try to just mix in some UHMWPE, you end up with lumps and poor mixing. The result is a plastic that does not have the toughness you want, or it is hard to make into films or products.
People in the plastics industry want a better way. They want a process that gives strong, tough, easy-to-use PE—all in one. If you could blend UHMWPE into other types of PE without all the clumping and mixing problems, you could make new products that are both durable and easy to handle. That’s what this new patent tries to do.

This breakthrough could affect many markets: packaging films that don’t tear easily, stronger bags, more durable food wraps, and even new medical or industrial products. Companies are always looking for ways to make plastics that are better, cheaper, and easier to process. If you can make a PE blend that is both tough and easy to use, you can lead the market.
Scientific Rationale and Prior Art
To understand why this invention matters, we need to look at how PE and UHMWPE have been made and mixed in the past.
Regular PE, like LLDPE or LDPE, is made by joining small parts called ethylene monomers (and sometimes other small molecules called comonomers) into long chains. The way these chains are put together, their length, and their shape all affect how the PE behaves. Factories use special reactors, catalysts, and temperatures to control these chains.
UHMWPE, the extra-tough kind, has super long chains—over 500,000 units long! But these long chains stick together tightly, like a tangled ball of yarn. Traditional methods make UHMWPE as big clumps using “slurry” or “gas phase” reactors and special “heterogeneous” catalysts. Later, these clumps are ground up and tried to be mixed into other PE types. But because of the huge difference in how they flow and melt, these clumps don’t mix well. The UHMWPE stays in big lumps, and the final product is not as strong as hoped.
Some people have tried to “blend” UHMWPE with other PE in a melted state. But most of the time, the UHMWPE is too sticky and viscous to melt and blend properly. The result is not a true mix at the molecular level—it’s more like adding raisins to dough. The raisins don’t become part of the dough—they just sit in it. This means the final plastic does not get the full benefit of the tough UHMWPE.
Other prior art tried to add UHMWPE by using different types of reactors or by changing the temperature and pressure. But these processes still had trouble making the two types of PE blend well. Either the UHMWPE did not spread out enough, or the mixing process was too harsh and broke up the long chains that gave UHMWPE its strength.

Chemists also tried to use different catalysts to make both UHMWPE and regular PE in the same process. But again, mixing the two was always a problem. The key problem is that UHMWPE forms clumps or particles that are too tangled and big to mix into the rest of the PE. When you try to shape or melt the mixture, the UHMWPE does not flow well, so the final product is weak or hard to process.
This patent starts from a clever idea: what if you could make the UHMWPE not as big clumps, but as tiny, well-spread chains in a solution? If you could make the ultrahigh molecular weight part in a way that keeps it “disentangled” and well-mixed, and then blend it with regular PE while everything is still in solution, you could get a much better mix. This way, the UHMWPE could do its job—making the plastic tougher—without ruining the processibility of the final resin.
The inventors also realized that by carefully choosing the catalysts, the reactor design, and the way the process is run, you could control the way the two kinds of chains (the UHMWPE and the regular PE) are made and mixed. This is different from just mixing two finished plastics together after they are made. It’s more like building both types of chains in one continuous process, and letting them mix while they are still “fresh” and less tangled.
In summary, the key scientific problem in the old art is the inability to blend UHMWPE into regular PE at the molecular level, due to differences in how they melt, flow, and tangle. The new patent solves this by making the UHMWPE in solution at lower temperatures, keeping it “disentangled,” and then blending it with the rest of the PE in a special reactor setup, all before the final plastic is made.
Invention Description and Key Innovations
Now, let’s look at how this invention actually works and what makes it different from the old ways of making polyethylene blends.
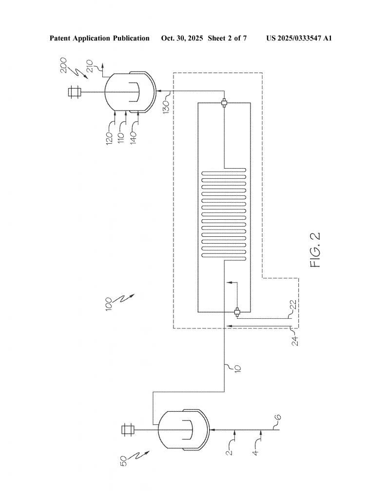
First, the process uses at least two reactors in a row. In the first reactor, ethylene monomer (the basic building block) and, if desired, a small amount of another molecule (an “alpha-olefin”) are mixed in a solvent with a special catalyst. This reactor runs at a temperature below 160°C. The purpose of this first reactor is to make the ultrahigh molecular weight part—the UHMWPE—right in the solvent, not as a solid chunk but as chains either dissolved or as a very fine mist. This keeps the UHMWPE from clumping and getting too tangled. The first catalyst is chosen to make very long chains, and the process is carefully controlled so the UHMWPE does not form big, sticky particles.

After this, the mixture (which now contains the UHMWPE fraction, more ethylene, maybe some comonomer, and more catalyst) is sent straight into another reactor, which is an “agitated solution polymerization reactor.” This means it keeps everything well mixed, often using a continuous stirred tank reactor (CSTR) or a loop reactor. Here, the rest of the ethylene is turned into the main, “bulk” PE fraction—like LLDPE or similar. This second fraction is made under conditions that are good for making regular PE with the properties you want (like melt index and density).
What’s important is that the UHMWPE from the first reactor is already well spread out in the solvent, so when the regular PE fraction is made in the second reactor, the two types of chains are blended together at the molecular level. The result is a mixture with a small amount (about 0.1% to 15% by weight) of UHMWPE and a large amount (over 70%) of regular PE. This blend has both toughness and good processibility.
The process can also include a third step. If there is still unreacted ethylene (or comonomer) left after the second reactor, this mixture can be sent to a further mixer or another reactor, with yet another catalyst. Here, a third polymer fraction can be made—maybe with different density or melt index, allowing even more control over the final product’s properties.
The patent also carefully describes the kinds of catalysts that can be used. The first catalyst is often a “molecular catalyst” that makes very long chains. The second catalyst can be a traditional Ziegler-Natta type or another molecular catalyst, to make the regular PE fraction. The third catalyst, if used, gives more flexibility in tailoring the product.
Because of this careful setup, the final ethylene-based polymer has some unique features. It has a melt index (a measure of how easy it flows when melted) in the range of 0.1 to 50 g/10 mins, and a density between 0.870 to 0.970 g/cc. The way the different molecular weights are distributed (measured by ratios like Mz/Mw and Mw/Mn) is also unique. The patent claims that the final product has an Mz/Mw greater than the Mw/Mn, which is a sign of a special molecular weight profile—meaning there is a small “tail” of very long chains that gives extra strength, but most of the resin is still easy to process.
The patent provides data showing that films made with this resin are much tougher, especially in how hard they are to tear in different directions. This makes them very attractive for packaging films, bags, and other products that need to be strong but also easy to make and use. Other tests show that the new resin has a good balance between melt strength (how well it holds together when melted) and shear viscosity (how easy it is to push through a die or mold). This makes it easier for factories to use the resin without clogging machines or having other processing problems.
Another key point is that by controlling the process conditions—like temperature, pressure, catalyst type, and solvent—you can fine-tune how much UHMWPE is included, how well it is mixed, and what the final properties are. This flexibility means that the process can be adjusted to make resins for many different uses, from thin films to thick molded parts.
In summary, the key innovations of this patent are:
- Making UHMWPE in a special way, in solution and at lower temperatures, to keep it “disentangled” and easy to blend.
- Mixing the UHMWPE with regular PE in a solution-phase reactor, so the two types of chains are blended at the molecular level before the final plastic is made.
- Using different catalysts and reactor setups to control the properties of both the UHMWPE and regular PE fractions.
- Producing a resin that is both tough (thanks to the UHMWPE) and easy to process (thanks to the way it is blended and the properties of the regular PE).
- Allowing more steps or reactors to further fine-tune the product for special applications.
This approach is different from older methods that tried to mix finished UHMWPE with regular PE after the fact, which always led to poor mixing and weak spots. By making and blending the two fractions in-situ (during the process), this invention solves the old problems and opens the door to new, better-performing polyethylene products.
Conclusion
The patent application we have explored shows a step forward in making polyethylene blends that are both tougher and easier to use. By rethinking how UHMWPE is made and mixed, the inventors have solved some of the biggest problems in the field. The new process keeps the ultrahigh molecular weight part well spread out, blends it with regular PE in solution, and uses smart control of catalysts and reactors. The result is a polyethylene resin that can lead to stronger films, better packaging, and new products across many industries.
If you are in the plastics business, this patent shows that the future of polyethylene blends is not just about adding ingredients, but about how and when they are made and mixed. This new method gives you the tools to make better products that could stand out in the market—strong, reliable, and easy to process. Whether you are making films, bags, or molded parts, this innovation could help you create the next generation of polyethylene products.
Click here https://ppubs.uspto.gov/pubwebapp/ and search 20250333547.


