Boost User Retention: AI-Driven Insights Connect Web App Performance to Real User Experience

Invented by THOMPSON; Guilherme, LABURU; Aitor, SADEGHI; Rezvan, Dynatrace LLC

Web application owners know that keeping users happy is the key to success. Yet, figuring out why users leave a website and what changes would keep them around has always been a guessing game. A new patent application changes all this by using machine learning to turn web performance data into clear, actionable steps that boost user retention. In this article, we’ll break down the innovation, show the science behind it, and explain how it fits into the larger world of web performance. Let’s get started.
Background and Market Context
In today’s digital world, every second counts. If a website loads slowly or throws errors, people leave. For online stores, service platforms, and even informational sites, every lost user means lost revenue, missed opportunities, and sometimes, a damaged reputation. Studies have shown again and again that slow or buggy websites frustrate users. But while the link between performance and user happiness is well known, the exact way to improve a site and keep more users engaged has remained unclear. That’s what makes this patent application so timely and important.
Traditionally, website owners rely on simple monitoring tools. These tools can tell you when a page is slow or when an error pops up, but they don’t tell you how much those issues matter to your bottom line. For example, does fixing that one slow image really bring more users back? Or is it just a minor annoyance? Should you spend money fixing a JavaScript bug that only appears for a handful of visitors, or focus on shaving 0.2 seconds off your main page load time?
Most current solutions give general advice: “Improve load speed,” “Reduce errors,” “Optimize your code.” They might even show you some charts. But they don’t connect the dots between performance issues and business impact for your unique audience. Every website is different. Users on a banking app may tolerate different issues than shoppers on an e-commerce site. So, site owners are left with broad, one-size-fits-all suggestions that don’t always lead to the best results.
The modern internet is more complex, too. Users come from many devices, on all sorts of networks, using different browsers. A change that helps mobile users in Europe might not matter for desktop visitors in the US. To stay competitive, web businesses need a smarter, more personalized way to understand which problems are driving users away and, even more importantly, which fixes will actually make a difference in user retention and revenue.
This is where the new patent application steps in. It promises to turn heaps of raw user data into clear, tailored recommendations for each unique web application. By using advanced machine learning, it can not only spot which problems are causing users to leave but also predict how much retention will improve if you fix them. Business owners get a prioritized list of fixes that deliver the biggest bang for their buck. This turns website optimization from a guessing game into a smart, data-driven process.

With this technology, the market for digital experience monitoring is about to change. Instead of static reports, site owners get real, actionable insights. This means less wasted effort, more satisfied users, and better business outcomes for everyone involved. In a digital economy where every user counts, this kind of precision is a game-changer.
Scientific Rationale and Prior Art
Let’s step back and look at how website performance optimization has worked so far. For years, digital experience monitoring tools have collected data about how users interact with websites. They track things like load times, errors, device types, and much more. These tools are great at spotting patterns and alerting site owners when something goes wrong. But they almost always rely on simple statistics or basic correlations.
Here’s the catch: just because two things happen together (like a slow load and a user leaving), it doesn’t mean one causes the other. Maybe users who leave were already planning to go. Maybe the slow load only mattered to a certain group. Traditional tools rarely answer these deeper questions. They just count what happens and show you the numbers. At best, they might estimate that “faster pages usually keep more users,” but they don’t tell you exactly how much improvement to expect if you, for example, cut your load time by a specific amount.
Prior art in this space uses methods like simple regression analysis, threshold-based alerts, or static benchmarks. Some tools even suggest best practices based on case studies from other sites. But these methods have two big problems:
First, they treat all websites and user groups as the same. A fix that helps one site may do nothing for another. Second, they use broad averages, not personalized insights. This means business owners don’t know the real impact of a given fix for their own users. Should you spend the money to cut your loading time by 200ms? Is it worth fixing a rare JavaScript error? Traditional tools can’t answer these questions with confidence.
Some newer solutions try to use machine learning, but even these often stop at finding correlations—“people tend to leave when errors occur”—without building true causal models. Most can’t simulate what would happen if you actually made changes, nor can they rank fixes by business impact.

That’s where the innovation in this patent application comes in. It goes beyond simple monitoring and statistics. It uses real user data to train a machine learning model that doesn’t just find patterns—it understands cause and effect. The model can run “what if” scenarios, showing the likely result of fixing a specific performance issue for a given group of users. It can even tell you the point at which further improvements no longer bring meaningful gains (the so-called “inflection point”). This is a huge leap forward over the prior art.
At its core, the new method builds a sophisticated, but practical, causal inference model. It doesn’t just look for patterns; it figures out which changes will actually keep more users from leaving. It deals with the messy realities of real-world data, like missing values and mixed variable types. It uses advanced gradient boosting machine learning models, enhanced with monotonic constraints, to ensure the model’s predictions match the real relationships between performance and user exits.
By combining detailed data preprocessing, robust machine learning, and simulated scenarios, this system creates a new standard for web performance optimization. It connects the dots from raw data, through analysis, all the way to business-focused recommendations. In short, it turns performance data into a powerful tool for retaining users and growing the business—something no prior art could do in such a personalized and actionable way.
Invention Description and Key Innovations
Now, let’s break down how this invention works and what makes it so special. The patent application describes a computer-implemented method that uses real monitoring data from a web application to build a smart, causal model. This model predicts how likely users are to leave based on performance metrics and errors. The real magic comes from how it turns these predictions into actionable recommendations for each unique website.
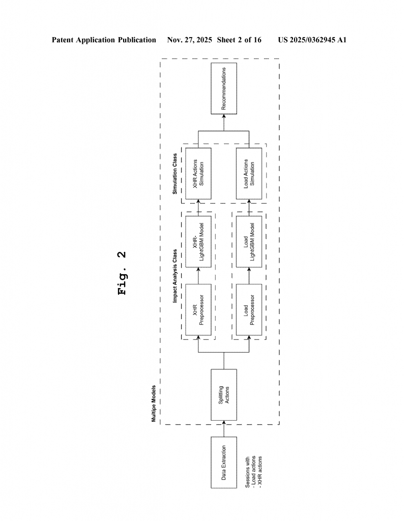
The process begins by collecting detailed monitoring data. This includes all kinds of information—how long pages take to load, what errors happen, what devices users are on, and, most importantly, whether users leave the site after each action. Unlike tools that only look at averages, this method keeps track of each user session and all its details.
Before any analysis, the data is carefully cleaned and prepared. This involves filling in missing values (like an unknown Internet Service Provider), splitting up categorical variables (such as different error types), and making sure everything is in a form the machine learning model can use. The method even filters out bot traffic to focus only on real user behavior.
Once the data is ready, the system trains a machine learning model. It uses a Gradient Boosting Machine (GBM), which is a modern, powerful type of model known for its accuracy. The model is trained to predict whether a user will leave the site (“exit”) after any given action, based on all the performance data and context for that session.

What makes this model different is the use of monotonic constraints. This means the model is forced to match real-world logic: for example, as errors increase or load times go up, the risk of users leaving should never go down. This keeps the model honest and focused on relationships that make sense in practice—not just in the numbers.
With the model trained, the next step is simulation. The system runs “what if” scenarios, changing one metric at a time—like reducing the average load time or fixing a certain JavaScript error—and predicts how many more users would stay. It repeats these simulations across many variables, pages, and user types. The system can even simulate combinations of changes to see the combined effect.
The key innovation is the way these simulations are turned into clear recommendations. The model finds the point of maximum improvement—the “inflection point”—where further effort brings less and less benefit. For each page, device type, and performance metric, it tells you exactly how much improvement to aim for to get the most users to stay, without wasting resources on over-optimizing.
All potential fixes are ranked by their predicted impact on user retention. This means website owners can see, in plain terms, which changes will bring the most value. Should you fix that “Failed Image” error? Should you spend time reducing the speed index? The system doesn’t just say “maybe”—it gives a clear, data-driven answer, showing the expected drop in user exits for each fix.
The method is flexible and works for many types of web applications. It can be run many times, for different client sites, giving personalized recommendations based on each site’s real user data. The more data you have, the better the model gets at understanding your audience.
Technically, the invention is also robust and scalable. It uses modern Python libraries, such as scikit-learn and LightGBM, and can run on large datasets. It’s implemented as a set of classes and modules that handle everything from data cleaning to what-if simulation and ranking. The result is a practical, fully automated system for ongoing site optimization.
In summary, the key innovations are:
– Using advanced machine learning, not just statistics, to model the real causes of user exits.
– Cleaning and preparing data in a way that works with real-world messiness, like missing values and mixed data types.
– Running detailed, targeted simulations to show the exact impact of fixing each potential problem.
– Ranking and recommending fixes based on their real business impact, not just technical scores.
– Personalizing all insights to each unique site and user base, instead of relying on generic industry averages.
– Building a system that is automated, scalable, and easy to integrate into regular site monitoring and optimization workflows.
This is more than a technical improvement. It’s a new way to think about web performance—one that puts business outcomes and user retention at the center of every decision.
Conclusion
This new patent application marks a turning point in how web applications are analyzed and improved. No longer do website owners have to settle for guesswork or generic advice. With this invention, they get clear, data-driven answers to the toughest questions: Which problems really hurt user retention? How much should I invest in fixing them? What specific changes will keep more users engaged?
By combining real user data, advanced machine learning, and smart simulations, this method turns mountains of performance data into actionable steps that boost the bottom line. It lets businesses make smart, focused decisions, save money, and keep users coming back. In a competitive digital world, this is the kind of edge every web business needs.
The future of web performance is here, and it’s smarter, faster, and more user-focused than ever before. If you care about your users—and your business—this is an innovation you can’t afford to ignore.
Click here https://ppubs.uspto.gov/pubwebapp/ and search 20250362945.


