AI-Powered Site Selection for Parcel Lockers Using Street and Satellite Image Analysis

Invented by KACZMAREK; Allan
Finding the best place for parcel lockers used to take a lot of time, money, and people. Now, with artificial intelligence analyzing street and satellite images, things are changing fast. Today, we’ll explore a new patent application that explains a clever way to rate and pick perfect spots for parcel lockers using computer models. Let’s break it down in simple words so you can see how this technology might soon make your package pickups faster and easier.

Background and Market Context
In recent years, more people have started shopping online. Every day, millions of packages are delivered to homes, stores, and special lockers. These parcel lockers are like big mailboxes you can open with a special code. You can find them at grocery stores, gas stations, and even in parking lots. They help you pick up your packages at a time that suits you, and they help delivery companies save time by dropping off several packages at one stop.

But putting these lockers in the right place is tricky. You can’t just put them anywhere. They need to be easy to reach, safe from bad weather, and not blocking other important things like parking spots for people with disabilities. Some lockers need to be next to a wall so they don’t tip over if the wind blows. If the lockers need to be plugged in, there has to be a power source. If they use batteries, the ground still needs to be strong and flat.
Until now, finding good places for lockers took a lot of work. People would drive around, look at different spots, and make notes. Sometimes, they needed to check thousands of places. Finding the right few could take weeks or even months. Imagine how slow that is if you have to set up lockers in a whole city!
There’s a big need to make this process faster, cheaper, and smarter. If you can cut out the waste and pick the best places quickly, you can help customers, save money, and keep up with the growing number of packages. That’s why companies are looking for new technology to solve this problem.
Scientific Rationale and Prior Art

Before this patent idea, most companies checked locations by sending out inspectors to look at each spot in person. They would take notes, photos, and sometimes draw maps. Some companies tried to use simple computer programs, but these programs often just made lists based on addresses or looked at maps without seeing what was actually at the site. They couldn’t tell if a space was a parking lot, a patch of grass, or a sidewalk. They also couldn’t spot problems like trees, signs, or other things that might block the locker.
Recently, there have been advances in computer vision. That means teaching computers to look at pictures and understand what’s in them. Google Street View, for example, lets you see pictures of streets from all over the world. Satellite and drone pictures give you a bird’s eye view from above. These images are full of details, but up until now, it was hard for computers to use them to decide where to put lockers.
Some early computer tools could look at images and find big objects like buildings or roads, but they couldn’t rate locations for locker placement. They couldn’t figure out if the ground was flat, if there was enough space, or if the spot was safe and easy for people to reach. Deep learning and neural networks—types of artificial intelligence—have become much better at looking at images and picking out small details. Some computer models can even label every pixel in a picture by what it shows, like grass, pavement, or a wall.
But until now, there wasn’t a good way to use all these tools together to come up with a simple answer: Is this a good spot for a parcel locker?
This patent brings together several smart ideas. It uses two or more trained computer models—one to look at the images and spot important details, and another to give each site a score (called a placement rating). It can use lots of images, from street level or from above, and even combine information from both. The system can also learn from mistakes, getting better as it sees more pictures and gets feedback from real people.

Invention Description and Key Innovations
This patent application shows a way to use computers to pick the best places for parcel lockers by looking at street or satellite images. The process works like this: First, the system collects lots of pictures of possible locker locations. These can come from online sources like Google Street View, or from satellite, drone, or phone cameras. The images can be from the side (street images) or from above (satellite or drone images).
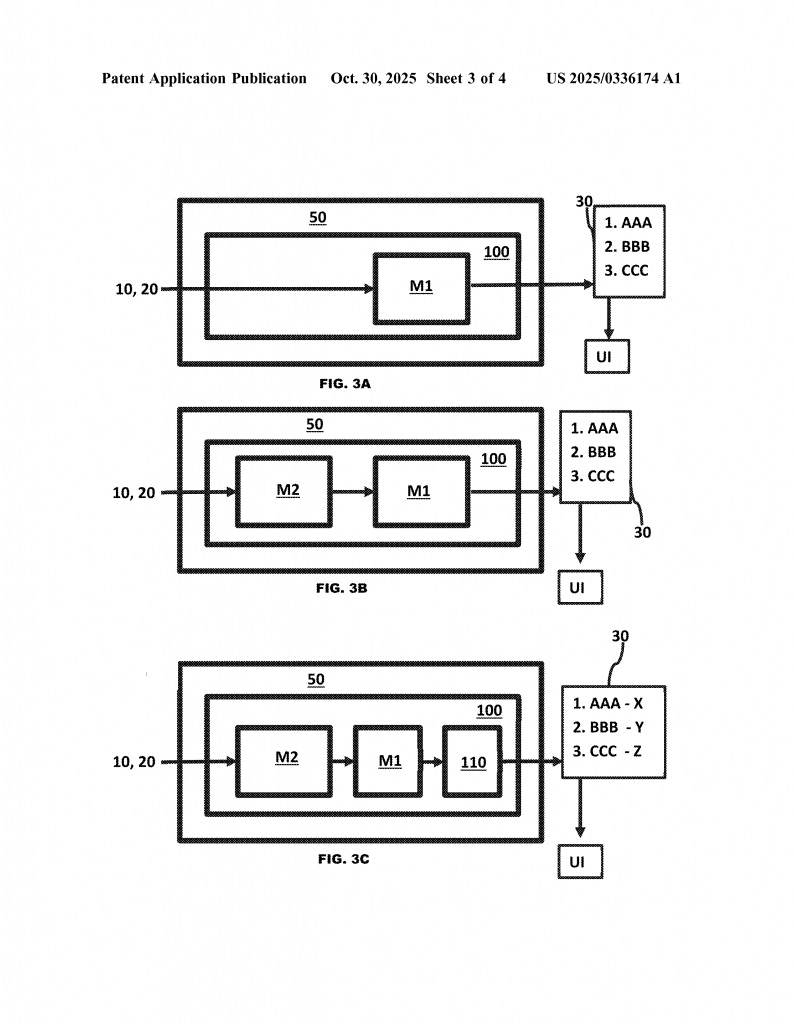
Next, the images are run through a first computer model. This model has been trained on thousands of pictures that were labeled by people or by other programs. It can look at a picture and decide how good the spot is for putting a locker there. The model gives each spot a score, called a placement rating. High scores mean the spot is likely to be a good choice.
Sometimes, before this step, a second model looks at the images to find important objects. For example, it can spot grass, pavement, walls, bike racks, or parking spaces. This model uses something called semantic segmentation, which means it labels every part of the image. The information about what’s in the image is then given to the first model, helping it make a better decision.
If a spot gets a high placement rating, the system can go further. It can figure out how many lockers would fit in the space (called parcel locker capacity). If a spot is big enough for more lockers, the rating might be adjusted even higher.
The system can work with different types of lockers. Some lockers run on batteries and can be placed almost anywhere, especially if they have a pre-cast base to keep them steady. The computer model can be trained to look for sites that are good for these battery-powered lockers, which don’t need to be wired to power. This makes the process even faster and more flexible.
One of the smart parts of this invention is the way it helps people make decisions. The results come out in a simple list or map, showing the places with the best scores. A person can look at these images, double-check the top spots, and make the final call. With this system, you don’t have to visit every single location in person. You can focus on the best choices and save a lot of time.
Another clever feature is that the system gets better over time. If a person sees a spot that looks good in the picture but turns out to be bad (maybe a truck was blocking the view), they can flag it. That information goes back into the model, helping it learn and make better choices next time.
The patent also talks about how the models can be built. They can be neural networks, which are very good at looking at pictures. Some use something called a Convolutional Neural Network, which is especially strong at finding shapes and edges in images. Others use a Transformer network, which can look at a sequence of images and find patterns over time.
All the results can be shown on a user interface, like a computer screen or phone, where a person can see the images, the scores, and any extra information about the spot—like how many lockers will fit or what objects are around.
Finally, the patent covers not just the method, but also an apparatus (a special computer system), as well as the software and the process for actually installing the lockers. The whole system is designed to make the process of choosing and placing parcel lockers much faster, smarter, and more reliable.
Conclusion
This patent application shows a new way to use artificial intelligence for picking the best places to put parcel lockers. Instead of sending inspectors out to every spot, the system looks at street and satellite images, finds important details, and gives each spot a score. It can work with battery-powered lockers, learn from its mistakes, and help people make better decisions faster. This saves time, money, and helps keep up with the growing world of online shopping. As AI gets better, and as more images become available, this kind of system could make it easy to put parcel lockers wherever they’re needed—helping everyone get their packages safely and quickly.
Click here https://ppubs.uspto.gov/pubwebapp/ and search 20250336174.


