AI-Powered Hotel Booking: Maximizing Revenue by Predicting Cancellations and Optimizing Room Limits

Invented by VAKHUTINSKY; Andrew, BRYANT; Jason G, PEREZ; Jorge Luis Rivero, KOSILOVA; Natalia, PETROVIC; Boro, BOSCH; Kirby, HUAI; Zuxuan
Optimizing hotel bookings is a tough job, especially when you have to guess who will cancel or not show up. Today, technology like machine learning is changing how hotels guess, decide, and act on overbooking. This article will show you how a new patent application is using machine learning to help hotels get the most out of their rooms, keep guests happy, and make more money. We’ll break it down into three easy-to-follow sections.

Background and Market Context
Hotels work in a world full of change. Every day, people book rooms, cancel, or just don’t show up. For a hotel, an empty room means lost money. But booking too many people can mean some guests arrive with nowhere to sleep. Finding the right balance is hard.
Overbooking is not new. Airlines started it, and hotels soon followed. The idea is simple: accept more bookings than there are rooms, because some people will always cancel or not arrive. But if too many people show up, the hotel must pay for their stay elsewhere. That’s expensive and bad for the hotel’s name.
Hotels also face other problems. Rooms can be booked for many nights, while airline seats are just for one flight. Some rooms are basic, others are fancy. People book alone or in groups. Some book months in advance, others just hours before. All this makes it very hard to guess how many rooms will really be needed on any night.
Managers want to fill as many rooms as possible, but also avoid angry guests and expensive payouts. They need to predict who will cancel, who will stay, and how many rooms will actually be needed. Doing this by hand is almost impossible for big hotels with hundreds of rooms and bookings every day.

That’s where machine learning comes in. Computers can look at years of bookings, cancellations, and guest behavior. They find patterns and help managers make better choices. Machine learning can look at many details: how far ahead someone books, if they are part of a group, which website they used, how much they paid, and more. This helps hotels decide how many extra bookings to accept, what price to charge, and how to upgrade or move guests if needed.
The market is hungry for these tools. Online travel sites, hotel chains, and even small hotels want help. They need systems that work with their booking platforms, give quick answers, and learn from new data every day. The right system can mean more money, happier guests, and less stress for hotel staff.
But making these systems is not easy. The hotel world is full of surprises. Big events, weather, holidays, and even news stories can change booking patterns overnight. The best systems use lots of data, keep learning as things change, and give clear advice that managers can trust. This is the big promise of machine learning in hotel bookings, and it’s why this new patent is so important right now.
Scientific Rationale and Prior Art
For many years, hotels have tried to guess how many rooms to overbook using basic math or simple rules. They might look at last year’s cancellations or use a rough average. This works okay when things are stable, but often fails when patterns change. As more data became available, some hotels started using computers to crunch numbers, but these systems were still quite simple.
Traditional models might use averages or fixed percentages. For example, if 10% of guests usually cancel, a manager might overbook by 10%. But this ignores many important details—like who is booking, what kind of room, what day of the week, or if there’s a big event in town. It also ignores that not all cancellations are random. Sometimes, cancellations happen together, like if a storm hits or a convention gets canceled.
Early computer systems could not handle all these details. They also did not learn from new data or adapt to changes. Some systems tried to predict demand using booking curves, which show how many rooms are booked as the check-in date gets closer. But making good predictions from these curves takes skill and lots of data.

Machine learning changes the game. Instead of using just averages, it can look at many features at once. It can see if bookings from certain websites cancel more, or if group bookings act differently from single bookings. It can also learn from history—if a certain pattern of bookings leads to lots of no-shows, the system will notice and adjust.
There are also different types of machine learning models. One common type is called a decision tree. It asks a series of questions about each booking—like “Did they book more than 30 days out?” or “Is it a non-refundable rate?”—and uses the answers to predict if the booking will be canceled. A group of these trees, called an ensemble, can make even better predictions.
For group bookings, things get even more complex. Sometimes, only part of a group cancels. Regression tree models can help here, predicting not just if a booking will be canceled, but how many rooms in a group will actually be used.
Some previous systems also tried to guess occupancy by looking at booking curves and comparing them to past patterns. If a night is booking up fast, it might get more expensive. But these systems often used just one model and did not compare different ways of predicting. They also did not always pick the best model for each hotel or each situation.
Another challenge is dealing with room types. If all the standard rooms are overbooked, but suites are empty, hotels may upgrade guests. But giving away suites for the price of a basic room hurts profits. Good systems must protect premium rooms while still allowing some upgrades.
In summary, while some hotels have used basic math or early computers to manage bookings, they often miss the full picture. They do not use all the data, do not adapt to new trends, and do not handle the messy parts of real hotel life—like group bookings, upgrades, downgrades, and sudden changes. The invention in this patent application builds on all these lessons and uses the latest machine learning to solve these problems in smarter ways.
Invention Description and Key Innovations

This new invention uses smart machine learning to help hotels manage overbooking in a safer and more profitable way. It does this by looking at both single and group bookings, predicting who will cancel, and setting the right overbooking limits for each room type. Here’s how it works in simple terms:
First, the system gathers all the current bookings. It separates them into two groups: individual guests and groups (like a wedding party or a company event). For each individual booking, it uses a trained machine learning model—a set of decision trees—to guess the chance that the guest will cancel. Each tree looks at booking details and gives a yes or no answer. When many trees are used together (an ensemble), their votes are combined to give a cancellation probability for each booking.
For group bookings, the system uses a different model called a regression tree ensemble. Instead of just guessing “Will this group cancel?”, it predicts how many rooms in the group will be used and how many will be given up. This is important because sometimes a group might shrink but not cancel fully. The model looks at details like group size, how early they booked, and if there are special discounts.
With these two sets of predictions—one for single bookings and one for groups—the system builds a “probability distribution.” This is a fancy way of saying it figures out all the different ways the bookings could turn out (how many will show up, how many will cancel), and how likely each outcome is. It can do this by mixing the results from the individual and group models, using either math (like a probability mass function) or by running computer simulations that replay many possible futures.
Next, the system looks at forecasts for how busy the hotel will be. It uses past data and booking curves—showing how bookings have grown over time for similar nights in the past. The system compares the current booking patterns to many past nights, finds the ones that look most similar, and uses their final occupancy as a guide. It can use several different models to do this (like summary statistics, similarity models, or longitudinal models), then picks the one that worked best in the past for this hotel and this type of night.
Once the system has a good guess about how many rooms will really be needed, it uses the probability distribution to set overbooking limits. These are the maximum number of extra bookings it’s safe to accept for each room type. It takes into account how much money the hotel earns for each room, and how much it would cost to walk a guest (move them to another hotel if there are not enough rooms).
The system also handles room upgrades and downgrades. If the basic rooms are overbooked but there are empty premium rooms, the system will allow upgrades but tries to protect premium revenue by not giving away too many fancy rooms for cheap. It can group room types together to avoid downgrading guests when whole groups are overbooked.
After setting the overbooking limits, the hotel can accept more bookings up to those limits. As guests check in or cancel, the system learns from each outcome, retraining its models to get better over time. When a guest checks in, the system can also trigger special actions, like automatically encoding the room key or sending needed data to smart devices.
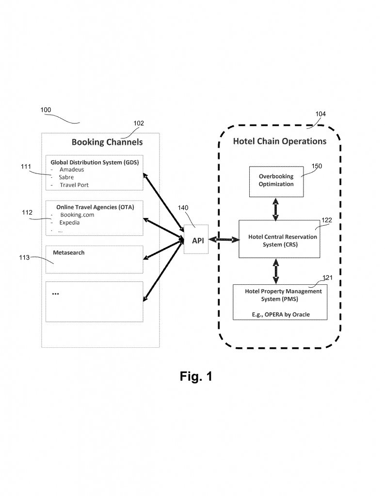
All of this runs on a modern cloud system. The system can be part of a hotel’s main reservation platform or run as a separate service. It uses secure networks and connects to all the booking channels—like the hotel’s own website, travel sites, or even phone bookings. The cloud setup can handle big hotels or chains with thousands of rooms and bookings every day, keeping data safe and making sure the system runs fast.
Some of the key innovations in this invention are:
1. Two Separate Machine Learning Models: One for individual bookings, one for groups. Each uses the best type of machine learning for the job, and each learns from detailed booking features.
2. Building a Full Probability Distribution: Instead of just guessing an average, the system looks at all possible outcomes and their chances. This makes overbooking decisions safer and smarter.
3. Choosing the Best Model for Each Hotel and Night: The system tries several ways to forecast occupancy, then picks the one that works best for the current situation.
4. Protecting Premium Revenue: The system allows upgrades but makes sure not to give away too many premium rooms, keeping the hotel’s profits high.
5. Learning and Adapting: As new data comes in, the system keeps learning and getting better at its predictions.
6. Cloud-Based and Secure: The whole system is built to run in the cloud, making it easy to scale and connect to all parts of the hotel’s business, while keeping data safe.
7. Handling Real-World Booking Complexity: The system works with bookings of different lengths, multiple room types, upgrades, downgrades, and group reservations, making it practical for real hotel operations.
This invention is not just a small step forward. It’s a big leap in how hotels can use data and machine learning to fill more rooms, avoid costly mistakes, and make guests happier. It turns the messy, unpredictable world of hotel bookings into something hotels can finally manage with confidence and skill.
Conclusion
Hotels have always faced the challenge of guessing how many guests will show up, how many will cancel, and how to handle overbooking without losing money or upsetting guests. With this new machine learning-based invention, hotels now have a powerful tool to make better choices every day. By using smart models for both single and group bookings, building complete probability forecasts, and picking the best predictions for each night, hotels can maximize their occupancy, protect their top rooms, and adapt as things change. This system learns from every booking and cancellation, keeps data secure, and fits into the busy world of hotel management. It’s a true breakthrough for the industry, giving hotels a better way to manage bookings, increase profits, and deliver great service—even when the future is uncertain.
Click here https://ppubs.uspto.gov/pubwebapp/ and search 20250335832.


