Accelerate Data Processing with Smarter Storage: Boost Efficiency for Enterprise Applications

Invented by PARK; Heekwon, GIM; Jongmin, JUNG; Jaemin, CHOI; Changho, KI; Yang Seok

Today, data storage is at the heart of every digital thing we use, from our phones to giant data centers powering the internet. As we create more and more data, we need smart ways to keep this data neat, easy to reach, and not waste space. This new patent application reveals a fresh way to handle and clean up data in storage devices. Let’s break it down in simple words.
Background and Market Context
Think about your computer or phone. Every file, photo, or app you save gets placed in storage. Over time, as you update or delete things, some old data still sits around, taking up space even though you don’t need it anymore. This leftover data is called “invalid data.” If you don’t remove it, storage fills up fast, and your device slows down.
To stop this from happening, devices run “cleaning operations.” These are processes to find and remove the old, unused data, making more space for new stuff. But here comes a problem: cleaning up takes work. It uses up memory, power, and slows down your device while it’s happening. Sometimes, it can even toss out important data from memory, making your favorite apps or files slower to open.
The market for storage is booming. Companies want faster, smarter, and more energy-friendly ways to manage data. From cloud servers to tiny smartphones, everyone is looking for solutions that can keep things running smoothly without wasting resources. Storage makers are searching for ways to stand out: faster data access, less wasted memory, and smarter cleaning.
This patent application is a response to that need. It introduces a new method for handling data clean-up in storage devices. It focuses on cutting down the extra steps, saving power, and making data access much quicker. The idea is to use clever memory access techniques, which means moving and cleaning data in a way that doesn’t slow down the system or use up too much memory.
If you’re a business running large data centers, these improvements mean saving money on hardware and electricity. If you’re an everyday user, it means your apps can load faster, your device can last longer before running out of storage, and you won’t have to worry about slowdowns as your device ages. For storage manufacturers, bringing these innovations to market means staying ahead of the competition.

Scientific Rationale and Prior Art
Let’s talk about why this new idea matters and what was done before.
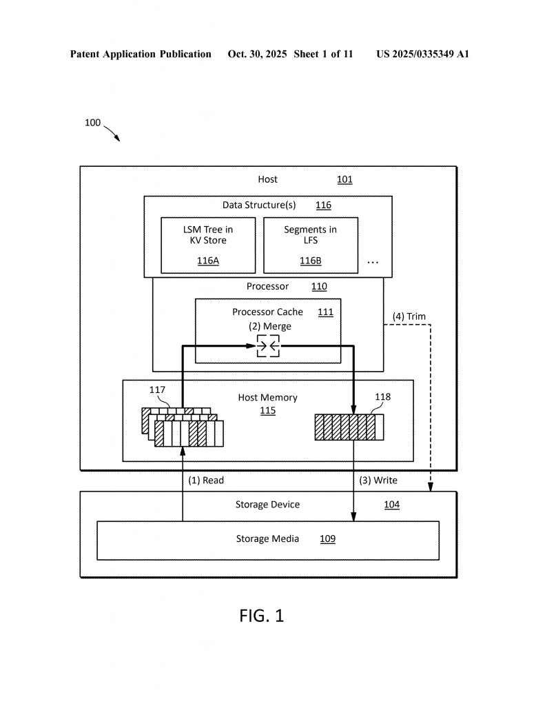
In the world of computers, data is organized using “data structures.” Think of these as filing cabinets or folders that help store, find, and update information. Examples include log-structured merge (LSM) trees used in databases, or the file system segments that store your files. Every time you change a file or update a record, the system adds new data to unused spots. The old versions are now “invalid.” Over time, these pile up, wasting space.
To fix this, systems run a “cleaning operation.” Imagine you have a notebook with old notes and new notes mixed together. You copy only the good notes to a new notebook and toss out the rest. Computers do the same: they merge the good data into new spots and free up space. But this merge process comes at a cost. You have to read the old data, figure out what’s still needed, copy it over, and then delete the old stuff. All this uses up memory, adds more traffic to your storage, and can slow down everything else on your device.
Older systems often do all this work in a way that isn’t very efficient. For example, they might read large chunks of data into memory, even if only a tiny part is still useful. Or they might require the main processor (the brain of the computer) to do all the heavy lifting, which ties up resources and drains power. Sometimes, they even push out frequently used data from memory to make space for cleaning, so your favorite apps slow down.
There have been some efforts in the past to make this better. Some systems use “cache” memory (a faster, smaller type of memory) to speed things up. Others try to use smarter algorithms to decide what to clean and when. There are even storage devices that have their own mini-processors to help with some of the clean-up. But usually, these solutions only tackle part of the problem. They might save a little memory here, or shave off a bit of time there, but they don’t fully solve the issue of doing fast, low-power, low-memory clean-ups—especially as data keeps growing.
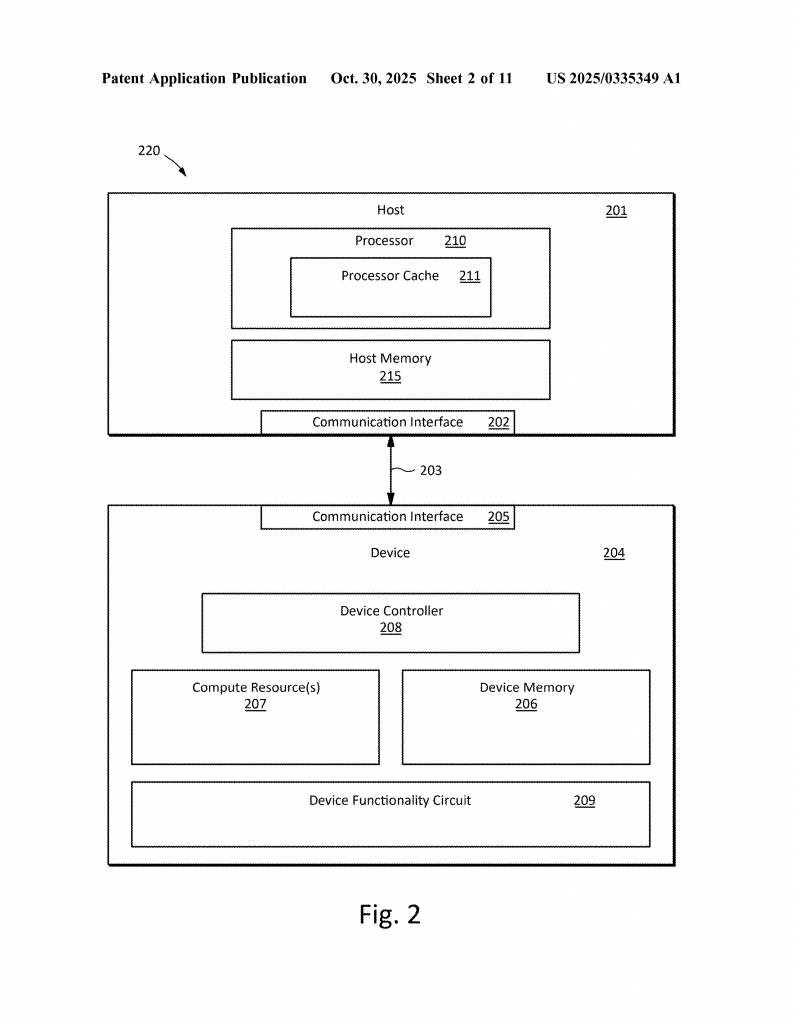
This patent application builds on those earlier ideas, but it goes further. It introduces a way for the processor and the storage device to work together in smarter ways, using memory access techniques that let them move and clean data more directly. This means less wasted effort, less traffic across the system, and less power used. It uses things like direct memory access, where data can go straight from storage to the processor’s fast memory, skipping some slower steps. Or, in some cases, the storage device itself can do some of the clean-up, so the main processor can focus on other tasks.

The key scientific ideas here are:
– Reducing how much data gets moved during clean-up (only move what you need).
– Using both the host (main computer) and the storage device for cleaning, sharing the load.
– Using special memory access techniques that allow for faster, more direct transfers.
By combining these, the patent application offers a big step forward over older cleaning methods.
Invention Description and Key Innovations
Let’s dive into what this patent application actually claims and how it works in simple terms.
At its heart, the invention is about smarter, faster ways to clean up and modify data in storage devices. It’s designed for systems where you have a host (like your computer’s main chip) and a storage device (like a hard drive, SSD, or memory card). The invention lets these two parts share the work, using new ways to move and process data.
The patent covers several methods:

1. Direct Data Clean-Up Using Memory Access Techniques
The main processor can ask the storage device for information about what needs cleaning, using a fast and direct memory access method. Once it gets this info, the processor can carry out part or all of the cleaning—such as merging good data together and removing the old stuff. Instead of reading huge chunks, it only moves what’s needed. This saves memory and cuts down on slow data transfers.
2. Having the Storage Device Do Some Clean-Up
Sometimes, the host can send the cleaning instructions to the storage device. The storage device, which now often has its own mini-processor or smart controller, takes over and does the heavy lifting. It reads the needed parts, merges the good data, and frees up space. This lowers the load on the host and keeps overall system performance high.
3. Smart Use of Metadata
The system uses “metadata”—which is information about where the good data is, how big it is, and what’s still valid. By sharing just this metadata between the host and the storage device, they can decide what to clean and what to skip. This means they don’t have to move lots of useless data around.
4. Flexible Work Sharing
Depending on what makes sense at the time, the system can pick who does the work: the host or the storage device. For example, if the host is already busy, it can ask the storage device to handle the cleaning. If the storage device is slow, the host can take over. This flexibility means the system always picks the fastest, most efficient way.
5. Using Status and Access Patterns
The system can keep track of which parts of the data are used often (“hot data”) and which are rarely touched (“cold data”). It tries to keep hot data in fast memory and only cleans up cold data. This way, the data you use most is always quick to reach, and cleaning never slows you down.
6. Direct Transfers and Reduced Overhead
With these techniques, data can move straight from storage to the processor’s fast cache, skipping the slower main memory. Or, the storage device can pull in the needed blocks, do the clean-up, and only send the results back. This slashes the amount of memory used and keeps the system running smoothly.
What makes all this possible is new memory access protocols (like CXL.mem) that let the host and storage device communicate quickly and directly, not just through slow, traditional storage methods (like older PCIe or SATA). The patent claims cover different ways to use these protocols, including:
– Fetching data or metadata for clean-up directly into fast memory.
– Merging valid data and writing it back in a compact form.
– Generating and using metadata to decide what to keep or toss.
– Having either the host or storage device do the copying or merging as needed.
– Storing results in the best spot (host memory or storage device) based on what’s likely to be accessed soon.
The invention also covers different hardware setups: traditional computers, servers, network devices, accelerators, and more. It works with storage devices of all shapes and sizes, from SSDs to memory cards to big enterprise arrays.
Overall, the key innovation is this flexible, smart approach to cleaning and modifying data in storage devices. It saves memory, speeds up data access, reduces power use, and keeps your system running fast—even as it juggles huge amounts of information.
Conclusion
This patent application introduces a much-needed leap in how storage devices handle data clean-up. By letting the host and storage device share the work and use fast memory access methods, it reduces wasted effort, saves power, and keeps things speedy. Whether you’re running a giant data center or just want your phone to work faster, these ideas promise a better, more efficient future for digital storage.
Click here https://ppubs.uspto.gov/pubwebapp/ and search 20250335349.


